| Обозначение: | ГОСТ 25309-94 |
| Обозначение англ: | GOST 25309-94 |
| Статус: | взамен |
| Название рус.: | Крышки судовых сходных люков. Технические условия |
| Название англ.: | Covers of access hatches. Specifications |
| Дата добавления в базу: | 01.09.2013 |
| Дата актуализации: | 01.01.2021 |
| Дата введения: | 01.07.1996 |
| Область применения: | Стандарт распространяется на крышки судовых сходных люков, применяемые на кораблях, судах и плавсредствах. |
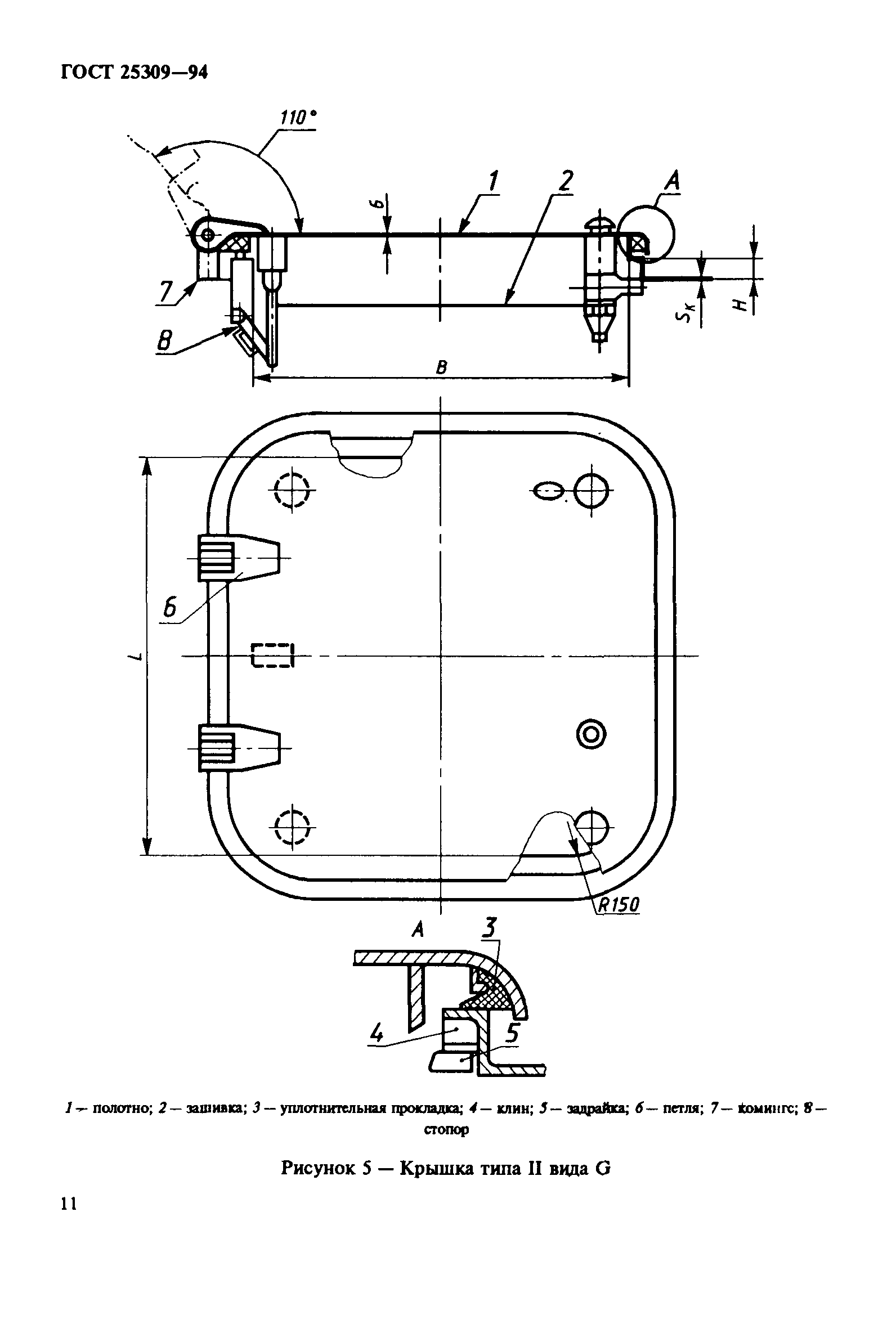
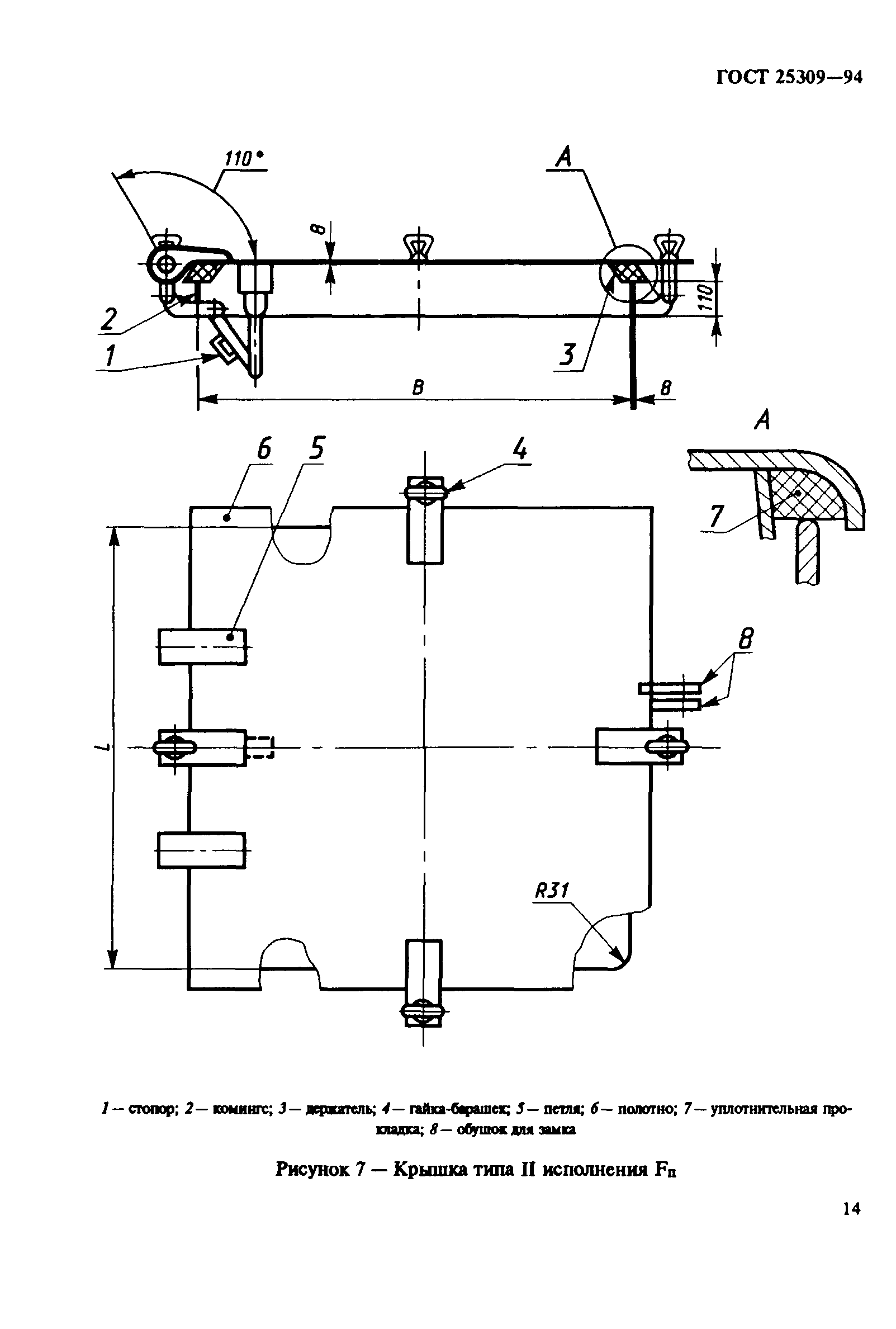
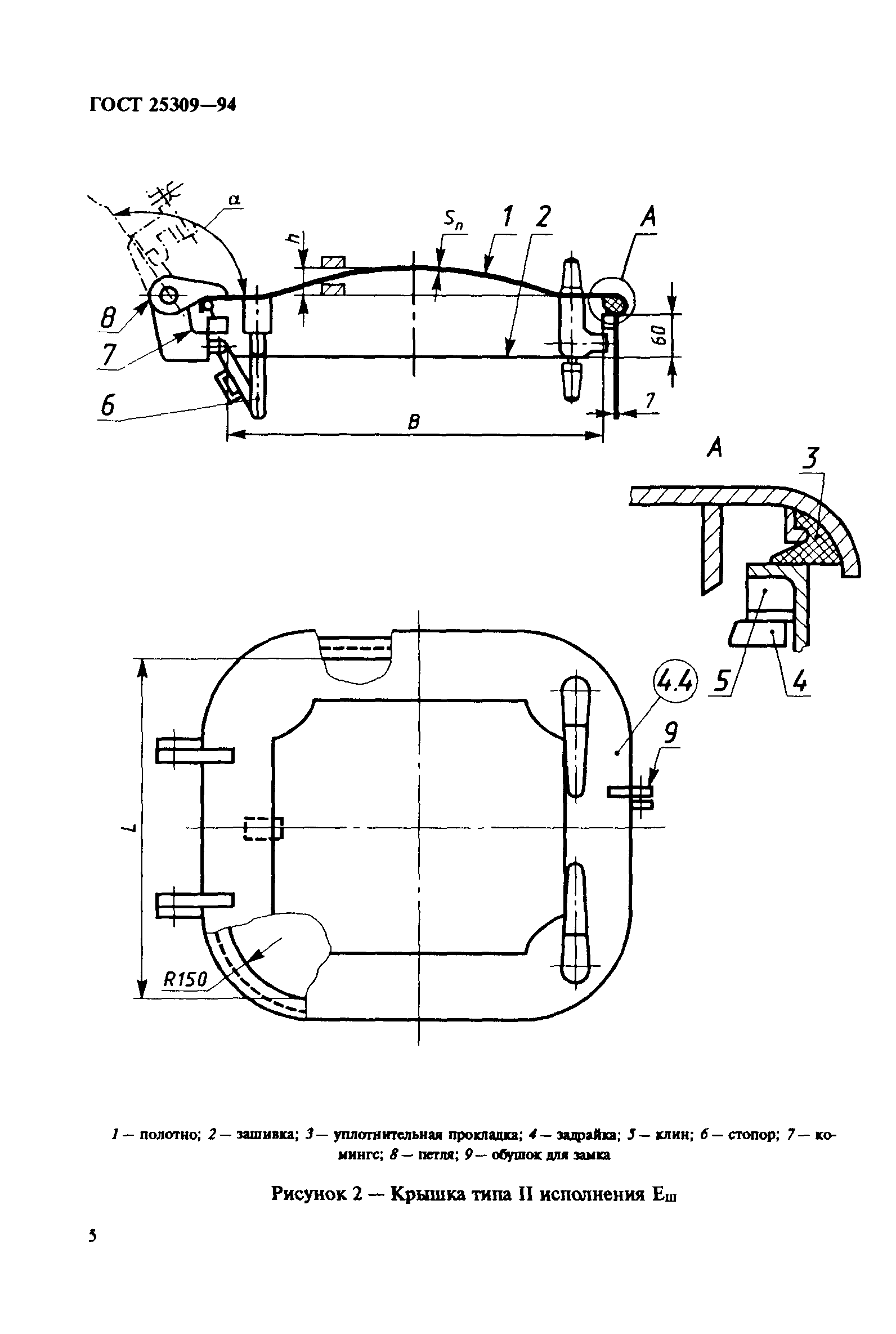
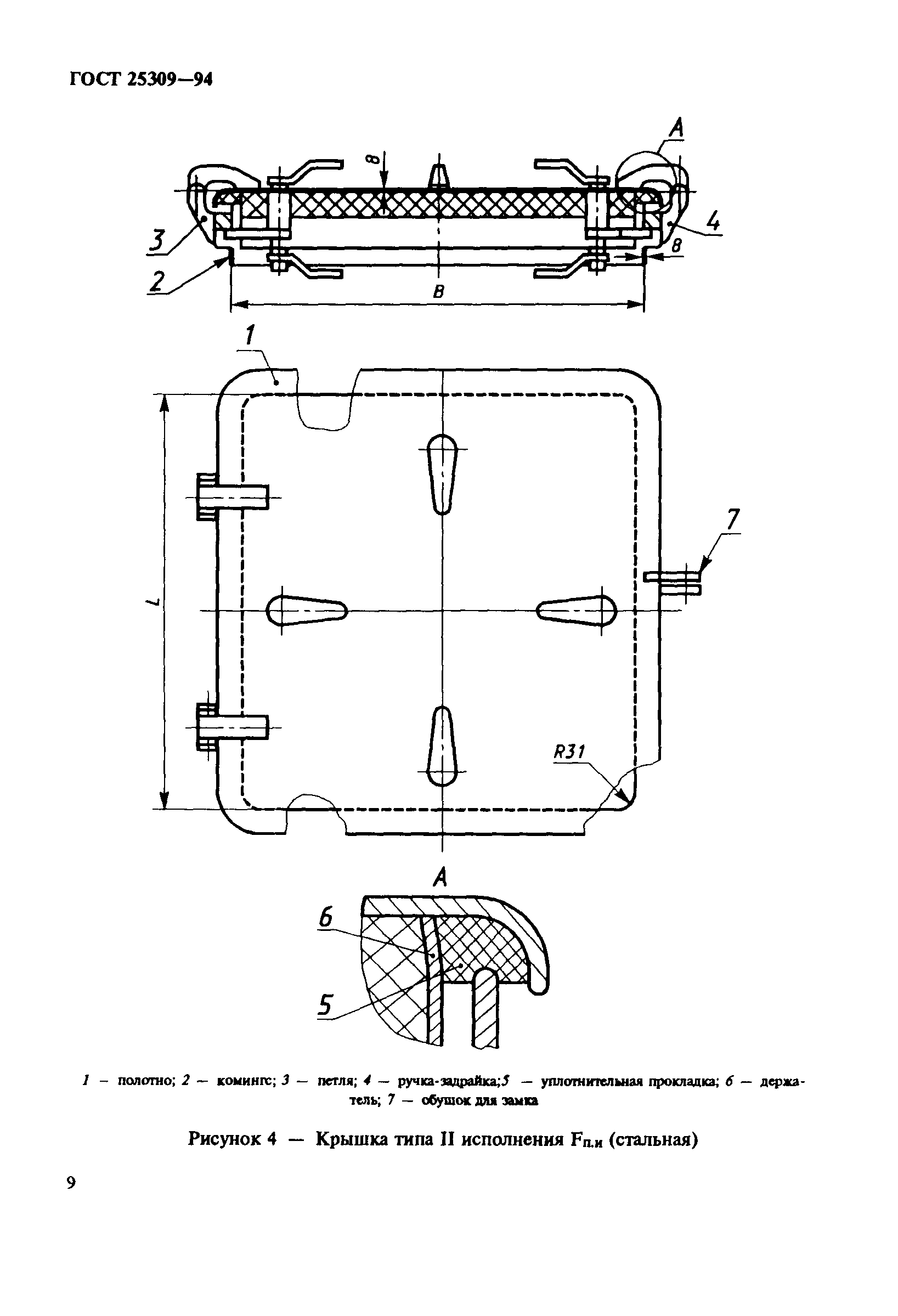
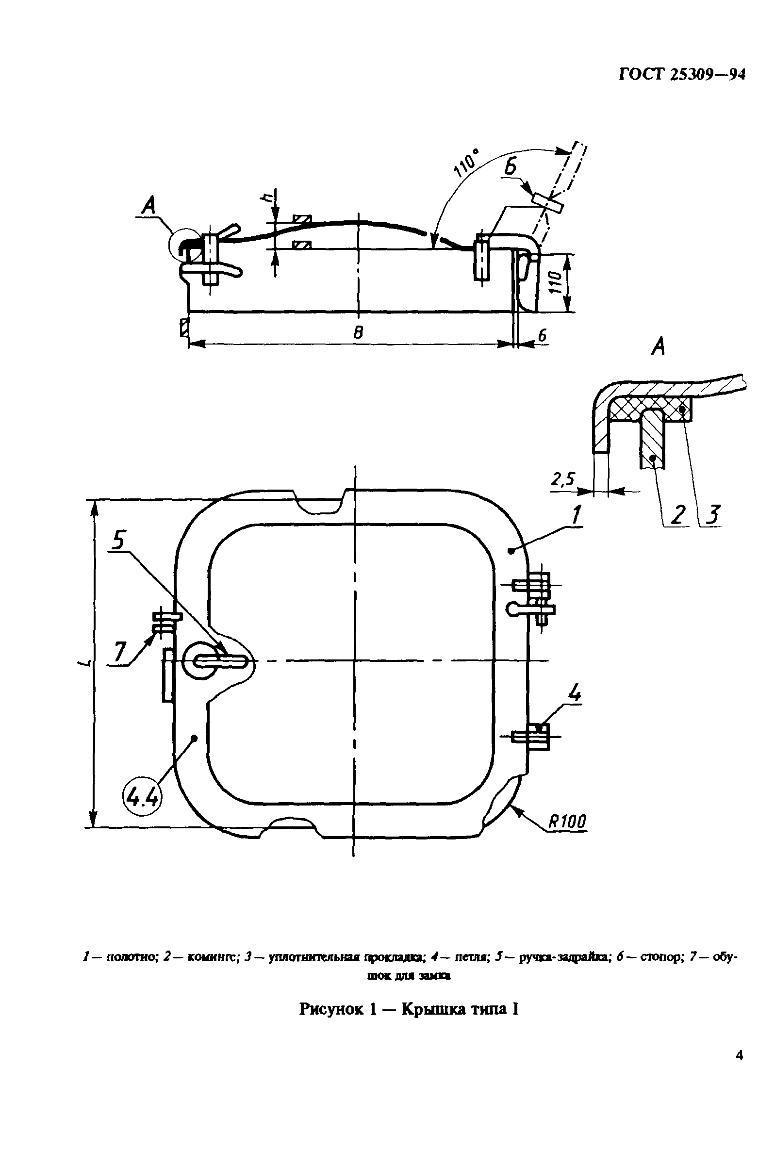
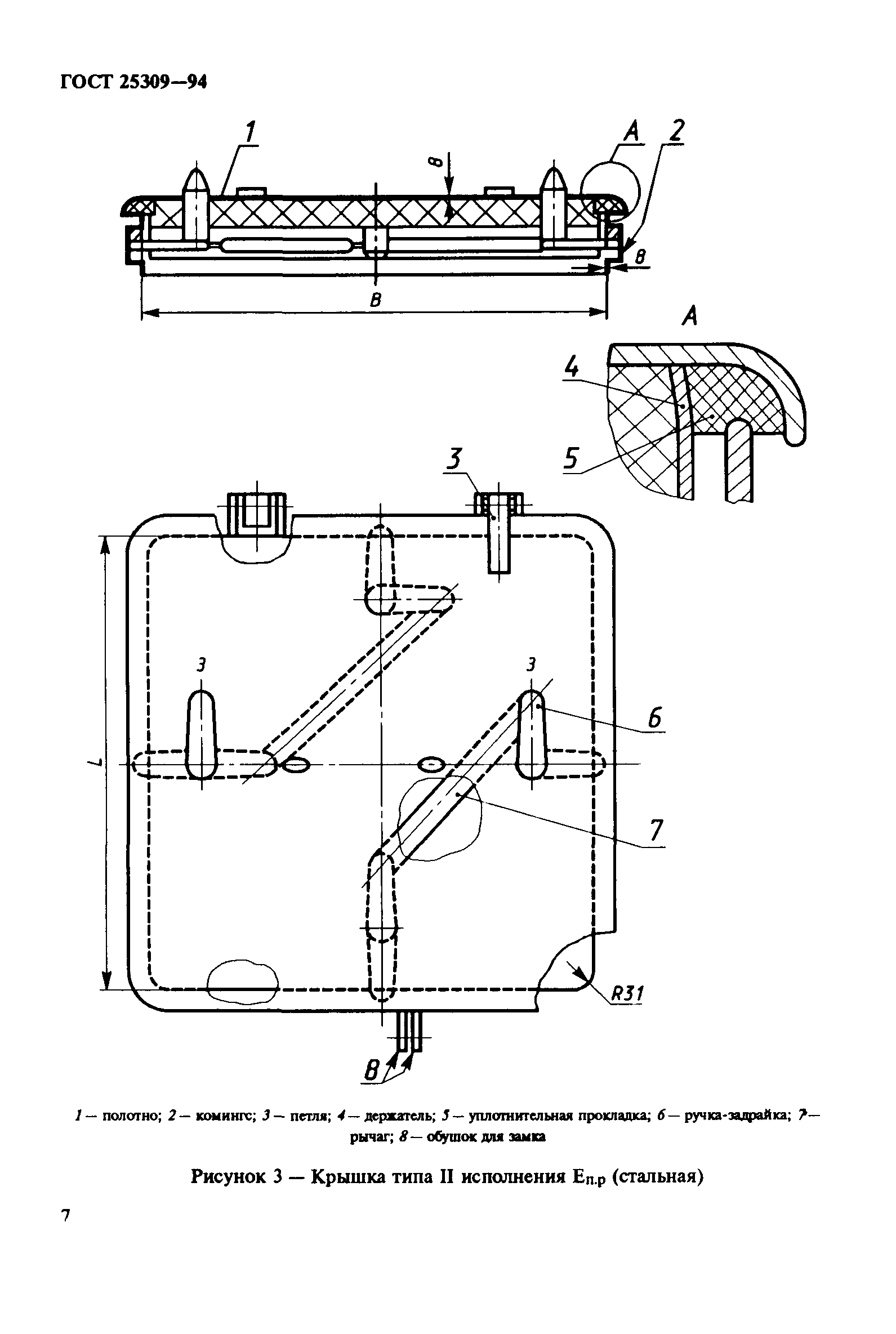
| Оглавление: | 1 Область применения 2 Нормативные ссылки 3 Классификация, основные параметры и размеры 4 Технические требования 4.2 Характеристики 4.2.1 Требования назначения 4.2.2 Требования надежности 4.2.3 Требования стойкости к внешним воздействиям и живучести 4.2.4 Требования эргономики 4.2.5 Требования технологичности 4.2.6 Конструктивные требования 4.3 Комплектность 4.4 Маркировка 4.5 Упаковка 5 Требования безопасности 6 Правила приемки 7 Методы контроля 8 Транспортирование и хранение 9 Указания по эксплуатации 10 Гарантии изготовителя Приложение А Перечень обозначений крышек судовых сходных люков Приложение Б Размеры вырезов в корпусе судна для крышек сходных люков Приложение В Узлы крепления крышек судовых сходных люков |
| Разработан: | Украинский государственный научно-исследовательский институт стандартизации и сертификации в судостроении
|
| Утверждён: | 21.10.1994 Межгосударственный Совет по стандартизации, метрологии и сертификации (Inter-Governmental Council on Standardization, Metrology, and Certification 6 МГС) 13.06.1996 Комитет Российской Федерации по стандартизации, метрологии и сертификации (371)
|
| Издан: | ИПК Издательство стандартов (1997 г. )
|
| Заменяет собой: | ГОСТ 25309-82 «Крышки судовых сходных люков. Технические условия» (ИУС 9-1996) |
| Нормативные ссылки: |   ГОСТ 5632-72 «Стали высоколегированные и сплавы коррозионно-стойкие, жаростойкие и жаропрочные. Марки»  ГОСТ 15150-69 «Машины, приборы и другие технические изделия. Исполнения для различных климатических районов. Категории, условия эксплуатации, хранения и транспортирования в части воздействия климатических факторов внешней среды»  ГОСТ 4784-97 «Алюминий и сплавы алюминиевые деформируемые. Марки»  ГОСТ 14771-76 «Дуговая сварка в защитном газе. Соединения сварные. Основные типы. Конструктивные элементы и размеры»  ГОСТ 14192-96 «Маркировка грузов»  ГОСТ 24597-81 «Пакеты тарно-штучных грузов. Основные параметры и размеры»  ГОСТ 9.014-78 «Единая система защиты от коррозии и старения. Временная противокоррозионная защита изделий. Общие требования»  ГОСТ 2405-88 «Манометры, вакуумметры, мановакуумметры, напоромеры, тягомеры и тягонапоромеры. Общие технические условия»  ГОСТ 2789-73 «Шероховатость поверхности. Параметры и характеристики»  ГОСТ 977-88 «Отливки стальные. Общие технические условия»  ГОСТ 9.402-80 «Единая система защиты от коррозии и старения. Покрытия лакокрасочные. Подготовка металлических поверхностей перед окрашиванием»  ГОСТ 26.020-80 «Шрифты для средств измерений и автоматизации. Начертания и основные размеры»  ГОСТ 18477-79 «Контейнеры универсальные. Типы, основные параметры и размеры» ГОСТ 10905-86 «Плиты поверочные и разметочные. Технические условия» ГОСТ 13837-79 «Динамометры общего назначения. Технические условия» ГОСТ 14192-77 «Маркировка грузов»  ГОСТ 14806-80 «Дуговая сварка алюминия и алюминиевых сплавов в инертных газах. Соединения сварные. Основные типы, конструктивные элементы и размеры»  ГОСТ 18175-78 «Бронзы безоловянные, обрабатываемые давлением. Марки»  ГОСТ 24643-81 «Основные нормы взаимозаменяемости. Допуски формы и расположения поверхностей. Числовые значения»  ГОСТ 2712-75 «Смазка АМС. Технические условия» ГОСТ 29329-92 «Весы для статического взвешивания. Общие технические требования» ГОСТ 4784-74 «Алюминий и сплавы алюминиевые деформируемые. Марки» ГОСТ 8026-92 «Линейки поверочные. Технические условия»
|