Скачать ГОСТ 26113-84 Процедуры управления звеном передачи данных. Элементы балансных процедур при одновременной двусторонней передаче информации и защиты от ошибокДата актуализации: 01.01.2021
|
| Обозначение: | ГОСТ 26113-84 |
| Обозначение англ: | GOST 26113-84 |
| Статус: | действует |
| Название рус.: | Процедуры управления звеном передачи данных. Элементы балансных процедур при одновременной двусторонней передаче информации и защиты от ошибок |
| Название англ.: | High level data link control procedures. Elements of balanced procedures by the two-way simultaneous data communication and error recovery |
| Дата добавления в базу: | 01.09.2013 |
| Дата актуализации: | 01.01.2021 |
| Дата введения: | 01.07.1985 |
| Область применения: | Стандарт распространяется на балансные процедуры управления двухпунктовым звеном передачи данных (ПД) по одному незащищенному от ошибок каналу ПД (НК), организованному на базе Единой автоматизированной сети связи (ЕАСС), с кодонезависимостью, ориентированной на биты, и применяемые на абонентских и межцентровых участках сетей ПД общего пользования для переноса сообщений или пакетов данных переменной длины. Стандарт не распространяется на процедуры при двусторонней поочередной и односторонней передаче информации, а также на процедуры, не использующие для защиты от ошибок циклические коды. Стандарт устанавливает элементы процедур передачи информации и защиты от ошибок: фазы, команды и ответы, наборы процедур и параметры, предназначенные для использования при разработке конкретных процедур управления звеном ПД |
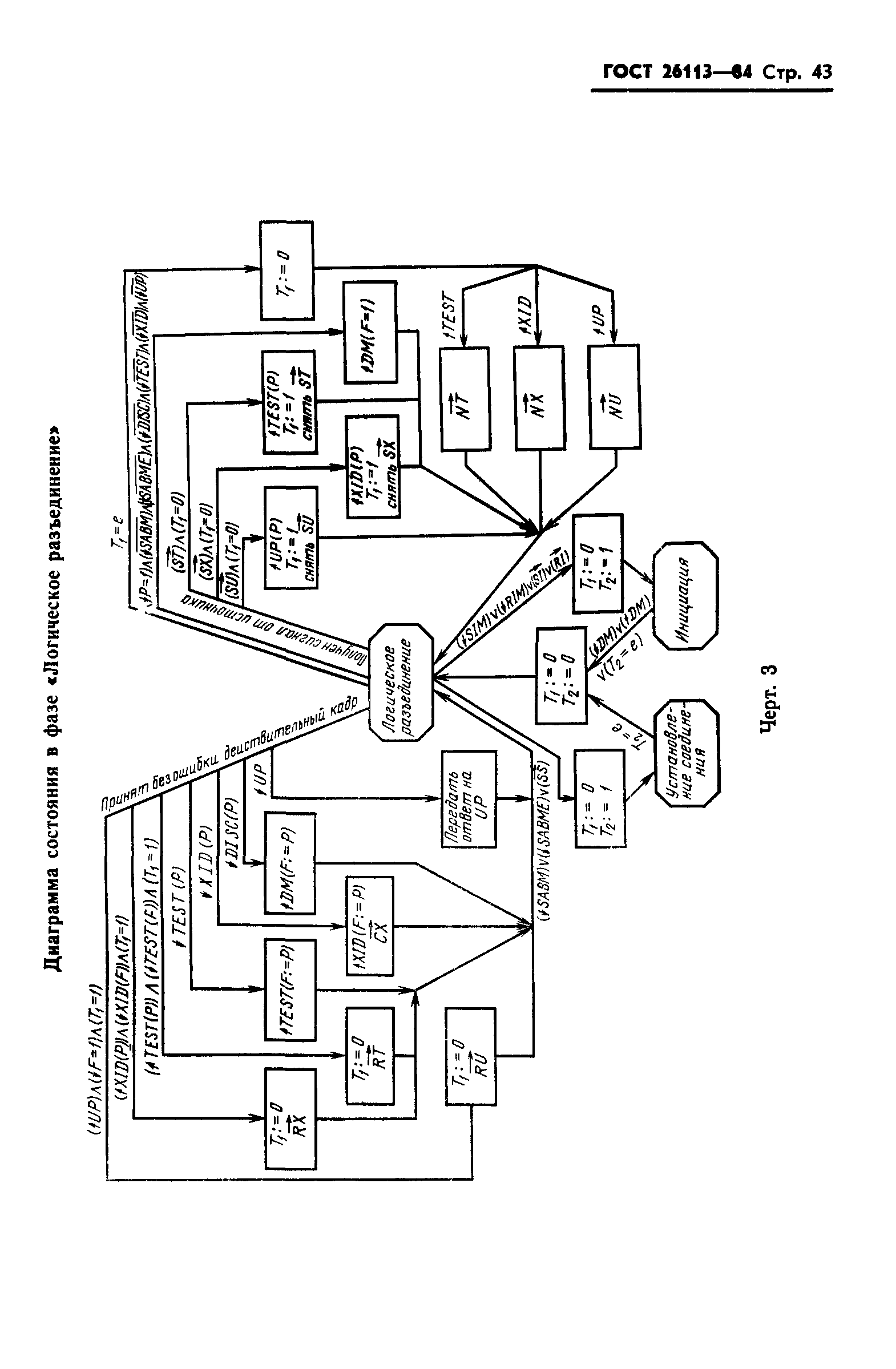
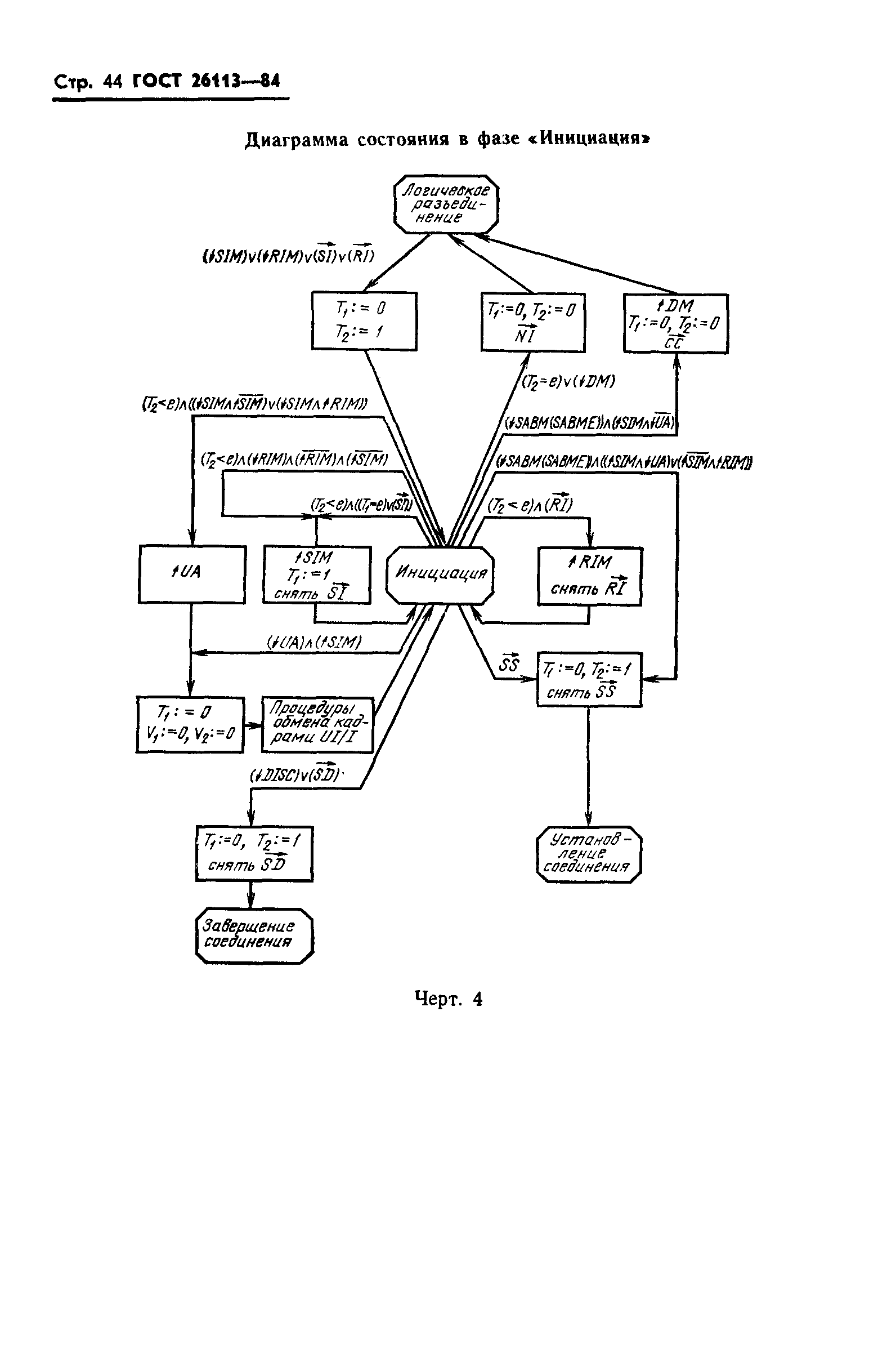
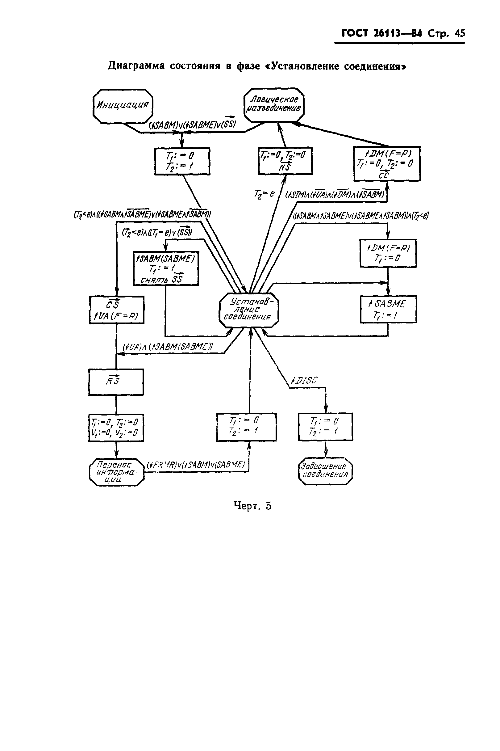
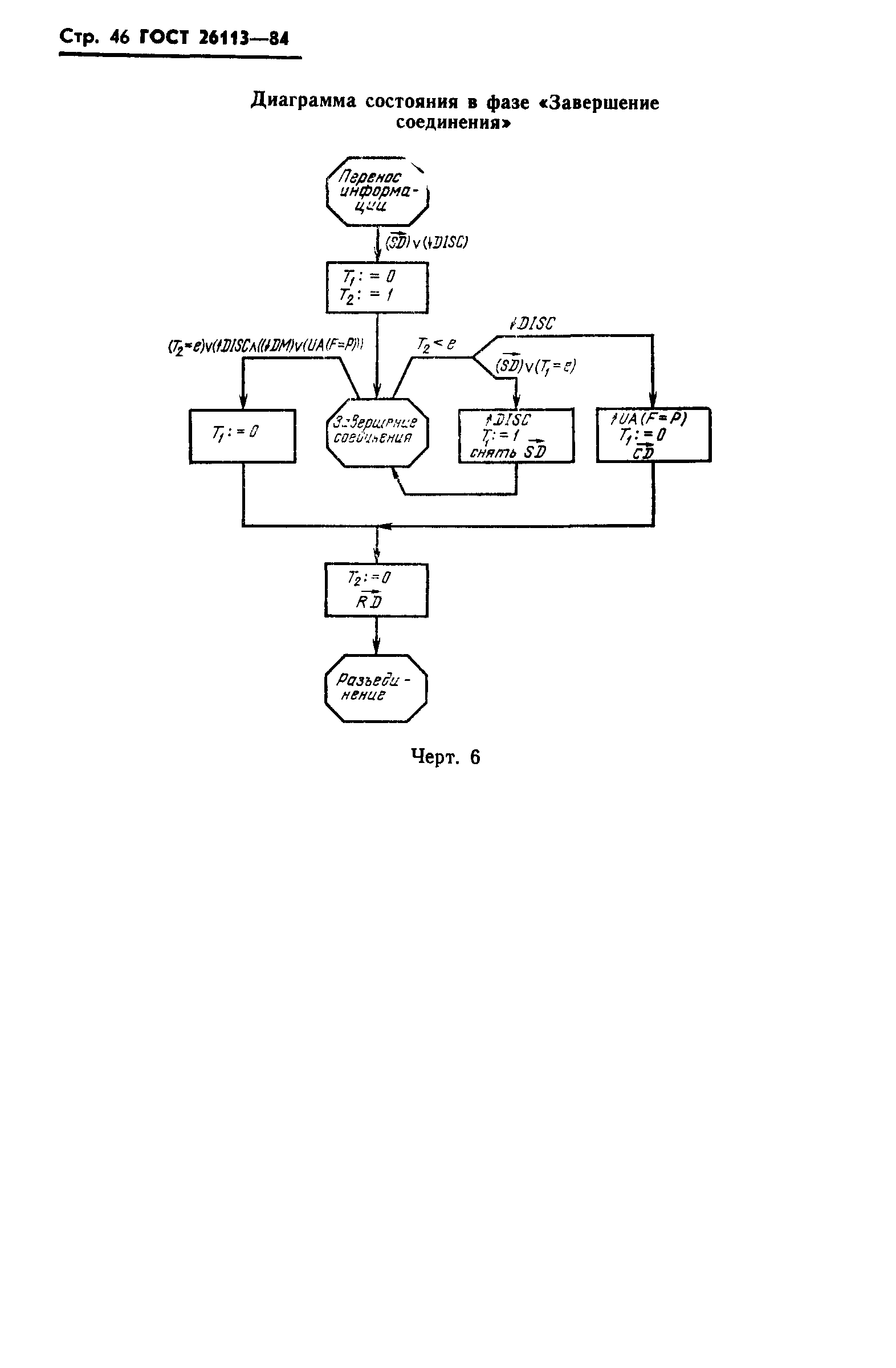
| Оглавление: | 1 Фазы процедур управления звеном ПД 2 Типы кадров 3 Команды и ответы 4 Процедуры управления в фазе "Логическое разъединение" 5 Процедуры управления в фазе "Инициализация" 6 Процедуры управления в фазе "Установление соединения" 7 Процедуры управления в фазе "Перенос информации" 8 Процедуры управления в фазе "Завершение соединения" Приложение 1 Пояснение терминов, использованных в настоящем стандарте Приложение 2 Рекомендуемый набор процедур и их параметры Приложение 3 Перечень логических команд на стыке с источником - получателем информации Приложение 4 Графическое представление элементов процедур |
| Утверждён: | 15.03.1984 Государственный комитет СССР по стандартам (USSR National Committee on Standards 782) |
| Издан: | Издательство стандартов (1984 г. ) |
| Список изменений: |
|
| Нормативные ссылки: |


















































