
ГОСУДАРСТВЕННЫЙ СТАНДАРТ СОЮЗА ССР
ПРОЦЕДУРЫ УПРАВЛЕНИЯ ЗВЕНОМ
ПЕРЕДАЧИ ДАННЫХ
ЭЛЕМЕНТЫ
БАЛАНСНЫХ ПРОЦЕДУР ПРИ ОДНОВРЕМЕННОЙ
ДВУСТОРОННЕЙ ПЕРЕДАЧЕ ИНФОРМАЦИИ И ЗАЩИТЫ
ОТ ОШИБОК
ГОСТ 26113-84
ГОСУДАРСТВЕННЫЙ КОМИТЕТ СССР ПО СТАНДАРТАМ
Москва
ГОСУДАРСТВЕННЫЙ СТАНДАРТ СОЮЗА ССР
|
ПРОЦЕДУРЫ УПРАВЛЕНИЯ ЗВЕНОМ ПЕРЕДАЧИ ДАННЫХ Элементы балансных
процедур при одновременной High level
data link control procedures. Elements of balanced procedures |
ГОСТ
|
Постановлением Государственного комитета СССР по стандартам от 15 марта 1984 г. № 782 срок действия установлен
с 01.07.85
до 01.07.90
Несоблюдение стандарта преследуется по закону
Настоящий стандарт распространяется на балансные процедуры управления двухпунктовым звеном передачи данных (ПД) по одному незащищенному от ошибок каналу ПД (НК), организованному на базе Единой автоматизированной сети связи (ЕАСС), с кодонезависимостью, ориентированной на биты, и применяемые на абонентских и межцентровых участках сетей ПД общего пользования для переноса сообщений или пакетов данных переменной длины.
Стандарт не распространяется на процедуры при двусторонней поочередной и односторонней передаче информации, а также на процедуры, не использующие для защиты от ошибок циклические коды.
Стандарт устанавливает элементы процедур передачи информации и защиты от ошибок: фазы, команды и ответы, наборы процедур и параметры, предназначенные для использования при разработке конкретных процедур управления звеном ПД. Стандарт полностью соответствует международным стандартам ИСО 4335, 6256, 3309.
Пояснения терминов, применяемых в настоящем стандарте, приведены в справочном приложении 1; рекомендуемый набор процедур и их параметры - в рекомендуемом приложении 2; перечень логических команд на стыке с источником - получателем информации - в рекомендуемом приложении 3. Графическое представление элементов процедур дано в рекомендуемом приложении 4.
Настоящий стандарт распространяется на аппаратуру, техническое задание на которую утверждено до 01.01.90.
(Измененная редакция, Изм. № 1).
1.1. Балансные процедуры управления звеном ПД определяют синхронную кодонезависимую передачу данных между двумя комбинированными станциями (далее - станциями) звена ПД, соединенными незащищенным от ошибок каналом ПД (НК), как показано на черт. 1. Данные, предназначенные для передачи, поступают в звено ПД извне от источника информации и после правильного приема передаются во вне получателю информации.
Структурная схема передачи информации в звене ПД
Черт. 1
Взаимодействие станции с НК (стык) должно осуществляться в соответствии со стыком устройств защиты от ошибок с НК по ГОСТ 24734-81.
Взаимодействие станции с источником и получателем информации настоящим стандартом не регламентируется.
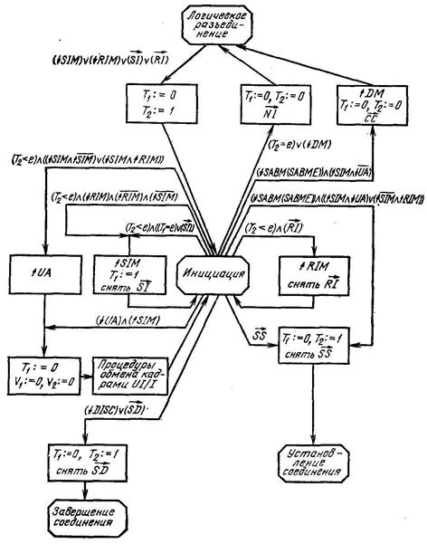
1.2. Полный цикл функционирования двухточечного звена ПД состоит из следующих последовательных фаз: «Логическое разъединение», «Инициация», «Установление соединения», «Перенос информации», «Завершение соединения», «Логическое разъединение». Диаграмма следования фаз приведена на черт. 2. Допускаются обходы фаз. Пути обхода показаны на черт. 2 в виде стрелок и обозначены О1, О2, О3, О4, O5, O6, О7. Причины, вызывающие обход, приведены в пп. 1.3 - 1.7.
1.3. Фаза «Логическое разъединение» является одновременно исходной и конечной фазой процедур управления звеном ПД. В фазе «Логическое разъединение» станция должна находиться непосредственно после ее включения и перед ее выключением. Последнее, в частности, отражает обход O1 (см. черт. 2).
1.4. Фаза «Инициация» предназначена для обмена между станциями звена ПД параметрами и (или) программами, необходимыми в других фазах. При отсутствии такой необходимости допускается обход по О2 (см. черт. 2). Если после завершения процедур фазы «Инициация» нет необходимости в переносе информации от источника информации, то допускается обход по О3 (см. черт. 2).
Диаграмма следования фаз в звене ПД
Черт. 2
1.5. Фаза «Установление соединения» предназначена для подготовки всех условий, необходимых для передачи данных в звене ПД, и является фазой перехода из фазы «Логическое разъединение» или «Инициация» в фазу «Перенос информации». В результате ухудшения характеристик НК или отказа одной из станций участвовать в переносе информации от источника допускается обход по О4 из фазы «Установление соединения» в фазу «Логическое разъединение», как это показано на диаграмме следования фаз (см. черт. 2).
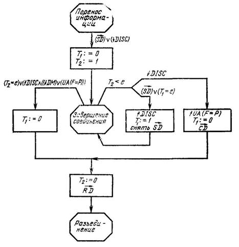
1.6. Фаза «Перенос информации» является основной фазой, в течение которой осуществляется перенос информации от источника к получателю. После завершения переноса информации по инициативе источника или получателя происходит переход к фазе «Завершение соединения». В результате ухудшения характеристик НК или отказа оборудования на одной из станций в звене ПД могут возникнуть условия, при которых невозможно продолжение переноса информации. В этом случае допускается переход к фазе «Завершение соединения» или по О5 к фазе «Установление соединения» (см. черт. 2).
1.7. Фаза «Завершение соединения» является фазой перехода из фазы «Перенос информации» в фазу «Логическое разъединение». Целью и конечным итогом процедур в фазе «Завершение соединения» является подготовка всех условий для полного логического разъединения станций. После перехода из любой фазы в фазу «Логическое разъединение» допускается, как отмечено в п. 1.2, переход в фазу «Установление соединения» или «Инициация» по О6 или О7 (см. черт. 2).
2.1. Для переноса информации по НК в процедурах управления звеном ПД используются кадры по ГОСТ 25873-83. Вводятся три типа кадров: информационный (I-кадр), служебный нумерованный (супервизорный S-кадр) и служебный ненумерованный (U-кадр).
2.2. Данные, получаемые от источника информации, размещаются в информационной области I-кадра. I-кадры используются только в фазе «Перенос информации». Формат I-кадра совпадает с кадром первого формата.
2.3. Управление процедурой передачи информации и защиты от ошибок в звене ПД осуществляется посредством команд и ответов, передаваемых в области управления I-кадров и служебных кадров. Формат служебного кадра может совпадать со вторым или первым форматом по ГОСТ 25873-83.
Для выполнения функций решающей обратной связи (РОС) в фазе «Перенос информации» используются S-кадры. К функциям РОС относят: подтверждение I-кадров, запрос повторной передачи I-кадров, запрос временного прекращения передачи I-кадров.
U-кадры используются в фазах «Установление соединения», «Завершение соединения», «Логическое разъединение», «Инициация» и «Перенос информации». U-кадры используются для выполнения функций установления и завершения соединения, тестирования и идентификации, а также для других дополнительных функций.
Примечание. Допускается использование I- и S-кадров в фазе «Инициация».
2.4. Структура области управления для кадров трех типов приведена в табл. 1, 2 применительно к нерасширенному и расширенному форматам соответственно.
Таблица 1
|
Порядок передачи битов области управления в НК |
||||||||
|
8 |
7 |
6 |
5 |
4 |
3 |
2 |
1 |
|
|
I-кадр |
N2 |
P/F |
N1 |
0 |
||||
|
S-кадр |
N2 |
P/F |
s |
s |
0 |
1 |
||
|
U-кадр |
u |
u |
u |
P/F |
u |
u |
1 |
1 |
Таблица 2
|
Порядок передачи битов области управления в НК |
||||||||||||||||
|
16 |
15 |
14 |
13 |
12 |
11 |
10 |
9 |
8 |
7 |
6 |
5 |
4 |
3 |
2 |
1 |
|
|
I-кадр |
N2 |
P/F |
N1 |
0 |
||||||||||||
|
S-кадр |
N2 |
P/F |
0 |
0 |
0 |
0 |
s |
s |
0 |
1 |
||||||
|
U-кадр |
0 |
0 |
0 |
0 |
0 |
0 |
0 |
P/F |
u |
u |
u |
0 |
u |
u |
1 |
1 |
В табл. 1, 2 введены следующие обозначения:
N1 - прямой порядковый номер I-кадра (бит 2 - бит младшего разряда номера);
N2 - обратный номер I-кадра, к которому относится сигнал обратной связи (бит 6 в табл. 1 и бит 10 в табл. 2 - биты младшего разряда номера);
s - биты, определяющие функцию команды или ответа в S-кадре (не более 4 команд и 4 ответов);
u - биты, определяющие функцию команды или ответа в U-кадре (не более 32 команд и 32 ответов);
P/F - бит запрос/ответ, который при размещении в кадре команды интерпретируется как бит Р (бит запроса), а при размещении в кадре ответа интерпретируется как бит F (бит ответа).
2.5. I-кадр идентифицируется первым передаваемым в НК битом области управления (табл. 1, 2, бит 1): если этот бит равен нулю, следовательно, принятый кадр является I-кадром.
S-кадр идентифицируется первыми двумя передаваемыми в НК битами области управления (табл. 1, 2, биты 1 и 2): если эти биты составляют двоичное число 01, то принятый кадр является S-кадром.
U-кадр идентифицируется первыми двумя передаваемыми в НК битами области управления (табл. 1, 2, биты 1 и 2): если эти биты составляют двоичное число 11, то принятый кадр является U-кадром.
2.6. Правила использования бита P/F следующие.
В ответ на каждый правильно принятый из НК I-кадр или S-кадр с битом Р, равным единице, станция звена ПД должна передать I-кадр или S-кадр с битом F, равным единице в фазе «Перенос информации». На каждый правильно принятый I- или S-кадр с битом Р, равным единице, вызвавший некорректную ситуацию в фазе «Перенос информации», как указано в п. 3.10, или U-кадр с битом Р, равным единице, правильно принятый в этой же фазе, станция звена ПД должна передать U-кадр с битом F, равным единице. На каждый правильно принятый кадр с битом Р, равным единице, станция звена ПД должна передать U-кадр с битом F, равным единице, в остальных фазах.
Станция не имеет права передавать кадр с битом Р, равным единице, если не получен ответ на предыдущий кадр с битом Р, равным единице, кадр с битом F, равным единице, или не истекла временная выдержка ожидания ответа на кадр с битом Р, равным единице.
3.1. Команды и ответы используются для управления процедурой переноса информации по НК. В табл. 3, 4 приведен перечень команд и ответов соответственно для нерасширенного и расширенного форматов, передаваемых в I-, S- и U-кадрах. Для определения команды или ответа, а также для определения бита Р или бита F в кадре используется правило адресации по ГОСТ 25873-83: кадры, содержащие команды, передаются с адресом удаленной станции, кадры, содержащие ответы, - с адресом местной станции. Если, правильно приняв кадр, станция в его области адреса не обнаружит адресов местной или удаленной станции, то такой кадр станция должна проигнорировать.
Содержание области управления для некоторых команд и ответов, приведенных в табл. 3, 4, совпадает, поэтому при необходимости передать такие команды или ответы с битом Р или F, равными нулю, рекомендуется I-кадры передавать как команды, а S-кадры - как ответы.
3.2. Команда и ответ «Передача информации» - «Information transfer format» (I) являются признаком наличия в I-кадре информации от источника. Номер N1 указывает на порядковый номер передаваемого I-кадра. Номер N2 подтверждает все ранее принятые информационные кадры с номерами до N2 - 1 включительно.
Таблица 3
|
Обозначение и наименование команд и ответов |
Назначение |
Порядок передачи бит |
|||||||||
|
команды |
ответа |
8 |
7 |
6 |
5 |
4 |
3 |
2 |
1 |
||
|
I-кадр |
I - передача информации |
+ |
+ |
N2 |
P/F |
N1 |
0 |
||||
|
S-кадр |
RR - готов к приему |
+ |
+ |
N2 |
P/F |
0 |
0 |
0 |
1 |
||
|
RNR - не готов к приему |
+ |
+ |
N2 |
P/F |
0 |
1 |
0 |
1 |
|||
|
REI - неприем |
+ |
+ |
N2 |
P/F |
1 |
0 |
0 |
1 |
|||
|
SREI - выборочный неприем |
+ |
+ |
N2 |
P/F |
1 |
1 |
0 |
1 |
|||
|
U-кадр |
SABM - установить нерасширенный формат |
+ |
- |
0 |
0 |
1 |
P |
1 |
1 |
1 |
1 |
|
SABME - установить расширенный формат |
+ |
- |
0 |
1 |
1 |
P |
1 |
1 |
1 |
1 |
|
|
FRMR - некорректный кадр |
- |
+ |
I |
0 |
0 |
F |
0 |
1 |
1 |
1 |
|
|
DISC - разъединение |
+ |
- |
0 |
1 |
0 |
P |
0 |
0 |
1 |
1 |
|
|
UA - ненумерованное подтверждение |
- |
+ |
0 |
1 |
1 |
F |
0 |
0 |
1 |
1 |
|
|
DM - режим разъединения |
- |
+ |
0 |
0 |
0 |
F |
1 |
1 |
1 |
1 |
|
|
XID - идентификация |
+ |
+ |
1 |
0 |
1 |
P/F |
1 |
1 |
1 |
1 |
|
|
TEST - проверка |
+ |
+ |
1 |
1 |
1 |
P/F |
0 |
0 |
1 |
1 |
|
|
SIM - установить инициацию |
+ |
- |
0 |
0 |
0 |
P |
0 |
1 |
1 |
1 |
|
|
RIM - запрос инициации |
- |
+ |
0 |
0 |
0 |
F |
0 |
1 |
1 |
1 |
|
|
UI - ненумерованная информация |
+ |
+ |
0 |
0 |
0 |
P/F |
0 |
0 |
1 |
1 |
|
|
RSET - возврат в исходное состояние |
+ |
- |
I |
0 |
0 |
P |
1 |
1 |
1 |
1 |
|
|
UP - запрос передачи |
+ |
- |
0 |
0 |
1 |
P |
0 |
0 |
1 |
1 |
|
|
RD - запрос разъединения |
- |
+ |
0 |
1 |
0 |
F |
0 |
0 |
1 |
1 |
|
|
AREI - адресный неприем |
+ |
+ |
1 |
0 |
1 |
P/F |
0 |
0 |
1 |
1 |
|
Бит P/F может принимать значение нуль или единицу (функция этого бита описана в пп. 2.6, 7.6).
Примечание. В дальнейшем при обозначении арифметических действий имеется ввиду, что они выполняются по модулю некоторого числа, в пределах которого (от нуля) производится нумерация I-кадров.
3.3. Команда и ответ «Не готов к приему» - «Receive not ready» (RNR) используются для указания на состояние «Занято» (см. разд. 6) на станции, ее посылающей, т.е. на временную неспособность принимать дальнейшие информационные кадры. Такое состояние, например, может возникнуть при переполнении памяти на станции.
Получив такую команду или ответ, станция должна прекратить передачу информационных кадров. При этом все кадры с номерами до N2 - 1 должны быть подтверждены.
Таблица 4
|
Обозначение команд и ответов |
Назначение |
Порядок передачи бит |
|||||||||||||||||
|
команды |
ответа |
16 |
15 |
14 |
13 |
12 |
11 |
10 |
9 |
8 |
7 |
6 |
5 |
4 |
3 |
2 |
1 |
||
|
I-кадр |
I |
+ |
+ |
N2 |
P/F |
N1 |
0 |
||||||||||||
|
S-кадр |
RR |
+ |
+ |
N2 |
P/F |
0 |
0 |
0 |
0 |
0 |
0 |
0 |
1 |
||||||
|
RNR |
+ |
+ |
N2 |
P/F |
0 |
0 |
0 |
0 |
0 |
1 |
0 |
1 |
|||||||
|
REI |
+ |
+ |
N2 |
P/F |
0 |
0 |
0 |
0 |
1 |
0 |
0 |
1 |
|||||||
|
SREI |
+ |
+ |
N2 |
P/F |
0 |
0 |
0 |
0 |
1 |
1 |
0 |
1 |
|||||||
|
U-кадр |
SABM |
+ |
0 |
0 |
0 |
0 |
0 |
0 |
0 |
P |
0 |
0 |
1 |
0 |
1 |
1 |
1 |
1 |
|
|
SABME |
+ |
0 |
0 |
0 |
0 |
0 |
0 |
0 |
P |
0 |
1 |
1 |
0 |
0 |
0 |
1 |
1 |
||
|
FRMR |
+ |
0 |
0 |
0 |
0 |
0 |
0 |
0 |
F |
1 |
0 |
0 |
0 |
0 |
1 |
1 |
1 |
||
|
DISC |
+ |
0 |
0 |
0 |
0 |
0 |
0 |
0 |
P |
0 |
1 |
0 |
0 |
0 |
0 |
1 |
1 |
||
|
UA |
+ |
0 |
0 |
0 |
0 |
0 |
0 |
0 |
F |
0 |
1 |
1 |
0 |
0 |
0 |
1 |
1 |
||
|
DM |
+ |
0 |
0 |
0 |
0 |
0 |
0 |
0 |
F |
0 |
0 |
0 |
0 |
1 |
1 |
1 |
1 |
||
|
XID |
+ |
+ |
0 |
0 |
0 |
0 |
0 |
0 |
0 |
P/F |
1 |
0 |
1 |
0 |
1 |
1 |
1 |
1 |
|
|
TEST |
+ |
+ |
0 |
0 |
0 |
0 |
0 |
0 |
0 |
P/F |
1 |
1 |
1 |
0 |
0 |
0 |
1 |
1 |
|
|
SIM |
+ |
0 |
0 |
0 |
0 |
0 |
0 |
0 |
P |
0 |
0 |
0 |
0 |
0 |
1 |
1 |
1 |
||
|
RIM |
+ |
0 |
0 |
0 |
0 |
0 |
0 |
0 |
F |
0 |
0 |
0 |
0 |
0 |
1 |
1 |
1 |
||
|
UI |
+ |
+ |
0 |
0 |
0 |
0 |
0 |
0 |
0 |
P/F |
0 |
0 |
0 |
0 |
0 |
0 |
1 |
1 |
|
|
RSET |
+ |
0 |
0 |
0 |
0 |
0 |
0 |
0 |
P |
1 |
0 |
0 |
0 |
1 |
1 |
1 |
1 |
||
|
UP |
+ |
0 |
0 |
0 |
0 |
0 |
0 |
0 |
P |
0 |
0 |
1 |
0 |
0 |
0 |
1 |
1 |
||
|
RD |
+ |
0 |
0 |
0 |
0 |
0 |
0 |
0 |
F |
0 |
1 |
0 |
0 |
0 |
0 |
1 |
1 |
||
|
AREI |
+ |
+ |
0 |
0 |
0 |
0 |
0 |
0 |
0 |
P/F |
1 |
0 |
1 |
0 |
0 |
0 |
1 |
1 |
|
3.4. Команда и ответ «Готов к приему» - «Receive ready» (RR) используются для подтверждения ранее принятых кадров с номерами до N2 - 1 включительно. Кроме того, ответ «Готов к приему» указывает на готовность станции принимать следующие информационные кадры и поэтому сообщает о снятии состояния «Занято», введенного передачей кадра RNR.
3.5. Команда и ответ «Неприем» - «Reject» (REI) используется для запроса повторной передачи информационных кадров, начиная с кадра, имеющего номер N2. При этом команда подтверждает I-кадры с номерами до N2 - 1. Кроме того, кадр REI указывает о снятии состояния «Занято», введенного передачей RNR.
3.6. Команда и ответ «Выборочный неприем» - «Selective reject» (SREI) используется для запроса повторной передачи одного I-кадра с номером N2. При этом команда подтверждает I-кадры с номерами до N2 - 1 включительно. Кроме того, кадр SREI указывает о снятии состояния «Занято», введенного передачей RNR.
3.7. Команда «Установить асинхронный балансный режим» - «Set asynchronous balanced mode» (SABM) указывает на требование передавшей ее станции перейти в фазу «Установления соединения» и работать в асинхронном балансном режиме в нерасширенном формате. С командой SABM передача информационной области не допускается. Этой командой также необходимо сообщить о снятии состояния «Занято», введенного передачей RNR.
3.8. Команда «Установить расширенный асинхронный балансный режим» - «Set asynchronous balanced mode extended» (SABME) имеет то же назначение, что и SABM, но применительно к расширенному формату кадра.
Команды SABM и SABME являются признаками перехода в фазу «Установление соединения».
3.9. Команда «Разъединение» - «Disconnect» (DISC) используется для завершения ранее установленного соединения и требует перехода в фазу «Завершение соединения». С командой DISC передача информационной области не допускается.
3.10. Ответ «Некорректный кадр» - «Frame reject» (FRMR) используется для сообщения о некорректной ситуации, возникшей на одной из станций в результате обработки кадра, принятого без обнаруженной ошибки. Информация о конкретной ситуации, приведшей к передаче ответа FRMR, передается в информационной области этого кадра.
Сообщается о следующих ситуациях:
W - область управления принятого кадра является недействительной или не применяется, т.е. комбинация в области управления принятого кадра не соответствует ни одной из приведенных в табл. 3, 4;
X - принятая комбинация в области управления кадра соответствует одной из комбинаций, приведенных в табл. 3, 4, но этот же кадр содержит информационную область, не допустимую с командой или ответом, содержащимся в области управления принятого кадра. Если обнаружена ситуация X, то считается, что обнаружена и ситуация W;
Y - принятая информационная область превышает максимально установленную;
Z - принятая область управления содержит недействительный номер N2. Недействительным номером N2 является тот, который относится к I-кадру еще не передававшемуся в канал связи, или уже подтвержденному.
Структура информационной области ответа FRMR для нерасширенного и расширенного форматов приведена в табл. 5, 6 соответственно.
Таблица 5
|
24 |
23 |
22 |
21 |
20 |
19 |
18 |
17 |
16 |
15 |
14 |
13 |
12 |
11 |
10 |
9 |
8 |
7 |
6 |
5 |
4 |
3 |
2 |
1 |
|
0 |
0 |
0 |
0 |
z |
y |
x |
w |
N2 |
c |
N1 |
0 |
Область управления не принятого кадра |
|||||||||||
Таблица 6
|
40 |
39 |
38 |
37 |
36 |
35 |
34 |
33 |
32 |
... |
26 |
25 |
24 |
... |
18 |
17 |
16 |
... |
3 |
2 |
1 |
|
0 |
0 |
0 |
0 |
z |
y |
x |
w |
N2 |
c |
N1 |
0 |
Область управления не принятого кадра расширенного формата |
||||||||
В первый передаваемый в НК байт (или два байта) информационной области ответа FRMR записывается область управления принятого кадра, вызвавшего некорректную ситуацию. В биты N1 записывается увеличенное на единицу значение номера последнего переданного в НК I-кадра, в биты N2 записывается значение номера I-кадра, ожидаемого к приему на станции, обнаружившей некорректную ситуацию. Биты w, x, у, z в значении единица указывают на обнаруженную некорректную ситуацию W, X, Y, Z соответственно. Если x = 1, то и w = l; если у = 1, то x = 0 и w = 0. Бит c в значении нуль указывает, что некорректная ситуация возникает в результате приема кадра с командой, в противном случае бит с устанавливается в значении «единица».
Биты x, у, w, z могут иметь значение «нуль», когда речь идет о некорректной ситуации, но без указания ее причины.
3.11. Ответ «Ненумерованное подтверждение» - «Unnumbered acknowledgement» (UA) используется для подтверждения выполнения команд, размещенных в U-кадрах. С ответом UA информационная область не допускается.
3.12. Ответ «Режим разъединения» - «Disconnect mode» (DM) используется для сообщения о том, что передающая его станция логически отключена от звена или она не может установить соединения в предложенном режиме работы.
Например, получив SABME, станция не может работать с расширенным форматом кадра, или не может работать в асинхронном балансном режиме и т.д. Передача информационной области с этим ответом не допускается.
3.13. Команда-ответ «Идентификация» - «Exchange Identification» (XID) используется для обеспечения возможности обмена последовательностью идентификации или характеристиками станций. Кадр, содержащий команду XID, может иметь информационную область, содержащую признаки идентификации. Признаки идентификации настоящим стандартом не регламентируются.
3.14. Команда-ответ «Проверка» - «Test» (TEST) используется для обеспечения возможности простейшей проверки звена ПД по шлейфу НК. Кадр, содержащий команду или ответ TEST, может иметь информационную область, содержащую тестовую последовательность.
3.15. Команда «Установить инициацию» - «Set initialization mode» (STM) указывает на требование передавшей ее станции перейти в фазу «Инициация» с целью изменить или ввести новые параметры (программы) на удаленной станции. С командой STM передача информационной области не допускается. Этой командой также сообщается о снятии состояния «Занято», введенного передачей RNR.
3.16. Ответ «Запрос инициации» - «Request initialization mode» (RIM) используется для сообщения удаленной станции о необходимости перевода звена в фазу «Инициация» с целью изменить или ввести новые параметры (программы) на передавшей ответ RIM станции. С ответом RIM передача информационной области не допускается.
3.17. Команда-ответ «Ненумерованная информация» - «Unnumbered information» (UI) используется для передачи информации (например данных специфического применения, значений параметров, программ и т.п.) на удаленную станцию без необходимости подтверждения их посредством ответной передачи I- или S-кадра.
3.18. Команда «Возврат в исходное состояние» - «Reset» (RSET) применяется только в фазе «Перенос информации» и предназначена для возврата в исходное состояние (обнуления) переменной, следящей за правильным порядком приема номеров I-кадров на удаленной станции. С командой RSET передача информационной области не допускается.
3.19. Команда «Запрос передачи» - «Unnumbered Poll» (UP) указывает на необходимость ответа удаленной станции о своем состоянии либо передачи в качестве ответа неподтвержденных или не переданных I-кадров, если такие имеются. Информационная область в кадре, содержащем команду UP, не допускается.
3.20. Ответ «Запрос разъединения» - «Request disconnection» (RD) используется для сообщения удаленной станции о необходимости перехода в фазу «Завершение соединения». Информационная область в кадре, содержащем ответ RD, не допускается.
3.21. Команда-ответ «Адресный неприем» - «Adressed reject» (AREI) используется для запроса повторной передачи одного I-кадра. Номер N2' запрашиваемого кадра передается в информационной области кадра, содержащего команду-ответ AREI. Информационная область такого кадра состоит из одного байта. Структура информационной области кадра с AREI приведена в табл. 7 для нерасширенного и расширенного форматов, где бит 8 - бит старшего порядка номера N2'.
Таблица 7
|
Порядок передачи бит в НК |
||||||||
|
8 |
7 |
6 |
5 |
4 |
3 |
2 |
1 |
|
|
Нерасширенный |
N2' |
0 |
0 |
0 |
0 |
0 |
||
|
Расширенный |
N2' |
0 |
||||||
В отличие от S-кадров этот кадр не подтверждает ранее принятые I-кадры. Команда-ответ AREI указывает о снятии состояния «Занято», введенного передачей кадра с RNR.
Примечание. Команда-ответ AREI является необязательной дополнительной функцией.
4.1. Для перехода станции звена ПД (далее - станции) в фазу «Логическое разъединение» необходимо наступление хотя бы одного из следующих событий:
включение станции, проведение начальной установки и получение сигнала готовности от НК;
окончание выполнения процедур в фазе «Завершение соединения» в соответствии с требованиями разд. 8;
передача кадра с DM.
Примечание. Определение сигнала готовности НК зависит от стыка с НК по ГОСТ 24734-81 и настоящим стандартом не регламентируется.
4.2. В фазе «Логическое разъединение» станция должна анализировать принятые из НК без ошибки действительные кадры.
Если в принятом кадре обнаружена команда DISC, то станция должна передать удаленной станции ответ DM. Значение бита F в кадре, содержащем этот ответ, должно совпадать со значением бита P в принятом кадре с командой DISC.
Если в принятом кадре обнаружена команда TEST или XID, то станция должна передать удаленной станции ответы TEST или XID соответственно. Значение бита F в кадрах, содержащих упомянутые ответы, должно совпадать со значением бита Р в принятом кадре с командой TEST или XID. Информационная область кадра, содержащего ответ TEST, должна совпадать с информационной областью принятого кадра с командой TEST. Информационная область в принятом кадре, содержащем команду XID, должна быть передана получателю информации. Информационная область кадра, содержащего ответ XID, должна быть получена от источника информации, если он логически подключен к станции.
Если в принятом кадре обнаружена команда UP, то станция должна перейти в фазу «Перенос информации» и выполнить следующие действия:
передать в качестве ответа I-кадры или U-кадры с UI, если такие не переданные кадры на станции сохранились;
повторно передать в качестве ответа неподтвержденные I-кадры, если такие кадры на станции сохранились;
передать в качестве ответа подтверждение (квитанцию) на I-кадры, которые ранее были правильно приняты, но не подтверждены;
передать в качестве ответа соответствующий S-кадр, если до перехода в фазу «Логическое разъединение» станция находилась в одном из состояний «Занято» или «Блокировка» фазы «Перенос информации» в соответствии с требованиями разд. 7;
передать в качестве ответа кадр, содержащий FRMR, если до перехода в фазу «Логическое разъединение» станция находилась в состоянии «Неприем» фазы «Перенос информации», в соответствии с требованиями разд. 7;
передать ответ DM в остальных случаях.
Значение бита F в упомянутых кадрах-ответах должно быть равно нулю, за исключением последнего кадра-ответа, в котором значение бита F должно быть равно значению бита Р в принятом кадре с командой UP. После передачи последнего кадра-ответа станция должна перейти в фазу «Логическое разъединение».
Передача команды UP может произойти, если переход в фазу «Логическое разъединение» из фазы «Перенос информации» происходит в результате ухудшения характеристик НК или отказа оборудования, при этом на станции могут остаться неподтвержденные или не переданные I-кадры и не все принятые I-кадры могут быть подтверждены и т.п.
По инициативе источника информации станция может передать по НК для удаленной станции команду UP с целью выявления состояния станции. После передачи команды UP станция должна перейти в фазу «Перенос информации» и начать отсчет тайм-аута ожидания ответа T1. Если в правильно принятых кадрах обнаружен ответ на переданную ранее команду UP (тайм-аут T1 не истек), то станция должна сообщить о принятом ответе получателю информации. После получения последнего кадра ответа на команду UP станция должна прекратить отсчет тайм-аута T1 и перейти в фазу «Логическое разъединение». Если команда UP или ответ на нее не приняты правильно, они не учитываются. В результате этого на станции, передавшей команду UP, истечет тайм-аут T1. Если тайм-аут T1 истек, отсчет его должен быть остановлен, о факте неприема ответа сообщается источнику информации и станция должна возвратиться в фазу «Логическое разъединение».
По инициативе источника информации станция может передать по НК для удаленной станции команды TEST или XID с целью тестирования или идентификации. После передачи команды TEST или XID должен быть начат отсчет тайм-аута ожидания ответа Т1.
Информационная область кадра, содержащего команду XID, должна быть сообщена источником информации. Если в принятом кадре обнаружен ответ TEST или XID на переданную ранее команду TEST или XID (тайм-аут T1 не истек), то станция должна закончить отсчет тайм-аута T1, сообщить о принятом ответе получателю информации. Если команды TEST или XID или ответы TEST или XID не приняты правильно, они не учитываются. В результате этого на станции, первоначально передавшей команды TEST или XID, истечет тайм-аут Т1. Если тайм-аут T1 истек, отсчет его должен быть остановлен, а о факте неприема ответа сообщается источнику - получателю информации.
Если в принятом кадре обнаружена команда SABM или SABME, то станция должна перейти в фазу «Установление соединения».
Если в принятом кадре обнаружена команда SIM или ответ RIM, то станция должна перейти в фазу «Инициация».
Если в принятом кадре бит Р имеет значение единица, то станция должна передать удаленной станции ответ DM с битом F, равным единице, за исключением случаев, рассмотренных выше.
Принятые станцией другие кадры, не упоминавшиеся в настоящем пункте, не должны учитываться. Временное заполнение между кадрами должно производиться посредством непрерывной передачи комбинации «Флаг» в соответствии с ГОСТ 25873-83.
4.3. Для выхода станции из фазы «Логическое разъединение» необходимо наступление хотя бы одного из следующих событий:
прием от удаленной станции без ошибки кадра, содержащего команду SABM или SABME (переход в фазу «Установление соединения»);
прием от удаленной станции без ошибки кадра, содержащего команду SIM или ответ RIМ (переход в фазу «Инициация»);
получение от источника информации сигнала об установлении соединения (переход в фазу «Установление соединения»);
получение от источника информации сигнала о необходимости ввести новые параметры (программы) на удаленную станцию или получить их от удаленной станции (переход в фазу «Инициация»);
выключение станции.
5.1. Для перехода станции звена ПД в фазу «Инициация» необходимо наступление хотя бы одного из следующих событий:
прием из НК кадра без ошибки с командой SIM (кроме случая столкновения команд, приведенного в пп. 6.2, 8.2);
прием из НК кадра без ошибки с ответом RIM;
получение от источника информации сигнала необходимости ввода новых параметров (программы) на удаленную станцию;
получение от источника информации сигнала о необходимости ввода новых параметров (программ) от удаленной станции.
5.2. Каждая из станций по инициативе источника информации указывает, что она хочет перейти в фазу «Инициация» посредством передачи кадра с командой SIM или ответом RIM. По сигналу источника информации о необходимости ввода новых параметров (программ) на удаленную станцию посылается в НК кадр с командой SIM; по сигналу источника информации о необходимости коррекции своих параметров (программ) путем их передачи от удаленной станции передается кадр с ответом RIM.
Передав кадр с командой SIM, станция должна начать отсчет тайм-аутов T1 и T2. Удаленная станция, правильно приняв кадр с SIM, должна передать ответ UA и установить на нуль переменные, указывающие на номер очередного I-кадра для передачи (V1) и на номер ожидаемого к приему I-кадра (V2). Кроме того, следует прекратить счет тайм-аута Т1, если он не был прекращен ранее. Станция, передавшая кадр с UA в ответ на принятый без ошибки кадр с SIM, должна быть готова к коррекции своих параметров (программ).
Если кадр с ответом UA принят правильно станцией, передавшей ранее команду SIM, то эта станция устанавливает переменные V1 и V2 на нуль, прекращает отсчет тайм-аута T1 и приступает к передаче параметров (программ) на удаленную станцию.
Если, правильно приняв команду SIM, станция определяет, что она не может перейти в фазу «Инициация», она должна передать ответ DM и перейти в фазу «Логическое разъединение». Если ответ DM принят правильно, то станция должна перейти в фазу «Логическое разъединение», прекратить отсчет тайм-аута T1 и Т2 и сообщить об этом источнику информации.
Если команда SIM, ответы UA или DM не приняты правильно, они не учитываются. В результате этого на станции, первоначально передавшей SIM, истечет тайм-аут T1 и эта станция вновь должна передать и вновь начать отсчет тайм-аута T1. Эта последовательность операций может продолжаться, пока не будет правильно принят ответ UA или DM, либо пока не истечет допустимое время тайм-аута Т2. Если тайм-аут Т2 истек, то станция сообщает об этом источнику информации, переходит в фазу «Логическое разъединение» и прекращает отсчет тайм-аута T2.
Передав по инициативе источника информации кадр с ответом RIM, станция должна ожидать прием кадра с командой SIM. Удаленная станция, правильно приняв кадр с RIM, должна перейти в фазу «Инициация», передать команду SIM, начать отсчет тайм-аутов Т1 и Т2 и сообщить об этом источнику информации. Все дальнейшие действия станций аналогичны описанным выше.
Если, правильно приняв ответ RIM, станция определяет, что она не может перейти в фазу «Инициация», то она сохраняет предыдущую фазу и никаких других действий не производит. Станция, первоначально передавшая кадр с RIM, и не получившая ожидаемого ответа, может по инициативе источника информации, либо в результате приема кадра с битом Р, равным единице (кроме кадра с DISC), повторить передачу кадра с RIM.
Если станция, первоначально передавшая в НК кадр с SIM, правильно принимает кадр с RIM, то никаких дополнительных действий она не производит.
Если станция, первоначально передавшая кадр с SIM и не получившая ожидаемого ответа, правильно принимает кадр с SABM (SABME), она должна передать ответ DM, остановить отсчет тайм-аутов T1 и Т2 и перейти в фазу «Логическое разъединение» (столкновение команд), сообщив об этом источнику информации.
Процедура переноса параметров или программ между станциями звена ПД должна производиться посредством обмена кадрами с UI и настоящим стандартом не регламентируется. Допускается наряду с кадрами с UI производить обмен I-кадрами в соответствии с процедурой, приведенной в разд. 7.
Если во время выполнения процедур фазы «Инициация» станция правильно примет из НК кадр, содержащий команду DISC, то станция должна прекратить счет тайм-аутов T1 и Т2 и перейти в фазу «Завершение соединения».
Принятые станцией другие кадры, не упоминавшиеся в настоящем пункте, не должны учитываться. Временное заполнение между кадрами должно производиться посредством непрерывной передачи комбинации «Флаг» по ГОСТ 25873-83.
5.3. Для выхода станции из фазы «Инициация» необходимо наступление хотя бы одного из следующих событий:
правильный прием из НК кадра с командой DISC (переход в фазу «Завершение соединения»);
передача в НК ответа DM в результате столкновения команд (переход в фазу «Логическое разъединение»);
правильный прием из НК кадра с SABM или SABME после получения ответа на переданный ранее кадр с SIM (переход в фазу «Установление соединения»);
правильный прием из НК кадра с DM (переход в фазу «Логическое разъединение»);
истечение тайм-аута Т2 (переход в фазу «Логическое разъединение»);
получение от источника информации сигнала о необходимости установления соединения (переход в фазу «Установление соединения»);
получение от источника сигнала о необходимости логического разъединения (переход в фазу «Завершение соединения»).
6.1. Для перехода станции звена ПД в фазу «Установление соединения» необходимо наступление хотя бы одного из следующих событий:
прием из НК кадра без ошибки с командой SABM или SABME (кроме случая столкновения команд, приведенных в пп. 5.2, 8.2);
получение от источника информации сигнала о необходимости установления соединения.
6.2. Каждая из станций по инициативе источника информации указывает, что она хочет установить соединение посредством передачи команды SABM или SABME в зависимости от предварительно введенных условий. Первоначально передав кадр с SABM (SABME), станция должна начать отсчет тайм-аутов T1 и Т2. Противоположная станция, правильно приняв кадр с SABM (SABME), должна передать ответ UA и установить на нуль переменную, указывающую на номер очередного I-кадра для передачи (V1), и переменную, указывающую на номер ожидаемого к приему I-кадра (V2). Кроме того, следует остановить отсчет тайм-аутов T1 и Т2, если их отсчет был начат ранее. Станция, передавшая кадр с UA в ответ на принятую без ошибки команду SABM или SABME, переходит в фазу «Перенос информации».
Если ответ UA принят правильно станцией, передавшей ранее команду SABM или SABME, то эта станция устанавливает переменные V1 и V2 на нуль и переходит в фазу «Перенос информации». При этом отсчет тайм-аутов T1 и Т2 прекращается.
Если, правильно приняв кадр с командой SABM или SABME, станция определяет, что она не может перейти в требуемый режим, то она должна передать ответ DM. Если ответ DM принят правильно, то станция, принявшая его, должна считать, что на удаленной станции возникла ситуация соперничества, т.е. одна из станций передала SABM, в то время как противоположная станция передала SABME. В этом случае приоритет отдается станции, передавшей SABME. Поэтому станция, правильно принявшая DM, прекращает отсчет тайм-аута T1 и анализирует, какую команду она передавала. Если ранее была передана SABM, то станция передает SABME, если же была передана SABME, то передача SABME повторяется. В обоих случаях после передачи SABME вновь начинается отсчет тайм-аута T1.
Если команда SABM (SABME) и ответы UA или DM не приняты правильно, то они не учитываются. В результате этого на станции, первоначально передавшей SABM (SABME), истечет тайм-аут T1 и эта станция вновь должна передать SABM (SABME) и вновь начать отсчет тайм-аута T1. Эта последовательность операций может продолжаться до тех пор, пока не будет правильно принят ответ UA или DM или пока не истечет допустимое время установления соединения (T2). Если тайм-аут Т2 истек, то станция сообщает об этом источнику и переходит в фазу «Логическое разъединение». Если во время выполнения фазы «Установление соединения» станция правильно примет из НК кадр, содержащий команду DISC, станция должна прекратить счет тайм-аутов T1 и Т2 и перейти в фазу «Завершение соединения».
Если станция, первоначально передавшая в НК кадр с SABM (SABME) и не получившая ожидаемого ответа (кадр с DM, UA, SABM или SABME), правильно принимает кадр с SIM, то она должна передать ответ DM, остановить отсчет тайм-аутов T1 и T2 и перейти в фазу «Логическое разъединение» (столкновение команд), сообщив об этом источнику информации.
Принятые станцией другие кадры, не упоминавшиеся в п. 6.2, не должны учитываться. Временное заполнение между кадрами должно производиться посредством непрерывной передачи комбинации «Флаг» по ГОСТ 25873-83.
Описанная процедура в фазе «Установление соединения» должна производиться с использованием нерасширенного формата кадра, если предыдущей была фаза «Логическое разъединение».
6.3. Для выхода станций из фазы «Установление соединения» необходимо наступление хотя бы одного из следующих событий:
правильный прием из НК ответа UA на переданную команду SABM или SABME с битом F, равным значению бита Р в переданной команде (переход в фазу «Перенос информации»);
передача в НК ответа UA на правильно принятую команду SABM или SABME (переход в фазу «Перенос информации»);
истечение тайм-аута Т2 (переход в фазу «Логическое разъединение»);
правильный прием из НК команды DISC (переход в фазу «Завершение соединения»);
передача в НК ответа DM в результате столкновения команд (переход в фазу «Логическое разъединение»).
7.1. Для перехода станции звена ПД в фазу «Перенос информации» необходимо наступление хотя бы одного из следующих событий:
правильный прием из НК ответа UA на команду SABM или SABME;
передача в НК ответа UA на правильно принятую команду SABM или SABME.
Некоторые состояния пересекаются во времени, так как события, их вызывающие, могут наступать одновременно, но каждая из станций одновременно может находиться не более чем в двух состояниях. Если станция находится более чем в одном состоянии, то она должна выполнять действия, предписанные каждым состоянием, но не выполнять действий, запрещенных хотя бы одним состоянием.
7.3. Состояние «Передача» обусловлено отсутствием искажений информации в НК и отсутствием нарушений в работе станции. Данные, полученные от источника информации, размещаются в информационной области I-кадра и передаются по НК. Удаленная станция, получив I-кадр, передает содержимое его информационной области получателю. Та же процедура происходит в противоположном направлении. Для обеспечения идентичности порядка получения данных от источника и выдачи ее получателю I-кадры нумеруются таким образом, что каждый следующий I-кадр с «новой» информацией от источника имеет номер, на единицу больше предыдущего. Нумерация I-кадров циклически повторяется по модулю М - от нуля до значения М - 1. За правильностью нумерации передаваемых I-кадров следит переменная V1, которая указывает номер следующего по порядку I-кадра с «новой» информацией от источника, предназначенного для передачи. Значение V1 помещается на место N1 области управления передаваемого I-кадра. Каждый раз после передачи очередного I-кадра с «новой» информацией N1 увеличивается на единицу.
При приеме станция следит за номерами принимаемых I-кадров и выдает получателю информации содержимое их информационной области в строгом соответствии с установленным порядком следования номеров I-кадров. За этим порядком следит переменная V2, обозначающая номер I-кадра, который должен быть принят (ожидаемый кадр). При правильном приеме станцией ожидаемого кадра значение V2 увеличивается на единицу.
Вследствие воздействия ошибок в НК, некоторые кадры, переданные одной станцией, принимаются удаленной станцией искаженными. Факт искажения кадра определяется по результатам его декодирования.
Возможность приема искаженных I-кадров приводит к необходимости их подтверждения (квитирования). Подтверждение правильно принятых I-кадров производится передачей номера следующего, ожидаемого к приему I-кадра. Этот номер, равный V2, помещается на месте N2 области управления I-кадра. Подтверждение носит групповой характер, т.е. подтверждаются и все ранее принятые кадры с номерами, меньшими или равными (по модулю М) N2 - 1. Если станция не может послать I-кадр из-за отсутствия данных у источника, то она может подтвердить правильный прием ожидаемого кадра посредством передачи S-кадра с командой или ответом RR с соответствующим обратным номером N2.
Удаленная станция, получив без искажений I-кадр, кадры RR, RNR, а также REI, отмечает, что все ранее переданные ей I-кадры с номерами, меньшими либо равными N2 - 1, в принятом кадре подтверждены. Это означает, что номера подтвержденных I-кадров могут использоваться в дальнейшем для нумерации I-кадров с «новой» информацией от источника. Кроме того, при правильном приеме кадров RR, RNR, REI производятся другие действия в соответствии с их функциональным назначением.
С целью исключения неопределенности при приеме I-кадров запрещается передавать станции в НК I-кадры с «новой» информацией от источника и номером N1, равным одному из номеров неподтвержденных I-кадров. Таким образом, по одному направлению передачи не может находиться в обращении два I-кадра с разной информацией, но одинаковыми номерами N1, т.е. количество переданных, но не подтвержденных I-кадров не должно превышать М. С той же целью вводится еще более жесткое условие, которое ограничивает число переданных, но не подтвержденных I-кадров величиной М - 1.
Максимальное число переданных, но не подтвержденных I-кадров, называемое «окном» (К), определяется внутренними параметрами станции (ее памятью). Значение К может меняться от единицы до М - 1 включительно. Если станция обнаружила, что число переданных в НК, но не подтвержденных I-кадров равно К, она не имеет права передавать в НК I-кадры с «новой» информацией от источника, а имеет возможность лишь повторять переданные ранее в НК I-кадры.
7.4. Состояние «Занято» возникает, когда станция по внутренним причинам не может обработать принятый без ошибки ожидаемый I-кадр. Такой причиной может быть, например, отсутствие резервов памяти для хранения принятого I-кадра. После перехода в состояние «Занято» станция должна как можно скорее передать удаленной станции S-кадр с командой или ответом RNR, тем самым вводя на удаленной станции состояние «Приостанов».
Находясь в состоянии «Занято», станция должна принимать и обрабатывать S-кадры, а также области адреса и управления правильно принятого I-кадра и должна передать кадр, содержащий ответ RNR, с битом F, равным единице, если она приняла правильно S- или I-кадр с битом Р, равным единице. Станция не должна увеличивать переменную V2.
В состоянии «Занято» станция не имеет права передавать никаких других S-кадров, кроме RNR, но может передавать I-кадры.
Если в состоянии «Занято» станция обнаружит, что она может принять I-кадр (например при правильном его приеме), то она выходит из состояния «Занято» и выводит из состояния «Приостанов» удаленную станцию, передав ей кадр, содержащий ответ RR, REI или SREI в зависимости от состояния, в которое она перешла. Если из состояния «Занято» станция переходит в состояние «Передача», то удаленной станции передается кадр, содержащий ответ RR; если станция переходит в состояние «Блокировка», то удаленной станции в зависимости от ее режима передается кадр, содержащий ответы REI или SREI.
7.5. Состояние «Приостанов» возникает на станции в результате правильного приема S-кадра, содержащего команду или ответ RNR.
В состоянии «Приостанов» станция не имеет права передавать I-кадры, кроме самого «старого» из неподтвержденных I-кадров, т.е. I-кадра с номером N1, равным обратному номеру N2 в последнем правильно принятом I- или S-кадре.
Повторение самого «старого» I-кадра производится с битом Р, равным единице, периодически с максимальной частотой передачи бита Р, равного единице, как указано в п. 2.6. Периодическое повторение самого «старого» I-кадра с битом Р, равным единице, станцией в состоянии «Приостанов» имеет две цели: попытка вывести удаленную станцию из состояния «Занято», так как для удаленной станции этот кадр является ожидаемым, и запрос о состоянии удаленной станции, так как на каждый кадр с битом Р, равным единице, удаленная станция обязана ответить S-кадром с битом F, равным единице в состоянии «Занято».
Примечание. Допускается вместо самого «старого» I-кадра передавать S-кадр с битом Р, равным единице.
Станция должна выйти из состояния «Приостанов», правильно приняв S-кадр, содержащий команду или ответ RR, REI или SREI.
Состояния «Занято» и «Приостанов» являются взаимно связанными для двух станций звена ПД. Следует отметить, что каждая станция может находиться одновременно в состоянии «Приостанов» и «Занято», если состояние «Занято» возникло на обеих станциях.
7.6. Состояние «Блокировка» обусловлено искажением кадров в НК. Если в принятом кадре обнаружена ошибка, то этот кадр не анализируется. То, что искаженный ошибкой кадр был I-кадром, может быть определено при правильном приеме следующего I-кадра, если прямой номер его N1 не равен номеру ожидаемого кадра.
Станция, правильно принявшая неожидаемый I-кадр, переходит в состояние «Блокировка», если она не находится в состоянии «Занято». Состояние «Блокировка» характеризуется тем, что информационная область ни одного из принятых I-кадров не может быть отдана потребителю (чтобы не нарушить порядок вывода информации). При этом в состоянии «Блокировка» значение переменной V2 не изменяется. Чтобы восстановить порядок вывода информации потребителю, необходимо потребовать от станции, передавшей исказившийся I-кадр, повторить его. Поэтому станция, передающая I-кадры, должна хранить их копии у себя до тех пор, пока они не будут подтверждены.
При повторении I-кадра должен быть сохранен его прямой номер и область информации. Значения бита P/F, номера N2, областей адреса и проверочной могут быть изменены в соответствии с требованиями РОС.
Вводятся четыре режима повторения I-кадров методом РОС: основной (В), квазиадресный (К), селективный (С), адресный (А). Каждый режим может быть использован как самостоятельно, так и совместно с другими режимами повторения.
Режим В основан на использовании правил передачи бита P/F (п. 2.6). Посылая кадр с битом Р, равным единице, станция должна начать отсчет тайм-аута ожидания ответа Т1. Если удаленная станция, правильно приняв кадр с битом Р, равным единице, находится в состоянии «Блокировка», то она ответной передачей I- или S-кадра с битом F, равным единице, не подтвердила все переданные ей I-кадры до кадра, переданного с битом Р, равным единице, включительно. Поэтому, правильно приняв I- или S-кадр с битом F, равным единице, станция анализирует его обратный номер N2. Если N2 подтверждает все I-кадры, переданные до кадра с битом Р, равным единице, включительно, то повторение I-кадров не производится. Если N2 не подтверждает хотя бы один I-кадр из переданных до кадра с битом Р, равным единице, включительно, то станция должна организовать повторение всех неподтвержденных I-кадров, начиная с I-кадра, номер которого равен номеру N2 в принятом I- или S-кадре с битом F, равным единице. Для этого станция должна установить переменную V1 в значение N2 в принятом I- или S-кадре с битом F, равным единице.
Если в момент принятия решения о повторении I-кадров, передавался другой I-кадр, то передача его прерывается путем передачи в НК последовательности не менее семи, но не более четырнадцати битов «единица». После окончания повторения станция должна продолжить передачу I-кадров с «новой» информацией. Такое повторение не производится, если уже подтвержден I-кадр, переданный с битом Р = 1, до приема кадра с битом F = l или, если уже происходило повторение в результате приема кадра REI, SREI или AREI с битом P/F, равным нулю, внутри промежутка времени, определяемом циклом передачи кадра с битом Р, равным единице, и приемом ответа с битом F, равным единице, или, если в принятом кадре с битом F, равным единице, содержится ответ REI, SREI или AREI. В последнем случае повторение I-кадров осуществляется с функциональным назначением принятого ответа.
В результате правильного приема I- или S-кадра с битом F, равным единице, отсчет тайм-аута Т1 на станции должен быть прекращен. Получив без ошибок первый из повторенных кадров, станция-отправитель кадра с битом F, равным единице, снимает состояние «Блокировка».
Если кадр с битом Р, равным единице, или ответ с битом F, равным единице, приняты с ошибкой, то они не учитываются. В результате на станции, передавшей кадр с битом Р, равным единице, истечет тайм-аут Т1. После истечения тайм-аута T1 станция имеет возможность повторить передачу кадра с битом Р, равным единице.
В состоянии «Блокировка» в режиме В станция не должна учитывать информационную область правильно принятого I-кадра, но должна анализировать область управления этого кадра с целью получения подтверждения еще не подтвержденных I-кадров, работы с битом P/F и выявления ожидаемого I-кадра.
В состоянии «Блокировка» переменная V2 не должна меняться.
Режим К аналогичен режиму В, но позволяет станции в состоянии «Блокировка», не дожидаясь передачи кадра с битом F, равным единице, инициировать на удаленной станции повторение искаженных I-кадров. При режиме повторения К, обнаружив состояние «Блокировка», станция должна как можно скорее передать кадр, содержащий команду или ответ REI, в котором N2 предполагается равным номеру ожидаемого кадра (т.е. значению переменной V2). Одновременно станция может начать отсчет тайм-аута Т3 (использование Т3 - необязательно). Удаленная станция, правильно приняв кадр с REI, устанавливает переменную V1 в значение N2 в принятом кадре и начинает повторять все неподтвержденные I-кадры, начиная с I-кадра с номером V1. Если в момент приема кадра с REI передавался другой I-кадр, то передача его прерывается так же, как описано выше. После окончания повторения станция должна продолжить передачу I-кадров с «новой» информацией.
Повторение кадров не происходит, если в момент приема REI производится повторение I-кадров в режиме В и факт приема REI игнорируется.
Получив без ошибок первый из повторенных I-кадров, станция - отправитель REI определяет, что его номер равен ожидаемому, и поэтому снимает состояние «Блокировка» и переходит в состояние «Передача», а также прекращает отсчет тайм-аута Т3, если он был включен одновременно с передачей кадра с REI.
Если кадр, содержащий REI, или первый из повторяемых I-кадров приняты с ошибкой, то на станции, передавшей кадр с REI, состояние «Блокировка» сохранится. Если при этом истечет тайм-аут Т3 или закончится цикл передачи бита P/F, начатые одновременно, или после передачи кадра REI, или истечет соответствующий этому циклу тайм-аут Т1, то кадр, содержащий REI, может быть передан повторно и вновь начат отсчет тайм-аута Т3. Остальные действия станции в состоянии «Блокировка» при режиме В.
Режим С позволяет повторить на один запрос только один I-кадр. Обнаружив состояние «Блокировка» при режиме повторения С, станция должна как можно быстрее послать кадр, содержащий команду или ответ SREI, в котором N2 предполагается равным номеру ожидаемого кадра. Одновременно станция может начать отсчет тайм-аута Т3. Удаленная станция, правильно приняв кадр с SREI, повторяет I-кадр с номером N1, равным номеру N2 в принятом кадре с SREI, и далее продолжает передачу I-кадров.
Станция - отправитель кадра с SREI в состоянии «Блокировка» запоминает правильно принятые другие I-кадры с номерами, отличными от номера ожидаемого кадра на значение, не большее К.
Правильно приняв повторенный по запросу ожидаемый I-кадр, станция снимает состояние «Блокировка», останавливает отсчет тайм-аута Т3 и переходит в состояние «Передача». После этого станция может выдать получателю информации информационные области других накопленных I-кадров, если их номера удовлетворяют принятому порядку следования. При выдаче получателю информации информационной области каждого из накопленных I-кадров переменная V2 должна быть увеличена на единицу. Если номера накопленных I-кадров не удовлетворяют принятому порядку следования, то состояние «Блокировка» возобновляется.
Если в состоянии «Блокировка» истечет тайм-аут Т3 или закончен цикл передачи бита P/F, начатые одновременно или после передачи кадра SREI, или истечет соответствующий этому циклу тайм-аут T1, то станция может повторить передачу кадра, содержащего SREI, с номером N2, равным номеру ожидаемого кадра, и начать отсчет тайм-аута Т3 вновь.
Если в состоянии «Блокировка» в режиме С возникнет необходимость в передаче ответа с битом F в значении единица, то в качестве такого ответа должен быть передан кадр с SREI с номером N2, равным номеру ожидаемого I-кадра. При этом отсчет тайм-аута Т3 не начинается вновь, если кадр с SREI был в состоянии «Блокировка» уже передан с битом Р, равным нулю или единице, или с битом F, равным нулю. Если станция приняла кадр с SREI с битом F, равным единице, она должна его проигнорировать, если до этого она получила кадр с SREI с битом Р, равным нулю или единице, или с битом F, равным нулю, с тем же номером N2, что и в только что принятом кадре с SREI. Таким образом, исключается возможность повторения I-кадров в результате приема кадра с битом F, равным единице, если до этого было осуществлено повторение в результате приема кадра с SREI.
Режим А, так же как и режим С, позволяет повторить на один запрос только один I-кадр. Обнаружив состояние «Блокировка» при режиме повторения А, станция должна как можно быстрее послать серию кадров с AREI, в которых N2' принимает значение номеров непринятых I-кадров. По мере правильного приема неожидаемых I-кадров станция должна передать кадры с AREI и номерами других непринятых I-кадров. Номера непринятых станций I-кадров находятся внутри промежутка, ограниченного снизу значением переменной V2 включительно, и сверху - наибольшим значением номера N1 последнего правильно принятого из НК I-кадра. При передаче кадров AREI используется тайм-аут Т3, который ведет отсчет времени после передачи кадра, содержащего AREI, с наибольшим (по модулю М) N2'. Для этого при передаче каждого кадра, содержащего AREI, станция должна вновь начать отсчет Т3. Станции в состоянии «Блокировка» до истечения тайм-аута Т3 запрещается посылать кадры, содержащие AREI с одними и теми же номерами N2'.
Правильно приняв кадр с AREI, удаленная станция повторяет I-кадр с номером N1, равным N2' в принятом кадре и если других кадров с AREI не поступило, продолжает передачу I-кадров.
Станция - отправитель кадров с SREI в состоянии «Блокировка» запоминает правильно принятые другие I-кадры с номерами, отличными от номера ожидаемого кадра на величину, не больше К.
Правильно приняв повторенный по запросу ожидаемый I-кадр, станция снимает состояние «Блокировка», прекращает отсчет тайм-аута Т3' и переходит в состояние «Передача». После этого станция может выдать получателю информационные области других накопленных I-кадров, если их номера удовлетворяют принятому порядку следования. При выдаче получателю информационной области каждого из накопленных I-кадров, переменная V2 должна быть увеличена на единицу. Если номера накопленных кадров не удовлетворяют принятому порядку следования, то состояние «Блокировка» возобновляется.
Если в состоянии «Блокировка» истечет тайм-аут Т3, то станция может повторно передать кадры, содержащие AREI, с номерами N2', равными номерам непринятых I-кадров, и вновь начать отсчет тайм-аута Т3.
Если в состоянии «Блокировка» в режиме А возникнет необходимость в передаче ответа с битом F в значении единица, то в качестве такого ответа должен быть передан кадр с AREI с номером N2', равным номеру N2' в предыдущем переданном кадре с AREI или номеру ожидаемого I-кадра, если до этого в состоянии «Блокировка» кадры с AREI не посылались. Остальные действия по приему и передаче кадров с AREI и с битом F в значении единица такие же, как для кадров с SREI.
В состоянии «Блокировка» станция может передавать I- и S-кадры.
7.7. Состояние «Временная выдержка» обусловлено длительным воздействием ошибок на НК, либо передачей одиночных I-кадров в НК. В первом случае станция может длительное время не получать от удаленной станции ни подтверждений, ни запросов на повторение I-кадров. Во втором случае при поражении одиночного или последнего в последовательности I-кадра удаленная станция не сможет перейти в состояние «Блокировка» и передать кадры, содержащие REI, SREI или AREI.
Для того, чтобы обнаружить описанные ситуации, каждая станция должна следить за временем ожидания сигнала РОС (команд/ответов RR, RNR, REI, SREI, I) на переданные ранее I-кадры. Истечение времени ожидания сигнала РОС служит основанием для перехода станции в состояние «Временная выдержка». Для отсчета времени ожидания сигнала РОС служит уже упоминавшийся ранее тайм-аут Т1. Кроме причин, приведенных в п. 2.6, отсчет тайм-аута T1 должен быть начат при передаче I-кадра, если до этого отсчет этого тайм-аута был прекращен. Отсчет тайм-аута T1 должен быть прекращен при обнаружении в правильно принятом кадре номера N2, подтверждающего хотя бы один из неподтвержденных I-кадров. При этом отсчет тайм-аута T1 должен быть начат вновь, если после получения подтверждения остался хотя бы один неподтвержденный I-кадр. Кроме того, отсчет тайм-аута T1 прекращается всегда, если правильно принят кадр, с битом F, равным единице, независимо от принятого в нем номера N2. Таким образом, отсчет тайм-аута T1 ведется всегда, если на станции есть переданные, но не подтвержденные I-кадры.
По истечении тайм-аута T1 и наличии неподтвержденных I-кадров станция переходит в состояние «Временная выдержка», если она не находится в состоянии «Приостанов». В состоянии «Временная выдержка», так же как и в состоянии «Приостанов», станция не имеет права передавать I-кадры, кроме самого «старого» I-кадра с битом Р, равным единице. Передав этот I-кадр, станция по описанной стратегии включит тайм-аут Т1 и, кроме того, тайм-аут Т2. Выход из состояния «Временная выдержка» происходит при правильном приеме S-кадра с битом F, равным единице. В этом случае станция прекращает отсчет тайм-аутов Т1 и Т2, переходит в состояние «Передача», и производит повторение неподтвержденных I-кадров методом В или передачу I-кадров с «новой» информацией, если все I-кадры подтверждены.
Если переданный I-кадр с битом Р, равным единице, или ответ на него с битом F, равным единице, исказятся в НК и, следовательно, будут не приняты, то на станции, передавшей кадр с битом Р, равным единице, истечет тайм-аут Т1. На основании этого станция должна повторно передать самый «старый» I-кадр с битом Р, равным единице, и вновь начать отсчет тайм-аута Т1. Эта процедура будет повторяться до тех пор, пока не будет правильно принят S-кадр с битом F, равным единице, или не истечет тайм-аут Т2. В последнем случае станция должна о случившемся сообщить источнику информации, прекратить отсчет тайм-аутов T1 и Т2 и перейти в фазу «Завершение соединения».
Примечание. Вместо самого «старого» I-кадра допускается передавать S-кадр с битом Р, равным единице.
7.8. Состояние «Неприем кадра» возникает при наличии в кадре необнаруженной циклическим кодом ошибки. Этот редкий случай возможен либо в результате воздействия на кадр ошибок в НК, либо в случае сбоя звена ПД на одной из станций.
В случае приема свободного от ошибок кадра, содержащего недействительную команду или ответ в области управления, либо содержащего неприменяемый формат, либо с информационной областью, превышающей допустимую, либо с недействительным N2 (см. п. 3.10) на станции вводится состояние «Неприем кадра», при этом снимается любое другое состояние и прекращается отсчет тайм-аутов Т1 и Т2. После введения состояния «Неприем кадра» на удаленную станцию посылается кадр, содержащий ответ FRMR, с причиной некорректной ситуации либо кадр, содержащий команду RSET сообщает об этом источнику информации.
Кадр с RSET станция может передать, если состояние «Неприем кадра» обусловлено приемом кадра с недействительным номером N2. В остальных случаях станция должна передать ответ FRMR.
В состоянии «Неприем кадра» станция не обрабатывает никакие I- и S-кадры, за исключением номера N2 и бита P/F, в правильно принятых I- и S-кадрах. В этом состоянии станция не должна передавать никакие I- и S-кадры. В ответ на любой правильно принятый I- и S-кадр может повторяться ранее переданный кадр с FRMR.
Станция, правильно принявшая кадр с FRMR, сообщает источнику-получателю о факте приема ответа FRMR и передает команду SABM или SABME, вводя обе станции звена ПД в процедуру «Установление соединения».
Передав кадр с RSET, станция должна начать отсчет тайм-аута. Удаленная станция, приняв без ошибки кадр с RSET, должна обнулить переменную V2 и передать ответ UA. Правильно приняв ответ UA на ранее переданную команду RSET, станция должна обнулить переменную V1 и перейти из состояния «Неприем кадра» в состояние «Передача». При этом все неподтвержденные I-кадры должны быть возвращены источнику информации или уничтожены. Если команда RSET или ответ UA не приняты правильно, они не учитываются. В результате этого на станции, передавшей RSET, истечет тайм-аут T1. В этом случае станция должна прекратить отсчет тайм-аута T1 и передать ответ FRMR.
Состояние «Неприем кадра» может быть устранено либо в результате приема команды SABM (SABME), либо в результате приема команды DISC, либо в результате приема команды SIM. В первом случае станция переходит в фазу «Установление соединения», во втором - в фазу «Завершение соединения», в третьем - в фазу «Инициация». Состояние «Неприем кадра» может быть устранено также в результате приема команды RSET, если это состояние не было обусловлено приемом кадра с недействительным номером N2.
7.9. Во всех состояниях фазы «Перенос информации» станция по сигналу от источника информации должна передать ответ RD. Передача такого ответа означает, что у источника информации нет больше информации для передачи на удаленную станцию и он ждет окончания такой передачи в свою сторону и завершения соединения. Удаленная станция, правильно приняв кадр с RD, должна сообщить об этом получателю информации.
Во всех состояниях фазы «Перенос информации», кроме состояния «Приостанов», станция может по сигналу источника информации передать кадр с UI. Удаленная станция, приняв кадр с UI, должна сообщить об этом получателю информации.
Принятые станцией другие кадры, не упоминавшиеся в пп. 7.2 - 7.10, не должны учитываться. Временное заполнение между кадрами должно производиться посредством непрерывной передачи комбинации «Флаг» по ГОСТ 25873-83.
правильный прием от удаленной станции кадра, содержащего команду SABM или SABME (переход в фазу «Установление соединения»);
правильный прием от удаленной станции кадра, содержащего команду DISC (переход в фазу «Завершение соединения»);
правильный прием от удаленной станции кадра, содержащего команду SIM (переход в фазу «Инициация»);
получение от источника информации сигнала о необходимости завершить соединение (переход в фазу «Завершение соединения»);
получение из НК кадра, содержащего ответ DM (переход в фазу «Логическое разъединение»).
Примечание. После выхода станции из фазы «Перенос информации» оставшиеся неподтвержденные I-кадры остаются неподтвержденными. Эти I-кадры в дальнейшем могут быть уничтожены или переданы источнику информации.
8.1. Для перехода станции в фазу «Завершение соединения» необходимо наступление хотя бы одного из следующих событий:
получение от источника информации сигнала о необходимости завершения соединения;
прием без ошибок кадра, содержащего команду DISC;
8.2. Любая из станций, получив сигнал от источника информации, должна перейти в фазу «Завершение соединения», после чего она как можно скорее должна передать кадр, содержащий команду DISC, и включить тайм-ауты T1 и Т2. Удаленная станция, правильно приняв кадр с DISC, должна перейти в фазу «Завершение соединения», сообщить о факте приема команды DISC источнику - получателю информации и передать в НК кадр, содержащий ответ UA.
Станция, передавшая в НК кадр, содержащий ответ UA, на принятую команду DISC переходит в фазу «Логическое разъединение».
Станция, правильно принявшая кадр, содержащий ответ UA или DM, на переданную команду DISC должна прекратить отсчет тайм-аутов T1 и Т2, перейти в фазу «Логическое разъединение».
Если кадр с командой DISC или кадр с ответом UA или DM не приняты правильно, то они не учитываются. В результате на станции, передавшей кадр с DISC, истечет тайм-аут T1, после чего эта станция должна передать кадр с DISC повторно и снова начать отсчет тайм-аута T1. Указанная последовательность действий может продолжаться, пока станция не примет без ошибок кадр с ответом UA или DM или не истечет тайм-аут Т2. В последнем случае станция должна прекратить отсчет тайм-аутов T1 и Т2, перейти в фазу «Логическое разъединение» и сообщить об этом источнику - получателю информации.
Если, передав кадр с DISC и не получив ожидаемого ответа, станция правильно примет кадр с SABM (SABME) или с SIM (столкновение команд), то она не должна их учитывать.
Кадры, содержащие команды или ответы, не упомянутые в настоящем разделе, станция не должна учитывать. Временное заполнение между кадрами осуществляется путем непрерывной передачи комбинаций «Флаг».
8.3. Для выхода станции из фазы «Завершение соединения» необходимо наступление хотя бы одного из следующих событий:
правильный прием кадра, содержащего ответ UA или DM, в ответ на переданный кадр с DISC (переход в фазу «Логическое разъединение»);
передача кадра с ответом UA на правильно принятый кадр с командой DISC (переход в фазу «Логическое разъединение»);
истечение тайм-аута Т2 (переход в фазу «Логическое разъединение»).
Справочное
|
Термин |
Пояснение |
|
1. Станция передачи данных |
Совокупность оконечного оборудования и аппаратуры передачи данных |
|
2. Звено передачи данных |
Совокупность канала передачи данных и двух или более станций передачи данных, подключенных к этому каналу и одновременно участвующих в передаче данных |
|
3. Балансные процедуры управления звеном ПД |
Процедуры управления двухпунктовым звеном ПД, при котором станции звена ПД, называемые комбинированными, равноправны и ответственны за управление передачей в звене ПД |
|
4. Несбалансированные процедуры управления звеном ПД |
Процедуры управления звеном ПД, при которых станции звена ПД неравноправны и только одна из станций (первичная) ответственна за управление передачей в звене ПД |
|
5. Команда |
Предписание, относящееся к управлению звеном ПД, содержащееся в области управления кадра и передаваемое первичной или комбинированной станцией |
|
6. Ответ |
Сообщение о выполнении команды, содержащееся в области управления кадра и передаваемое вторичной или комбинированной станцией |
|
7. Фаза процедур управления звеном ПД Фаза |
Часть процедуры управления звеном ПД, выполняющая законченную функцию и несовпадающая во времени ни с какой другой фазой. Примечание. Совокупность всех фаз определяет полностью процедуру управления звеном ПД |
|
8. Состояние фазы процедуры управления звеном ПД Состояние |
Часть процедур, входящая в фазу, выполняющая законченную функцию внутри фазы |
Рекомендуемое
1. Предусматриваемые настоящим стандартом элементы процедур ПД и защиты от ошибок позволяют создать набор балансных процедур управления двухточечным звеном ПД для двустороннего одновременного обмена информацией по НК. Каждая из процедур набора должна полностью обеспечивать обмен информацией по каналу ПД, организованному на базе ЕАСС в соответствии с ГОСТ 22348-77.
2. Каждая процедура основывается на использовании базовой совокупности команд и ответов и некоторых из дополнительных команд. Базовая совокупность команд и ответов приведена в табл. 1.
Таблица 1
|
Обозначение ответа базовой совокупности |
|
|
I |
I |
|
RR |
RR |
|
RNR |
RNR |
|
SABM |
UA |
|
DISC |
DM |
|
FRMR |
Все команды и ответы базовой совокупности должны размещаться в кадрах с нерасширенным форматом области управления и проверочной областью, получаемой при кодировании полиномом циклического кода x16 + x12 + x5 + 1.
3. Использование дополнительных команд (ответов) совместно с базовыми командами (ответами) позволяет реализовать ряд дополнительных функций процедур. Допускаемые варианты дополнительных функций приведены в табл. 2.
Таблица 2
|
Дополнительные функции |
Дополнительные команды и ответы |
Команды и ответы, изымаемые из базовой совокупности |
|
|
1 |
Обмен последовательностями идентификации и (или) характеристиками станций |
Команда XID ответ XID |
Нет |
|
2 |
Квазиадресный режим повторения I-кадров |
Команда REI ответ REI |
Нет |
|
3 |
Селективный режим повторения I-кадров |
Команда SREI ответ SREI |
Нет |
|
4 |
Обмен информацией без влияния на номера I-кадров |
Команда UI ответ UI |
Нет |
|
5 |
Обмен параметрами и (или) программами - фаза «Инициация» |
Команда SIM ответ RIM |
Нет |
|
6 |
Запрос передачи состояния удаленной станции |
Команда UP |
Нет |
|
7 |
Использование кадра с областью адреса, состоящего более чем из одного байта |
Кадры с расширенным форматом области адреса |
Кадры с нерасширенным форматом области адреса |
|
8 |
Ограничение использования I-кадра только в качестве команды |
Нет |
Ответ I |
|
9 |
Ограничение использования I-кадра только в качестве ответа |
Нет |
Команда I |
|
10 |
Использование нумерации кадров по модулю 128 |
Кадры с расширенным форматом области управления, команда SABME |
Кадры с нерасширенным форматом области управления, команда SABM |
|
11 |
Установление на нуль переменных V1 и V2, относящихся только к одному направлению потока информации |
Команда RSET |
Нет |
|
12 |
Тестирование звена ПД |
Команда TEST ответ TEST |
Нет |
|
13 |
Запрос логического разъединения |
Ответ RD |
Нет |
|
14 |
Повышение надежности доставки информации |
Кадры с проверочной областью, образованной кодированием полиномом циклического кода 32-й степени |
Кадры с проверочной областью, образованной кодированием полиномом циклического кода 16-й степени |
|
15 |
Адресный режим повторения I-кадров |
Команда AREI ответ AREI |
Нет |
4. Рекомендуемый набор включает процедуры, реализующие различные сочетания дополнительных функций, и процедуру без дополнительных функций. Рекомендуемый набор процедур приведен в табл. 3.
Таблица 3
|
Обозначение процедуры |
Режим повторения |
|
|
1 |
ВАС |
В |
|
2 |
ВАС, 2, 8 |
В, к |
|
3 |
ВАС, 3, 10 |
В, с |
|
4 |
ВАС, 1, 2, 12 |
В, к |
|
5 |
ВАС, 1, 10, 12, 15 |
В, А |
|
6 |
ВАС, 1, 2, 4, 12 |
В, К |
|
7 |
ВАС, 2, 10 |
В, К |
Примечание. Обозначение процедуры в табл. 3 состоит из заглавных букв ВАС (Balanced asynchronous classe - балансный асинхронный класс) и номеров вариантов дополнительных функций (см. табл. 2), разделенных запятой. Например, процедура, обозначенная ВАС, 2, 8, является балансной асинхронной процедурой с использованием вариантов 2, 8 дополнительных функций по табл. 2, т.е. команд и ответов, приведенных в табл. 1, кроме ответов I и дополнительно команды и ответа REI для квазиадресного повторения I-кадров.
5. Рекомендации по использованию режимов повторения и по предельным значениям параметров процедур, приведенных в табл. 3 применительно к различным типам каналов связи, даны в табл. 4.
Таблица 4
|
L/tp, тыс. км/мс, не более |
В, бит/с, не более |
Режим повторения |
nmax, байт |
nu max, байт |
M |
НД, кадров/байт |
Нп, кадров/байт |
T1, с |
|
|
Каналы ТЧ кабельных, радиорелейных, тропосферных линий связи (P £ 10-3) |
13/100 |
4800 |
К, В |
132 |
128 |
8 |
4/512 |
1/128 |
0,9 |
|
3/24 |
9600 |
к, в |
132 |
128 |
8 |
4/512 |
1/128 |
0,4 |
|
|
10/80 |
1200 |
к, в |
- |
- |
- |
- |
- |
- |
|
|
2400 |
|||||||||
|
Каналы ТЧ спутниковых линий связи (P £ 10-3) |
90/300 |
200 |
с |
132 |
128 |
128 |
8/1024 |
8/1024 |
16,5 |
|
90/300 |
1200 |
с |
132 |
128 |
128 |
8/1024 |
8/1024 |
3,3 |
|
|
90/300 |
4800 |
с |
133 |
128 |
128 |
12/1536 |
12/1536 |
1,3 |
|
|
90/300 |
9600 |
с |
133 |
128 |
128 |
18/2304 |
18/2304 |
1,0 |
|
|
Каналы ТЧ коротковолновые с обратной боковой полосой (KB - ОБП) линий связи (P £ 10-2) |
20/66 |
200 |
А |
20 |
16 |
128 |
8/128 |
8/128 |
2,6 |
|
3/10 |
1200 |
А |
20 |
16 |
128 |
8/128 |
8/128 |
0,5 |
|
|
3/10 |
2400 |
А |
20 |
16 |
128 |
8/128 |
8/128 |
0,3 |
|
|
10/33 |
2400 |
А |
20 |
16 |
128 |
8/128 |
8/128 |
0,3 |
|
|
20/65 |
2400 |
А |
21 |
16 |
128 |
10/192 |
10/192 |
0,4 |
|
|
3/10 |
4800 |
А |
20 |
16 |
128 |
8/128 |
8/128 |
0,2 |
|
|
Первичный широкополосный канал линий связи (P £ 10-4) |
9/72 |
48000 |
с |
133 |
128 |
128 |
20/2560 |
20/2560 |
0,2 |
|
Физическая цепь (линия) |
0,03/0,24 |
16000 |
к, в |
133 |
128 |
8 |
4/512 |
1/128 |
0,2 |
|
24000 |
0,2 |
||||||||
|
32000 |
0,1 |
||||||||
|
48000 |
0,1 |
Примечания:
1. В табл. 4 использованы следующие условные обозначения:
L - протяженность канала ПД;
tp - время распространения сигнала по каналу ПД;
В - скорость ПД;
Р - вероятность ошибки на бит в канале ПД;
nmax - максимальная длина кадра (при полиноме 16-й степени, без учета флагов);
nu max - максимальная длина информационной области кадра;
М - модуль нумерации;
Nд, Nп - соответственно емкости накопителя передатчика и приемника, необходимые для хранения информации;
T1 - тайм-аут ожидания ответа (T1 = 2tp + 3nmax ∙ 8/B).
2. Значение К (размер «окна») численно равно величине Нд, выраженной числом кадров.
3. Значение времени тайм-аута Т3 численно равно тайм-ауту T1.
4. Значение времени тайм-аута Т2 должно быть кратно значению тайм-аута Т1. Соотношение между этими значениями определяется качеством используемого НК.
Рекомендуемое
Взаимодействия по стыку комбинированной станции (С) с источником - получателем информации (И) происходит посредством логических команд.
Перечень логических команд приведен в таблице.
|
Наименование команды |
Обозначение команды |
Источник команды |
Получатель команды |
Назначение команды |
|
Передать тест |
ST |
И |
С |
Команда формируется при необходимости простейшим образом проверить работоспособность удаленной станции. В справочной части команды может быть начальный адрес и длина тестирующего массива |
|
Ответ на тест |
RT |
с |
И |
Команда формируется при правильном приеме кадра с ответом TEST. В справочной части команды может содержаться начальный адрес и длина принятого тестирующего массива |
|
Не принят ответ на тест |
NT |
с |
и |
Команда формируется по истечении тайм-аута T1 после передачи кадра с командой TEST |
|
Передать идентификацию |
SE |
и |
с |
Команда формируется при необходимости произвести идентификацию удаленной станции. В справочной части команды может содержаться начальный адрес и длина последовательности идентификации |
|
Ответ на идентификацию |
RX |
с |
и |
Команда формируется при правильном приеме кадра с ответом XID. В справочной части команды может содержаться начальный адрес и длина последовательности идентификации |
|
Не принят ответ на идентификацию |
NX |
с |
и |
Команда формируется по истечении тайм-аута T1 после передачи кадра с командой XID |
|
Принята идентификация |
сх |
с |
и |
Команда формируется при правильном приеме кадра с командой XID. В справочной части команды может содержаться начальный адрес и длина последовательности идентификации |
|
Передать ненумерованный запрос |
SU |
И |
С |
Команда формируется при необходимости определить состояние удаленной станции или получить непереданные ей кадры |
|
Ответ на ненумерованный запрос |
RU |
С |
И |
Команда формируется при правильном приеме кадров с ответом на кадр с UP. В справочной части команды может содержаться начальный адрес и длина принятого ответа |
|
Не принят ответ на ненумерованный запрос |
NU |
С |
и |
Команда формируется в результате истечения тайм-аута Т1 после передачи кадра с командой UP |
|
Ввести параметры на удаленную станцию |
SI |
и |
с |
Команда формируется при необходимости ввести параметры и (или) программы на удаленную станцию, т.е. перейти в фазу «Инициация» |
|
Ввести параметры от удаленной станции |
RI |
и |
с |
Команда формируется при необходимости ввести параметры и (или) программы от удаленной станции |
|
Инициация не произошла |
NI |
с |
и |
Команда формируется в случае непрохождения инициации в результате истечения тайм-аута Т2 или правильного приема кадра с DM |
|
Установить соединение |
SS |
и |
с |
Команда формируется при необходимости установить соединение с удаленной станцией |
|
Соединение установлено |
RS |
с |
и |
Команда формируется при успешном завершении фазы «Установление соединения» так, как после приема ответа UA на ранее переданную команду SABM (SABME) или после передачи ответа UA на правильно принятую команду SABM (SABME) |
|
Соединение не установлено |
NS |
с |
и |
Команда формируется при истечении тайм-аута Т2 или при приеме команды DISC или SIM во время фазы «Установление соединения» |
|
Принята команда об установлении соединения |
CS |
с |
и |
Команда формируется при правильном приеме команды SABM (SABME) |
|
Запрос передачи |
TS |
И |
С |
Команда формируется при наличии у источника информации для передачи на удаленную станцию. В справочной части команды может быть начальный адрес и длина предлагаемого к передаче массива информации |
|
Готов к передаче |
TR |
С |
и |
Команда формируется, если станция готова передать на удаленную станцию следующую порцию информации от источника |
|
Запрос размещения |
АС |
С |
и |
Команда формируется при правильном приеме ожидаемого I-кадра, информационная область которого должна быть выведена потребителю информации. В справочной части команды может быть начальный адрес и длина информационной области принятого I-кадра |
|
Разрешение размещения |
AR |
и |
с |
Команда формируется, если потребитель информации имеет возможность принять от станции очередную порцию информации |
|
Некорректная ситуация |
US |
с |
и |
Команда формируется в случае возникновения некорректной ситуации (см. п. 3.10) на станции |
|
Некорректная ситуация на удаленной станции |
RF |
с |
и |
Команда формируется в случае правильного приема кадра с FRMR. В справочной части команды может содержаться начальный адрес и длина информационной области кадра с FRMR |
|
Готов к разъединению |
SR |
и |
с |
Команда формируется, если у источника нет больше информации для передачи на удаленную станцию |
|
Удаленная станция готова к разъединению |
DR |
с |
и |
Команда формируется при правильном приеме кадра с RD |
|
Вынужденное разъединение |
SD |
с |
и |
Команда формируется в результате истечения тайм-аут» Т2 в фазе «Перенос информации» в результате улучшения характеристик НК |
|
Завершение соединения |
SD |
И |
С |
Команда формируется при необходимости завершить соединение |
|
Удаленная станция завершает соединение |
CD |
С |
и |
Команда формируется при правильном приеме кадра с DISC |
|
Соединение завершено |
RD |
С |
и |
Команда формируется при правильном приеме кадра с UA или DM после передачи кадра с DISC или истечения тайм-аута T2 в фазе «Завершение соединения» |
|
Столкновение команд |
СС |
С |
и |
Команда формируется при обнаружении ситуации «Столкновение команд» |
Рекомендуемое
1. Для облегчения понимания и применения процедур управления звеном ПД дано их графическое представление в виде диаграмм состояний. Диаграмма состояний содержит четыре основных элемента:
фазу;
состояние или субсостояние;
действие;
переход.
2. Пояснение термина «Фаза» приведено в справочном приложении 1, перечень фаз приведен в разд. 1.
В каждый определенный момент времени станция звена ПД может находиться только в одной фазе.
3. Состояние и субсостояние относятся к станции в целом.
Пояснение термина «Состояние» приведено в справочном приложении 1, перечень состояний приведен в разд. 6.
Субсостояние является пересечением двух состояний. В каждый определенный момент времени станция звена ПД может находиться только в одном состоянии или субсостоянии.
Находясь в субсостоянии, станция должна совершать все действия, предписанные каждым из состояний, исключая действия, запрещенные хотя бы одним из состояний, образующих субсостояние.
Взаимоисключающими являются не все состояния, а именно: «Неприем», «Приостанов», «Временная выдержка», а также состояния «Блокировка», «Занято» и «Неприем». Таким образом, состояние «Неприем» исключает все остальные. Кроме того, исключают друг друга состояния, характеризующиеся, в основном, действиями на передаче («Приостанов», «Временная выдержка») или на приеме («Блокировка», «Занято»). Упомянутые четыре состояния не могут быть автономными, но должны с другими состояниями образовывать субсостояния, составляя полный набор действий при приеме и передаче кадров на станции в каждый момент времени. Состояние «Передача» может быть как самостоятельным, так и образовывать субсостояния. Таким образом, на станции в фазе «Перенос информации» в каждый момент времени может быть только одно из следующих состояний и субсостояний:
состояние «Передача» (ПП);
субсостояние «Передача и приостанов» (ПрП);
субсостояние «Передача и временная выдержка» (ВП);
субсостояние «Передача и блокировка» (ПБ);
субсостояние «Передача и занято» (ПЗ);
субсостояние «Приостанов и блокировка» (ПрБ);
субсостояние «Приостанов и занято» (ПрЗ);
субсостояние «Временная выдержка и блокировка» (ВБ);
субсостояние «Временная выдержка и занято» (ВЗ);
состояние «Неприем» (Н).
4. Все действия станции описаны в разд. 4 - 8. Все действия выполняются в записанной последовательности и не могут быть прерваны никакими событиями. Каждое действие может быть инициировано либо фактом приема или передачи кадра, либо сигналом от источника-получателя информации. После выполнения действия или последовательности действий станция может сохранить то же состояние (субсостояние или фазу), а может перейти в другое состояние.
Если факт приема кадра или получение сигнала от источника - получателя информации не приводит ни к каким действиям или к переходам из одного состояния в другое, то в графическом представлении процедур это никак не отображается.
5. Для того чтобы показать, что действие совершается в определенном состоянии, изображение действия или последовательности действий соединяют стрелкой-переходом с изображением соответствующего состояния. Направление стрелки указывает последовательность выполнения элементов процедуры во времени.
После выполнения действия переход соединяет изображение этого действия с изображением состояния, в которое переходит станция. В этом случае стрелка ставится на переходе у изображения состояния.
Переход является условным, если над ним записано событие и (или) условие, вызывающее этот переход. Если таких событий и (или) условий несколько, то изображение каждого события заключается в скобки и соединяется друг с другом знаком дизъюнкции или конъюнкции.
6. В качестве иллюстрации изложенного выше на черт. 1 настоящего приложения приведены два примера изображения диаграмм состояний, не привязанных к конкретной процедуре.
7. Для сжатия изображения диаграммы состояний используется ветвление и объединение переходов.
Ветвление переходов используется в случае, если для выполнения разных действий одно из конъюнктивных условий перехода является общим. В этом случае до ветвления пишется условие общее для обоих переходов, после ветвления пишутся условия, специфичные для каждого перехода. Объединение переходов используется, если в случае разных действий происходит переход в одно и то же состояние, субсостояние или фазу.
На черт. 2 настоящего приложения приведены два примера изображения одной и той же диаграммы состояний - с использованием объединения и ветвления переходов и без их использования.
Примеры изображения основных элементов диаграмм состояний
1 - обозначение фазы; 2 - обозначение состояния или субсостояния; 3 - обозначение действия; 4 - обозначение перехода; Усл. Х - условие Х или событие Х
Черт. 1
Пример использования ветвления
и сборки переходов
а) без использования ветвления и сборки переходов
б) с использованием ветвления и сборки переходов

Черт. 2
8. На черт. 3 - 6 настоящего приложения приведены диаграммы состояний для описанных в стандарте фаз «Логическое разъединение», «Инициация», «Установление соединения», «Завершение соединения» соответственно.
Для представления указанных процедур используются следующие дополнительные условные обозначения:
- символ приема кадра (параметра кадра) из НК;
- символ передачи кадра (параметра кадра) в НК;
- символ присвоения значения переменной;
- невыполнение условия X;
Тx = 0 - отсчет тайм-аута Тх не производится;
Тx = 1 - начат (вновь начат) отсчет тайм-аута Тх;
Тx = е - тайм-аут Тx истек;
- сигнал от источника информации или к источнику
информации в соответствии с рекомендуемым приложением 3;
р = 1 - принята (передана) команда с битом Р, равным единице;
X(Р) - принята (передана) команда X;
X(F) - принят (передан) ответ X.
9.
На черт. 7 настоящего приложения приведена диаграмма состояния
фазы «Перенос информации» для всех субсостояний и состояний. Изображение фазы
«Перенос информации» приведено для случая, при котором бит Р передается в НК
после получения из НК бита F. Если будет выбран другой более редкий режим передачи
бита Р, то действие Р := l при
получении из НК кадра, содержащего бит F, равный
единице, следует заменить на Р := 0 (исключая состояние «Приостанов»). Кроме
того, на черт. 6 настоящего приложения
показана максимальная частость передачи кадра REI, SREI
и AREI. Для уменьшения частости передачи кадров REI, SREI
и AREI следует при Т3 = е действие Т3
= 1 заменить на Т3
0.
На черт. 7 настоящего приложения не показаны действия по передаче информационных областей I-кадров, накопленных в состоянии «Блокировка» при режиме А, получателю.
Условные обозначения, использованные на черт. 7:
NK = 1 - принятый кадр некорректен, т.е. обнаружены ситуации, приведенные в п. 3.11 настоящего стандарта;
NK = 0 - принятый кадр корректен;
SF = 1 - необходимо передать кадр, содержащий бит F, равный единице:
SF = 0 - кадр, содержащий бит F, равный единице, передавать не следует;
SP = 1 - необходимо передать кадр, содержащий бит Р, равный единице;
SP = 0 - кадр, содержащий бит Р, равный единице, передавать не следует;
V1 - значение переменной состояния передачи;
V2 - значение переменной состояния приема;
N1 - значение номера N1 в принятом кадре;
N2 - значение номера N2 в принятом кадре;
NH - значение номера N1 последнего, переданного I-кадра с «новой» информацией;
Nc - значение номера N1 самого «старого» из неподтвержденных I-кадров;
Np - значение номера N1 I-кадра, в котором был передан бит Р, равный единице или который был последним передан перед передачей S-кадра, содержащего бит Р, равный единице;
Хе - значение номера N1 последнего правильно принятого I-кадра в состоянии «Блокировка» в режиме А;
X - массив значений номеров I-кадров, для которых принят, но не выполнен кадр, содержащий AREI, если Х = 0, то таких кадров нет;
П0 = 1 - производится повторение I-кадров в результате приема кадра, содержащего бит F, равный единице;
П0 = 0 - повторение П0 = 1 не производится;
П0 = l - производится повторение I-кадров в результате приема кадра, содержащего REI;
Диаграмма состояния в фазе «Логическое разъединение»
Черт. 3
Диаграмма состояния в фазе «Инициация»

Черт. 4
Диаграмма состояния в фазе «Установление соединения»

Черт. 5
Диаграмма состояния в фазе «Завершение соединения»

Черт. 6
П1 = 0 - повторение П1 = l не производится;
П2 = 1 - производится повторение I-кадров в результате приема кадра, содержащего SREI или AREI;
П2 = 0 - повторение П2 = 1 не производится;
R = l - необходимо передать кадр, содержащий RR;
R = 0 - необходимости в передаче кадра, содержащего RR, нет;
RN = 1 - необходимо передать кадр, содержащий RR;
RN = 0 - нет необходимости в передаче кадра, содержащего RR;
FR = 1 - необходимо передать кадр, содержащий ответ FRMR;
FR = 0 - нет необходимости в передаче кадра, содержащего ответ FRMR;
Y - значение переменной V2, переданной в последнем кадре;
Z - значение номера, который нужно передать в кадре, содержащем AREI;
I(X) = 0 - I-кадр с прямым номером X подтвержден;
I(X) = 1 - I-кадр с прямым номером X не подтвержден;
Z
Zнов - положить Z равным номеру следующего непринятого I-кадра;
V1
Хнов - положить V2 равным следующему номеру, записанному в массив X;
X
V2 - записать в массив X номер,
содержащийся в принятом кадре AREI;
{А} - состояние или субсостояние А; обозначение состояний и субсостояний приведено в п. 3 настоящего приложения;
-
отсутствие состояния или субсостояния;
{А}
- переход в состояние или субсостояние А.
10. Все состояния и субсостояния, приведенные в п. 3 настоящего приложения, составляют полную группу событий.
Все арифметические действия и операции сравнения, используемые в диаграмме состояний, выполняются по модулю 8 или 128. Поэтому одиночные неравенства типа А > В здесь не имеют смысла.
Диаграмма состояния в фазе «Перенос информации»
Черт. 7
СОДЕРЖАНИЕ