Скачать ГОСТ 26298-84 Пресс-формы съемные этажные с коническим разъемом для изготовления резиновых колец круглого сечения. Конструкция и размеры

Дата актуализации: 01.01.2021

ГОСТ 26298-84

Пресс-формы съемные этажные с коническим разъемом для изготовления резиновых колец круглого сечения. Конструкция и размеры

Обозначение: ГОСТ 26298-84
Обозначение англ: GOST 26298-84
Статус:действует
Название рус.:Пресс-формы съемные этажные с коническим разъемом для изготовления резиновых колец круглого сечения. Конструкция и размеры
Название англ.:Portable ream press moulds with conical break for manufacturing of rubber o-rings section. Designs and dimensions
Дата добавления в базу:01.09.2013
Дата актуализации:01.01.2021
Дата введения:01.01.1986
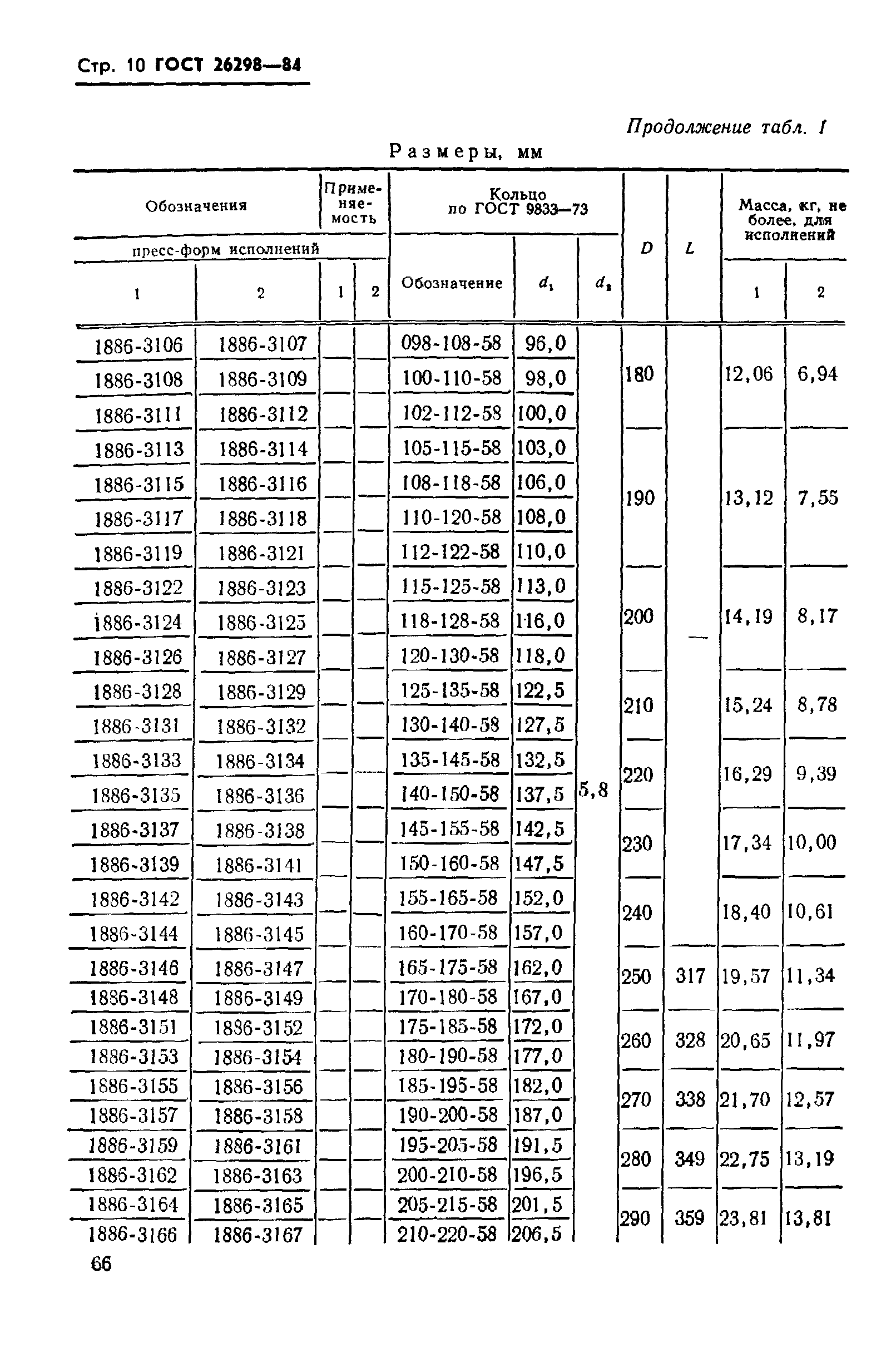
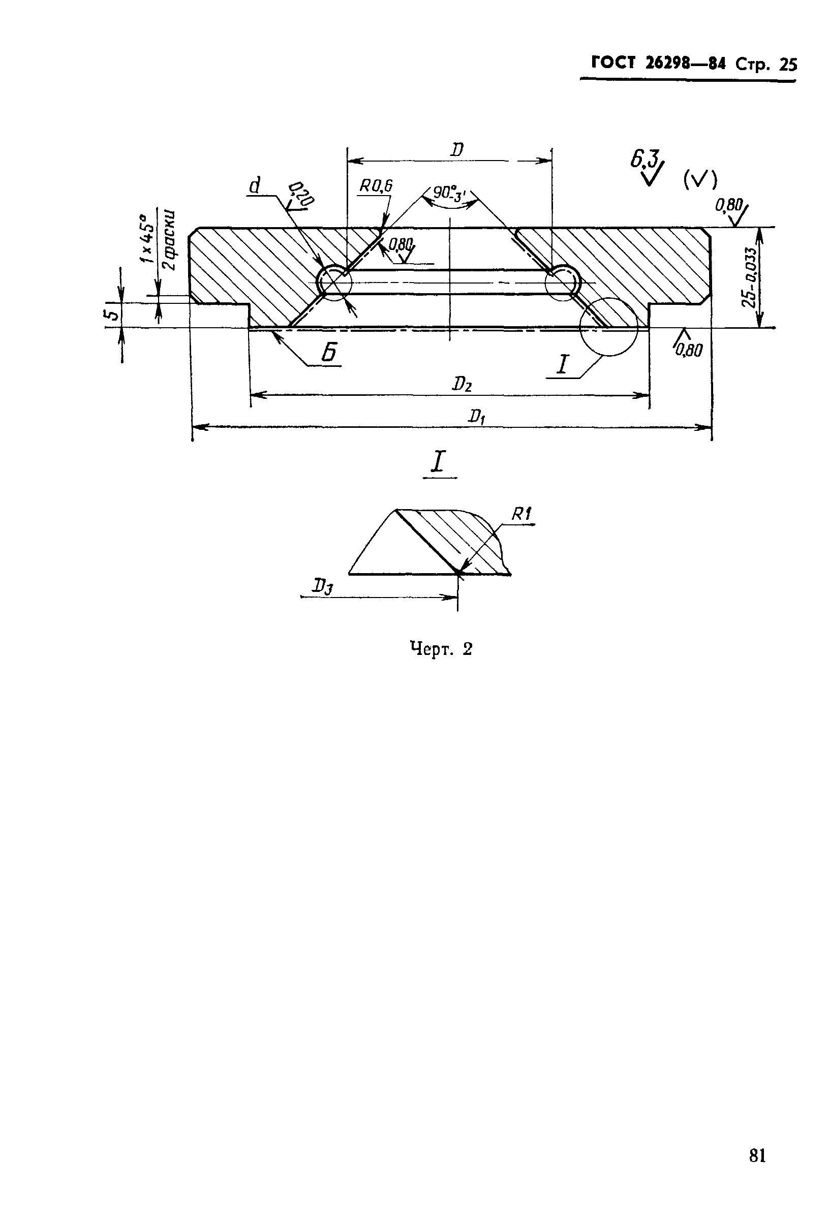
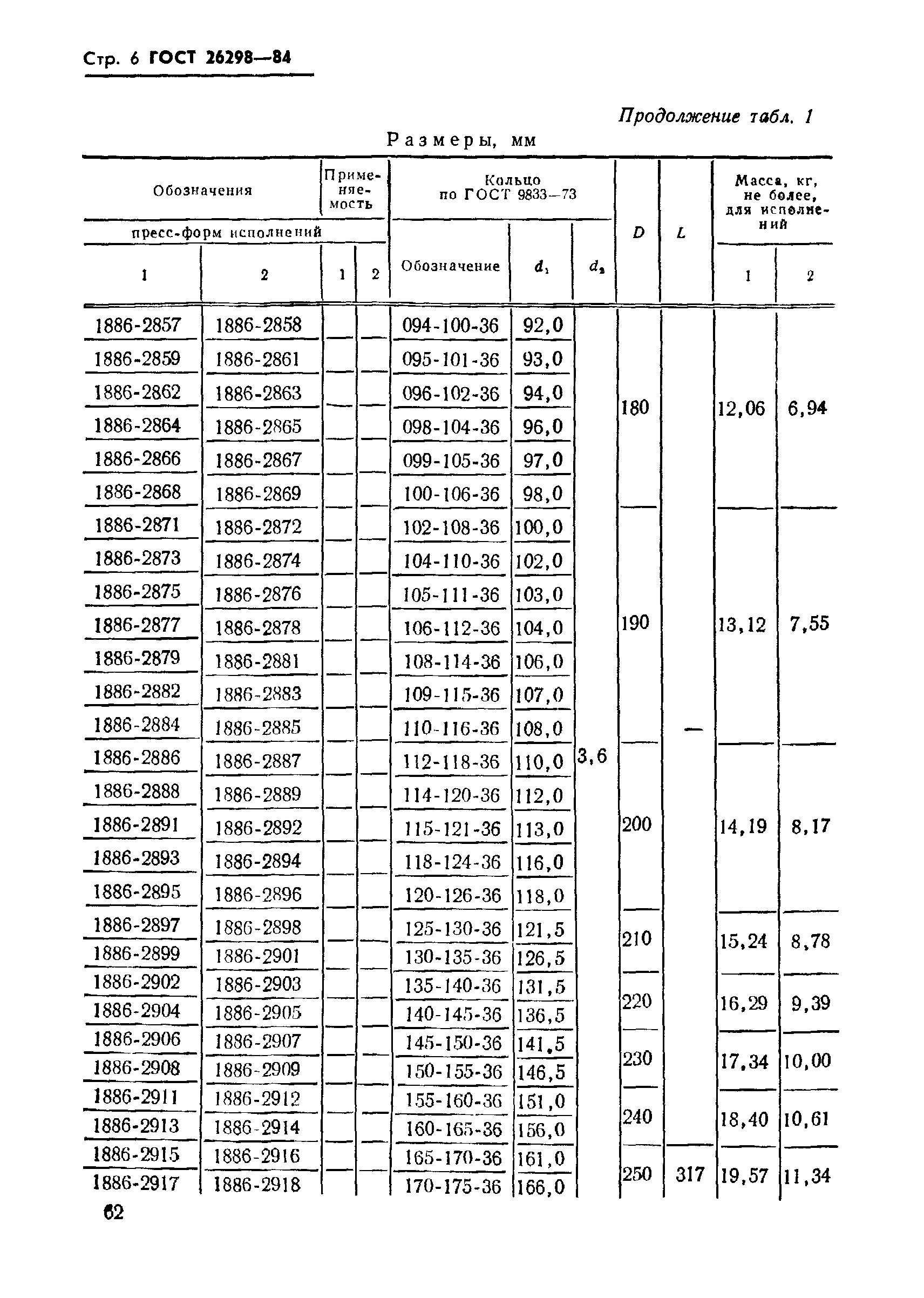
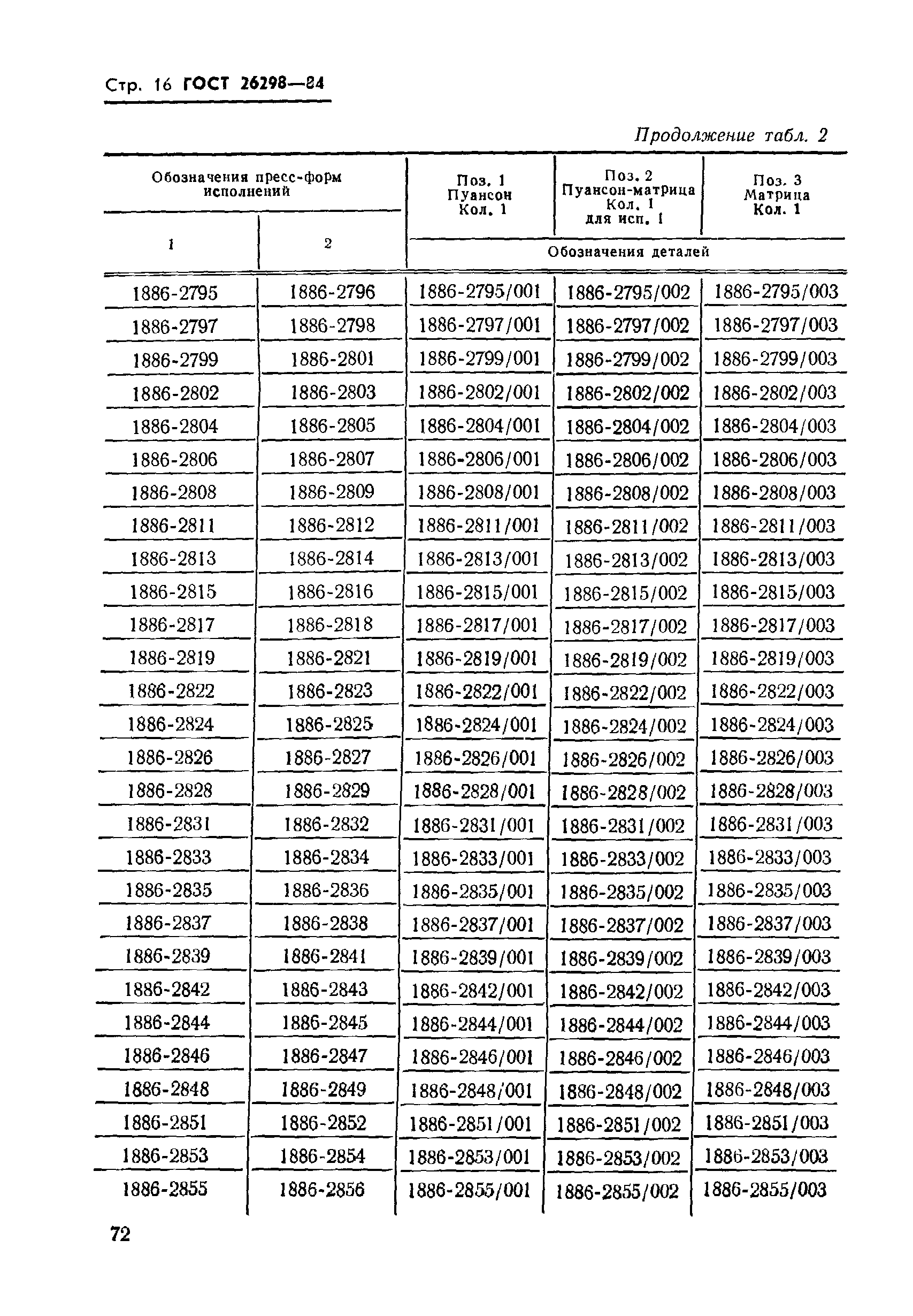
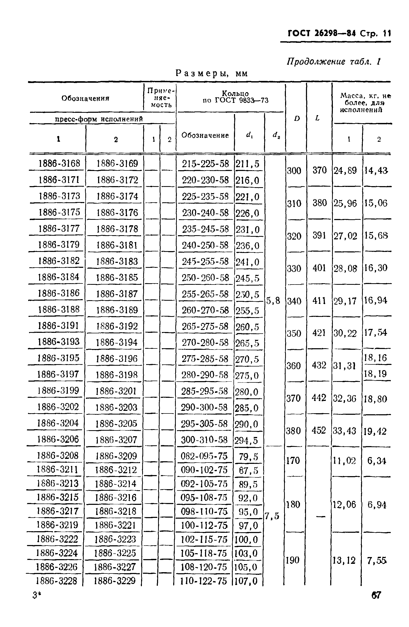
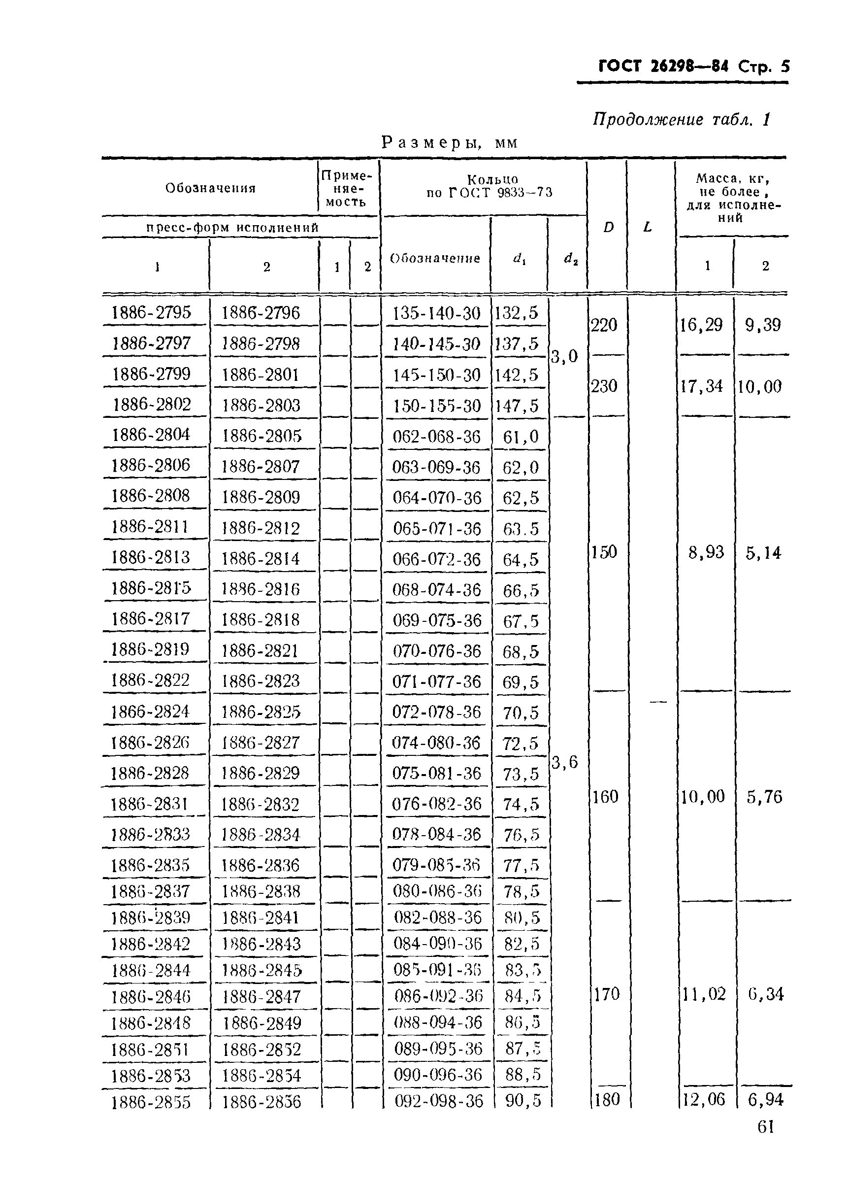
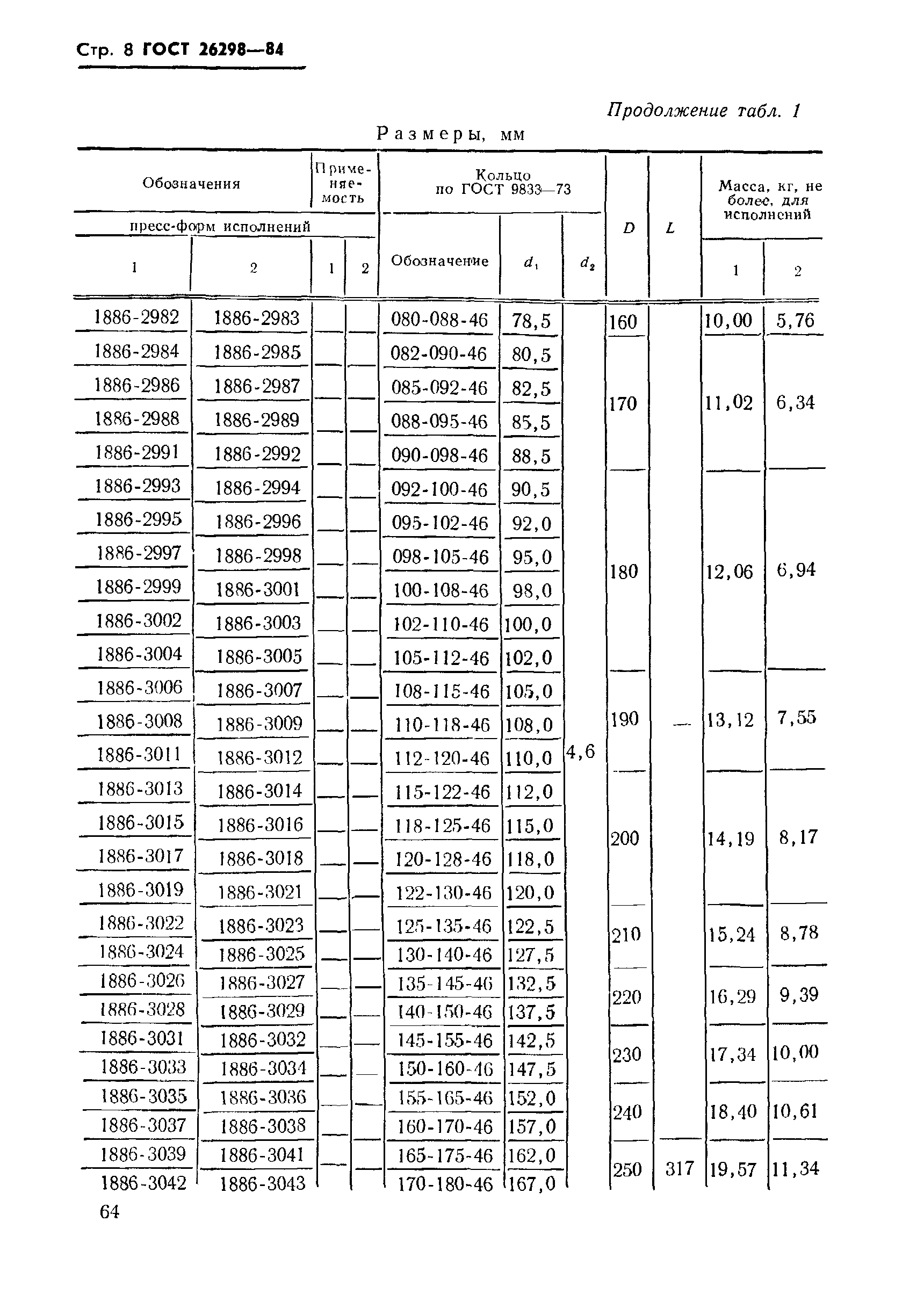
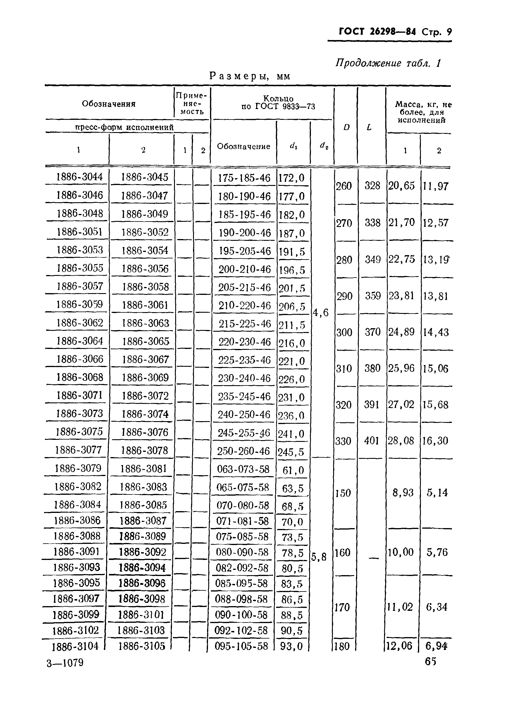
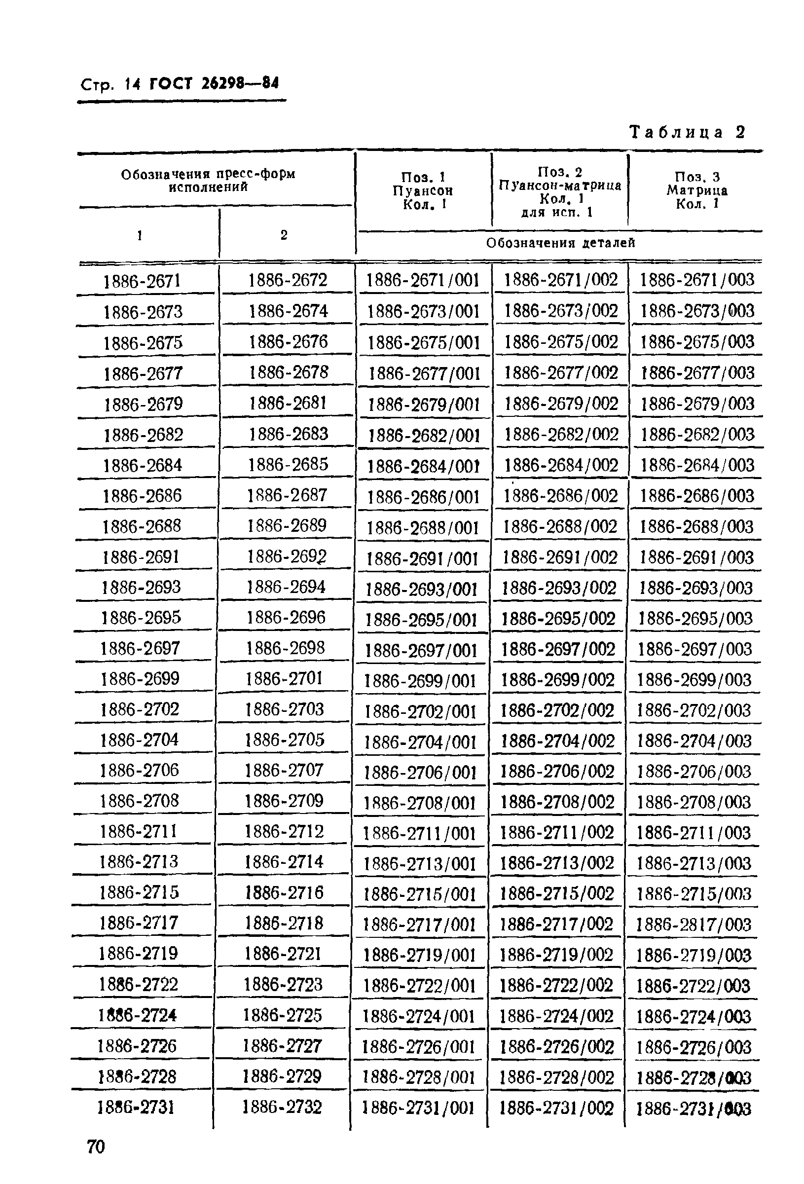
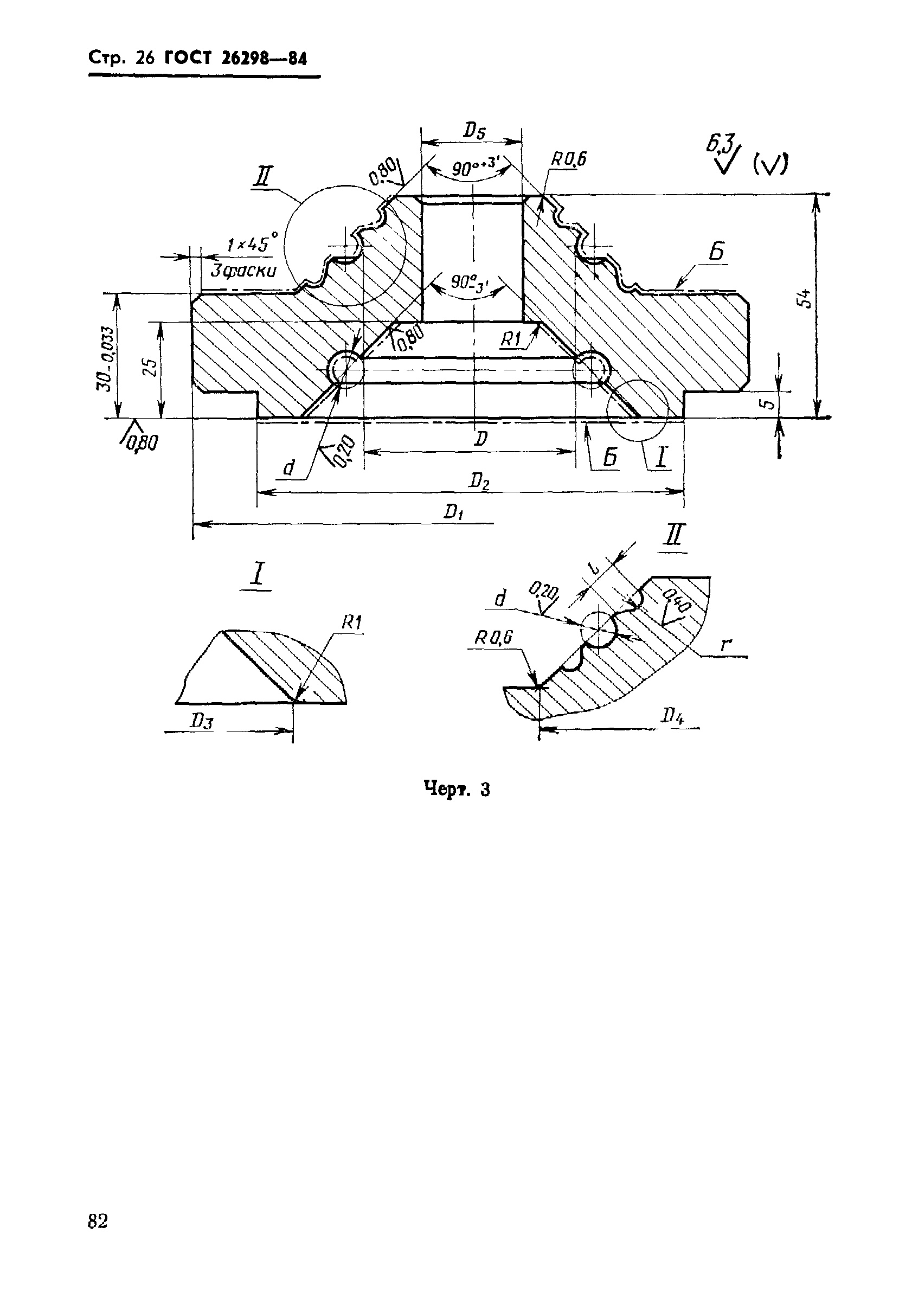
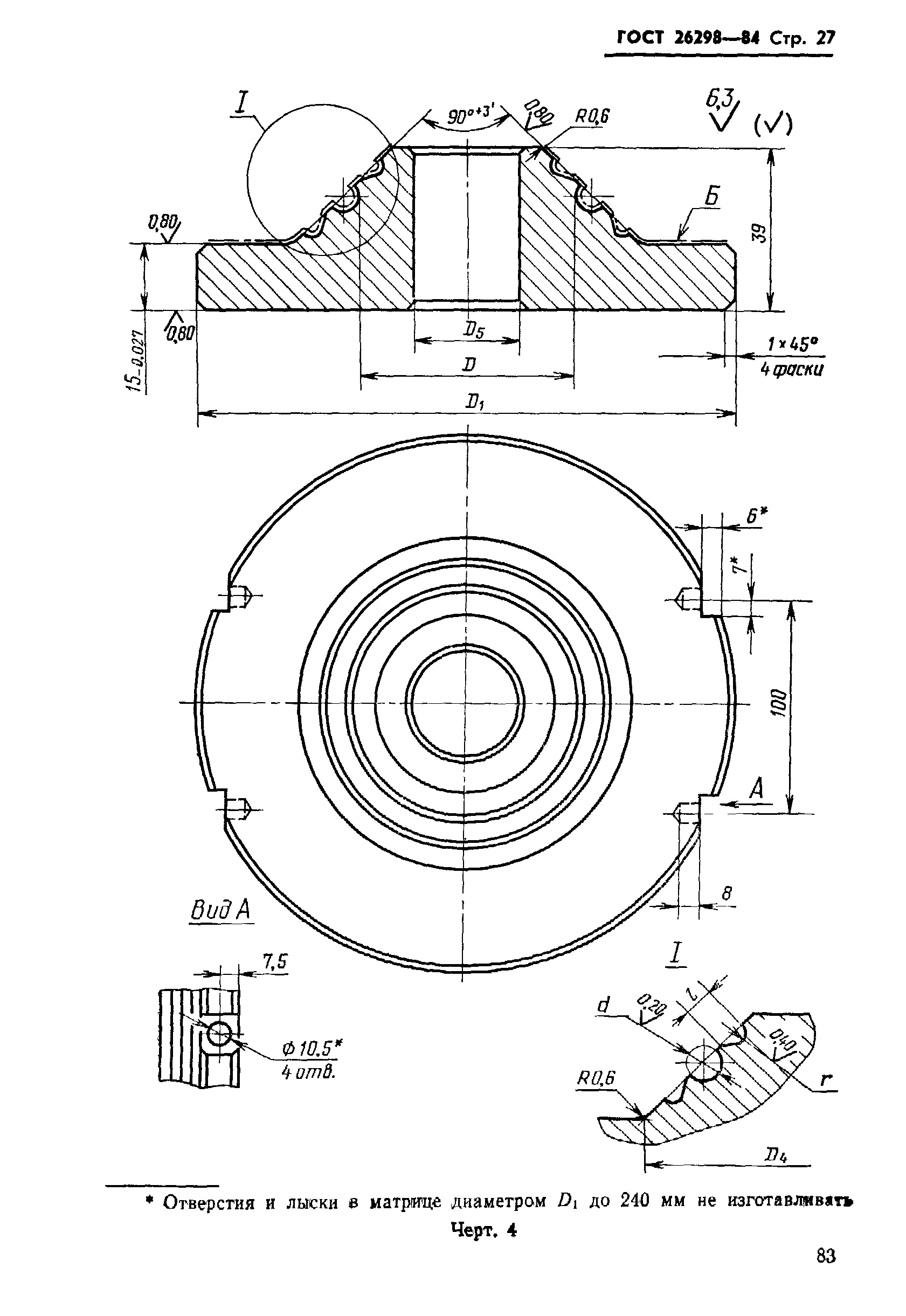
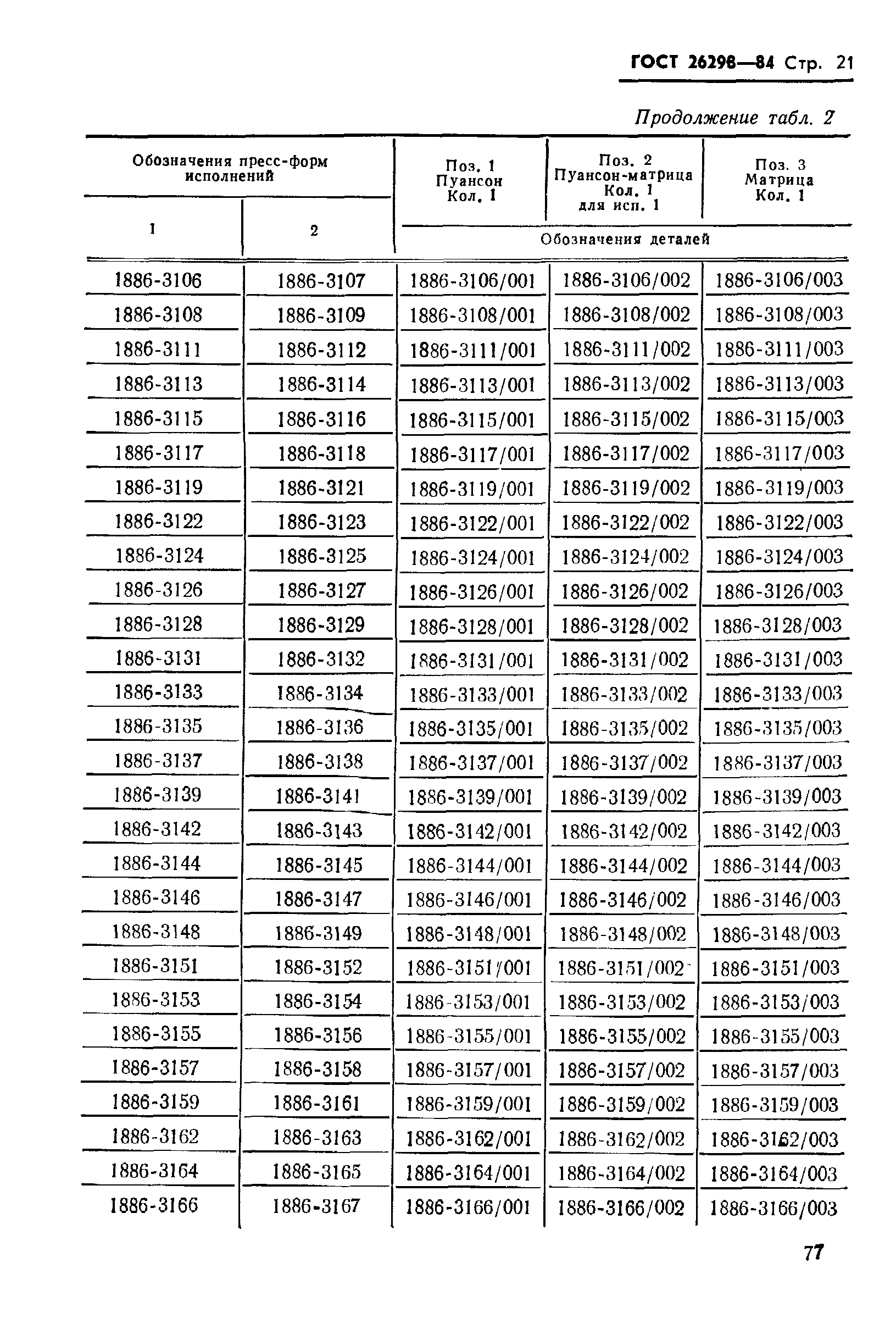
Область применения:Стандарт распространяется на съемные этажные пресс-формы с коническим разъемом для изготовления резиновых колец круглого сечения внутренним диаметром от 61 до 299,5 мм из резиновых смесей с усадкой.
Утверждён:28.09.1984 Государственный комитет СССР по стандартам (USSR National Committee on Standards 3443)
Список изменений:
Нормативные ссылки:
ГОСТ 26298-84ГОСТ 26298-84ГОСТ 26298-84ГОСТ 26298-84ГОСТ 26298-84ГОСТ 26298-84ГОСТ 26298-84ГОСТ 26298-84ГОСТ 26298-84ГОСТ 26298-84ГОСТ 26298-84ГОСТ 26298-84ГОСТ 26298-84ГОСТ 26298-84ГОСТ 26298-84ГОСТ 26298-84ГОСТ 26298-84ГОСТ 26298-84ГОСТ 26298-84ГОСТ 26298-84ГОСТ 26298-84ГОСТ 26298-84ГОСТ 26298-84ГОСТ 26298-84ГОСТ 26298-84ГОСТ 26298-84ГОСТ 26298-84ГОСТ 26298-84ГОСТ 26298-84ГОСТ 26298-84ГОСТ 26298-84ГОСТ 26298-84ГОСТ 26298-84ГОСТ 26298-84ГОСТ 26298-84ГОСТ 26298-84ГОСТ 26298-84ГОСТ 26298-84ГОСТ 26298-84ГОСТ 26298-84ГОСТ 26298-84ГОСТ 26298-84ГОСТ 26298-84ГОСТ 26298-84ГОСТ 26298-84ГОСТ 26298-84

Текстовое изменение поправка от 01.10.1986

поправка

Текстовое изменение поправка от 01.06.1988

поправка