Скачать ГОСТ 26515-85 Инструмент для холодноштамповочных автоматов. Пуансоны четвертого перехода. Конструкция и размеры

Дата актуализации: 01.01.2021

ГОСТ 26515-85

Инструмент для холодноштамповочных автоматов. Пуансоны четвертого перехода. Конструкция и размеры

Обозначение: ГОСТ 26515-85
Обозначение англ: GOST 26515-85
Статус:введен впервые
Название рус.:Инструмент для холодноштамповочных автоматов. Пуансоны четвертого перехода. Конструкция и размеры
Название англ.:Tools for cold-forming machines. 4Th station punches. Construction and dimensions
Дата добавления в базу:01.09.2013
Дата актуализации:01.01.2021
Дата введения:01.07.1987
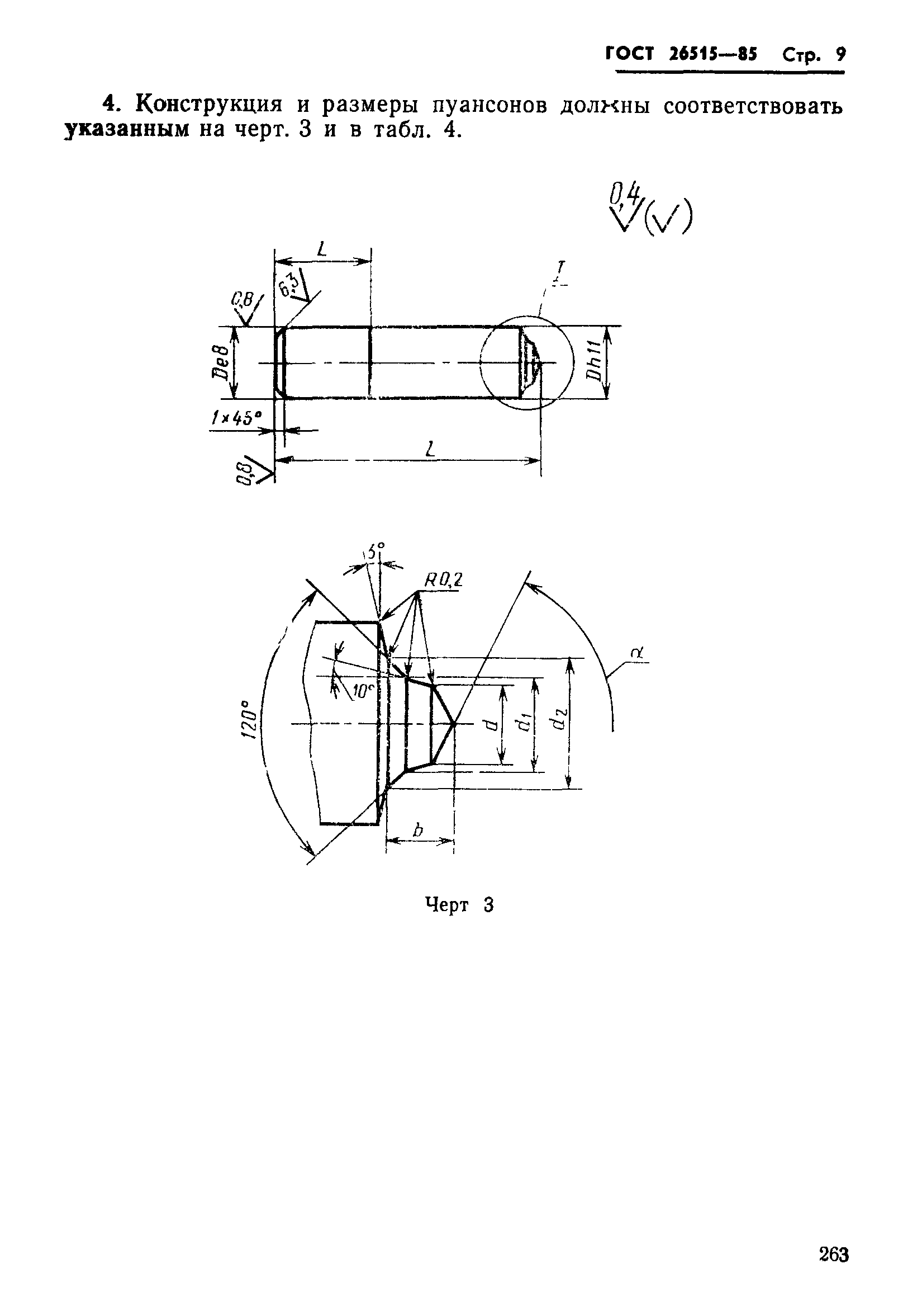
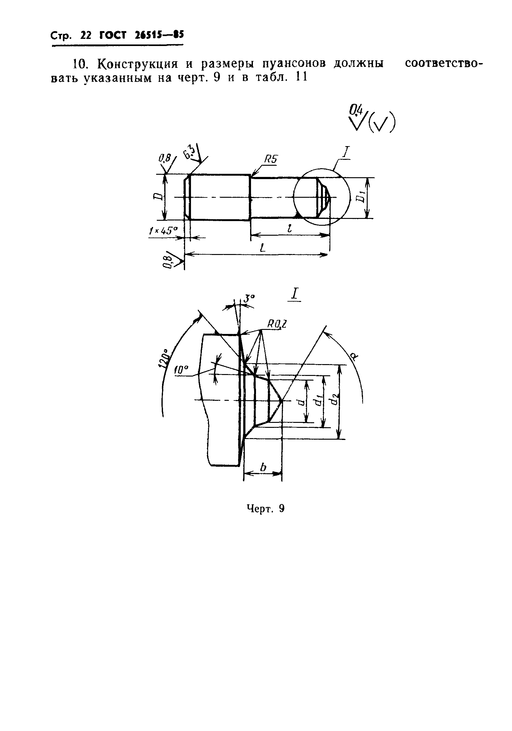
Область применения:Стандарт распространяется на пуансоны четвертого перехода типа 1, 2 к автоматам АВ1818, АВ1819, АВ1820, АВ1821, АВ1822, АВ1823 для высадки заготовок гаек номинальным диаметром резьбы от 6 до 20 мм.
Разработан: Министерство станкостроительной и инструментальной промышленности
Утверждён:28.03.1985 Государственный комитет СССР по стандартам (USSR National Committee on Standards 964)
Список изменений:
Нормативные ссылки:
ГОСТ 26515-85ГОСТ 26515-85ГОСТ 26515-85ГОСТ 26515-85ГОСТ 26515-85ГОСТ 26515-85ГОСТ 26515-85ГОСТ 26515-85ГОСТ 26515-85ГОСТ 26515-85ГОСТ 26515-85ГОСТ 26515-85ГОСТ 26515-85ГОСТ 26515-85ГОСТ 26515-85ГОСТ 26515-85ГОСТ 26515-85ГОСТ 26515-85ГОСТ 26515-85ГОСТ 26515-85ГОСТ 26515-85ГОСТ 26515-85ГОСТ 26515-85ГОСТ 26515-85ГОСТ 26515-85ГОСТ 26515-85ГОСТ 26515-85ГОСТ 26515-85ГОСТ 26515-85ГОСТ 26515-85

Текстовое изменение № 1 от 01.01.1991

№ 1№ 1№ 1№ 1