Скачать ГОСТ 26516-85 Инструмент для холодноштамповочных автоматов. Пуансоны пятого перехода. Конструкция и размеры

Дата актуализации: 01.01.2021

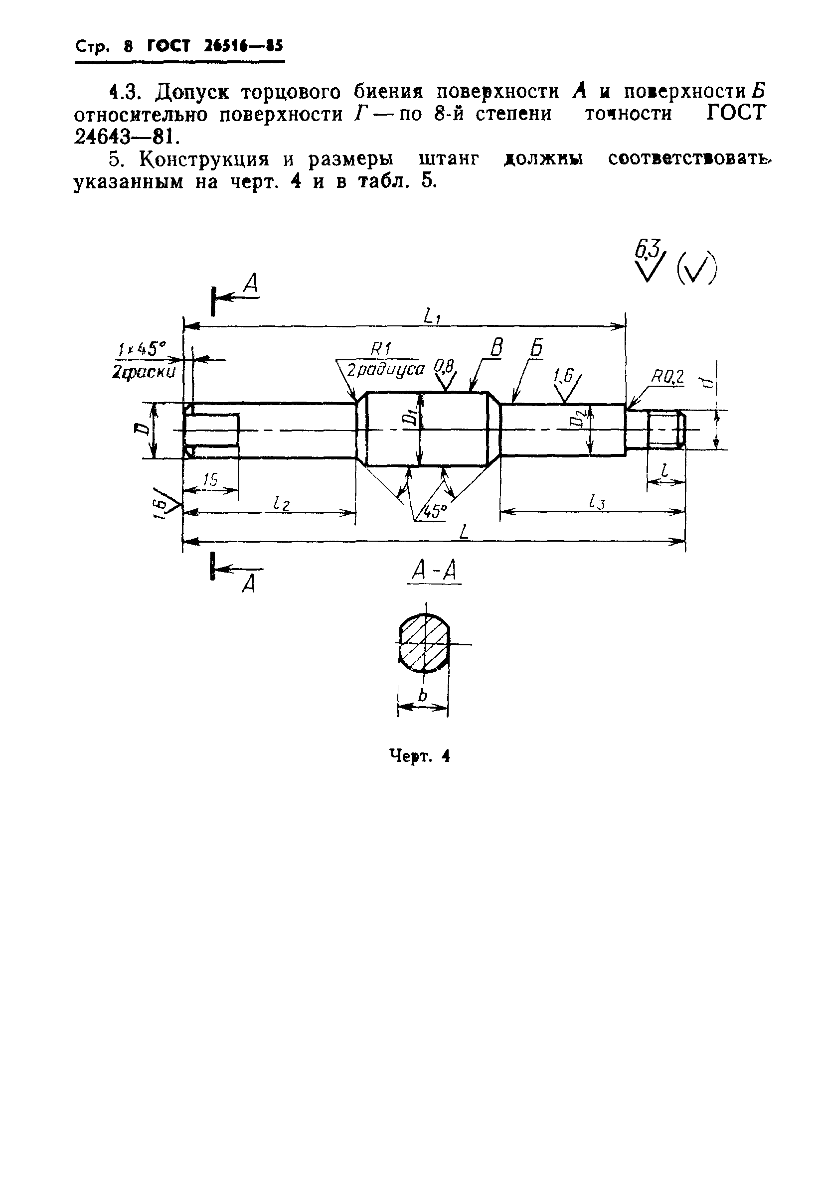
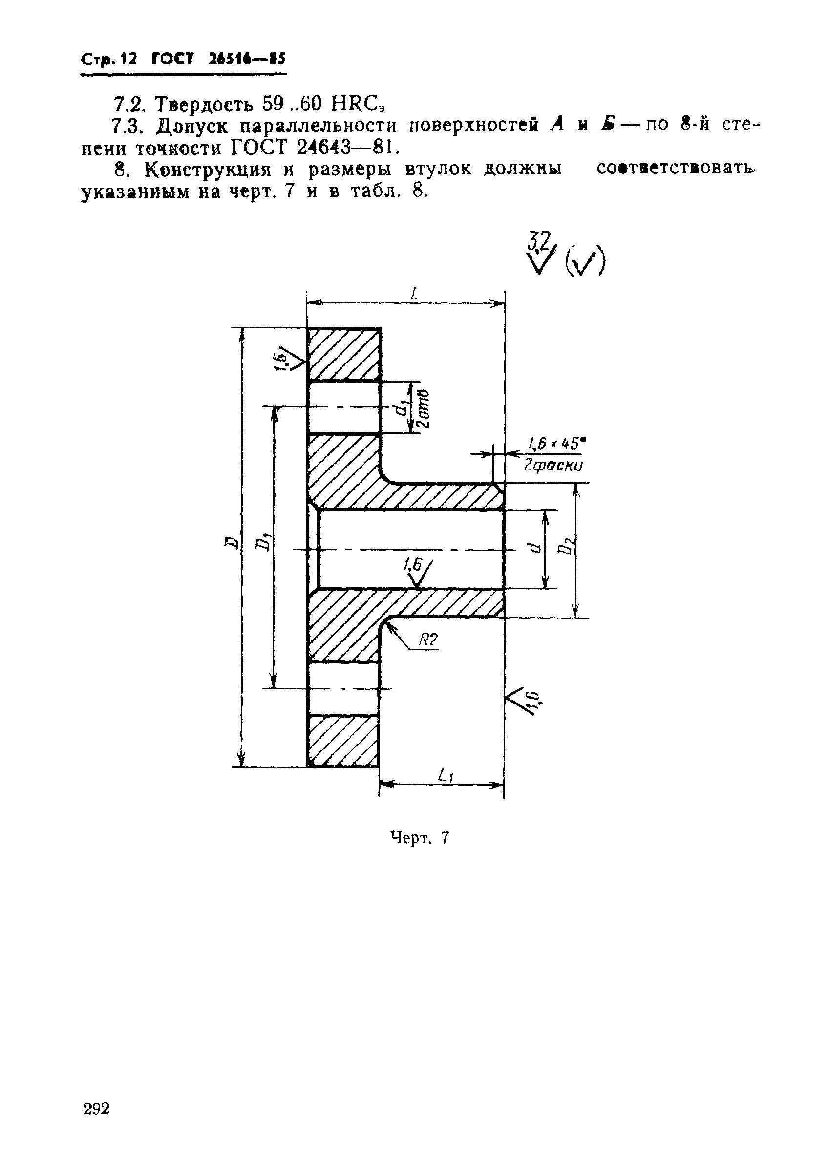
ГОСТ 26516-85

Инструмент для холодноштамповочных автоматов. Пуансоны пятого перехода. Конструкция и размеры

Обозначение: ГОСТ 26516-85
Обозначение англ: GOST 26516-85
Статус:действует
Название рус.:Инструмент для холодноштамповочных автоматов. Пуансоны пятого перехода. Конструкция и размеры
Название англ.:Tools for cold-forming machines. 5Th station punches. Construction and dimensions
Дата добавления в базу:01.09.2013
Дата актуализации:01.01.2021
Дата введения:01.07.1987
Область применения:Стандарт распространяется на пуансоны пятого перехода к автоматам АВ1818, АВ1819, АВ1820, АВ1821, АВ1822, АВ1823 для высадки заготовок гаек номинальным диаметром резьбы от 6 до 20 мм.
Утверждён:28.03.1985 Госстандарт СССР (USSR Gosstandart 964)
Нормативные ссылки:
ГОСТ 26516-85ГОСТ 26516-85ГОСТ 26516-85ГОСТ 26516-85ГОСТ 26516-85ГОСТ 26516-85ГОСТ 26516-85ГОСТ 26516-85ГОСТ 26516-85ГОСТ 26516-85ГОСТ 26516-85ГОСТ 26516-85ГОСТ 26516-85ГОСТ 26516-85ГОСТ 26516-85ГОСТ 26516-85ГОСТ 26516-85