Скачать ГОСТ 26707-85 Костюм специальный с меховым утеплителем для военнослужащих. Технические условияДата актуализации: 01.01.2021
|
| Обозначение: | ГОСТ 26707-85 |
| Обозначение англ: | GOST 26707-85 |
| Статус: | введен впервые |
| Название рус.: | Костюм специальный с меховым утеплителем для военнослужащих. Технические условия |
| Название англ.: | Special army cloth underlined with fur. Specifications |
| Дата добавления в базу: | 01.09.2013 |
| Дата актуализации: | 01.01.2021 |
| Дата введения: | 01.01.1987 |
| Область применения: | Стандарт распространяется на зимний костюм со съемной меховой подкладкой - куртка, брюки и капюшон, предназначенный в качестве спецодежды для военнослужащих Советской Армии и Министерства внутренних дел СССР. |
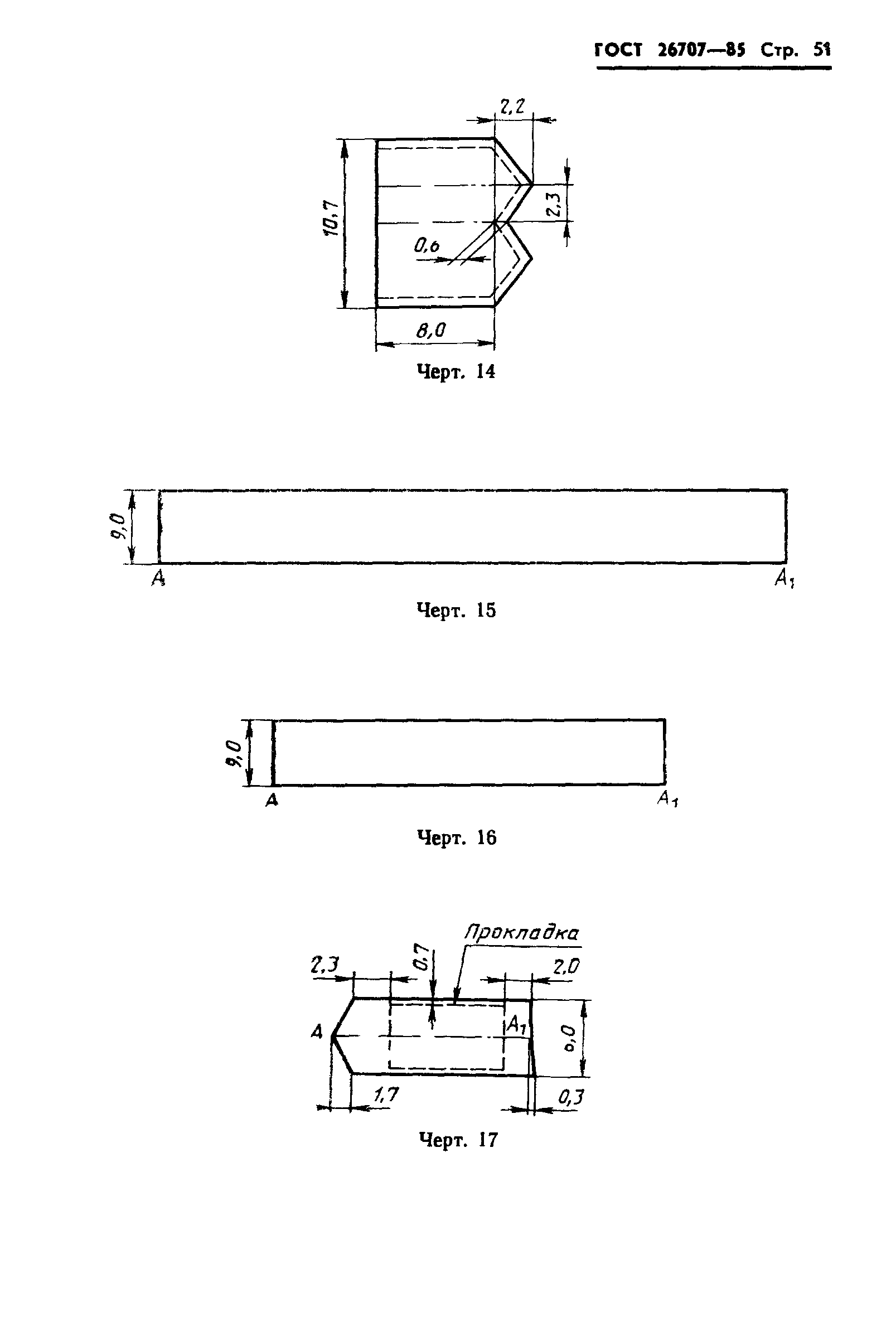
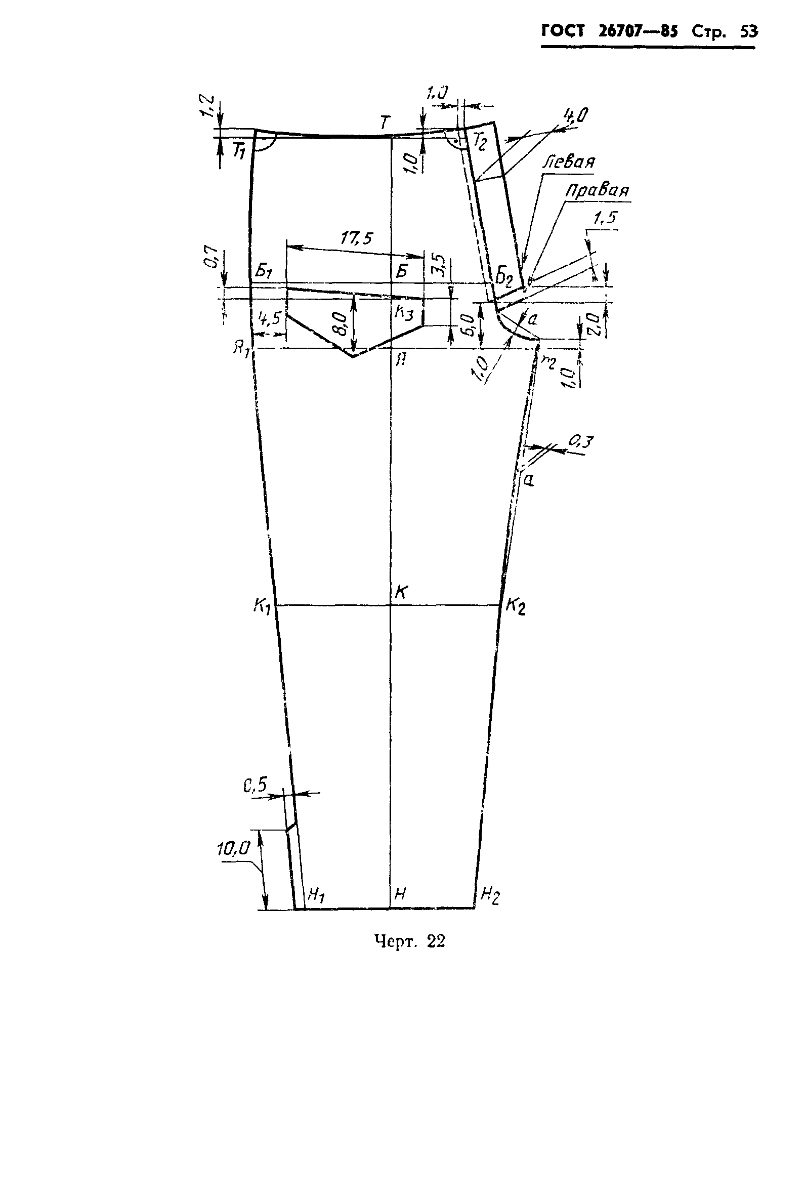
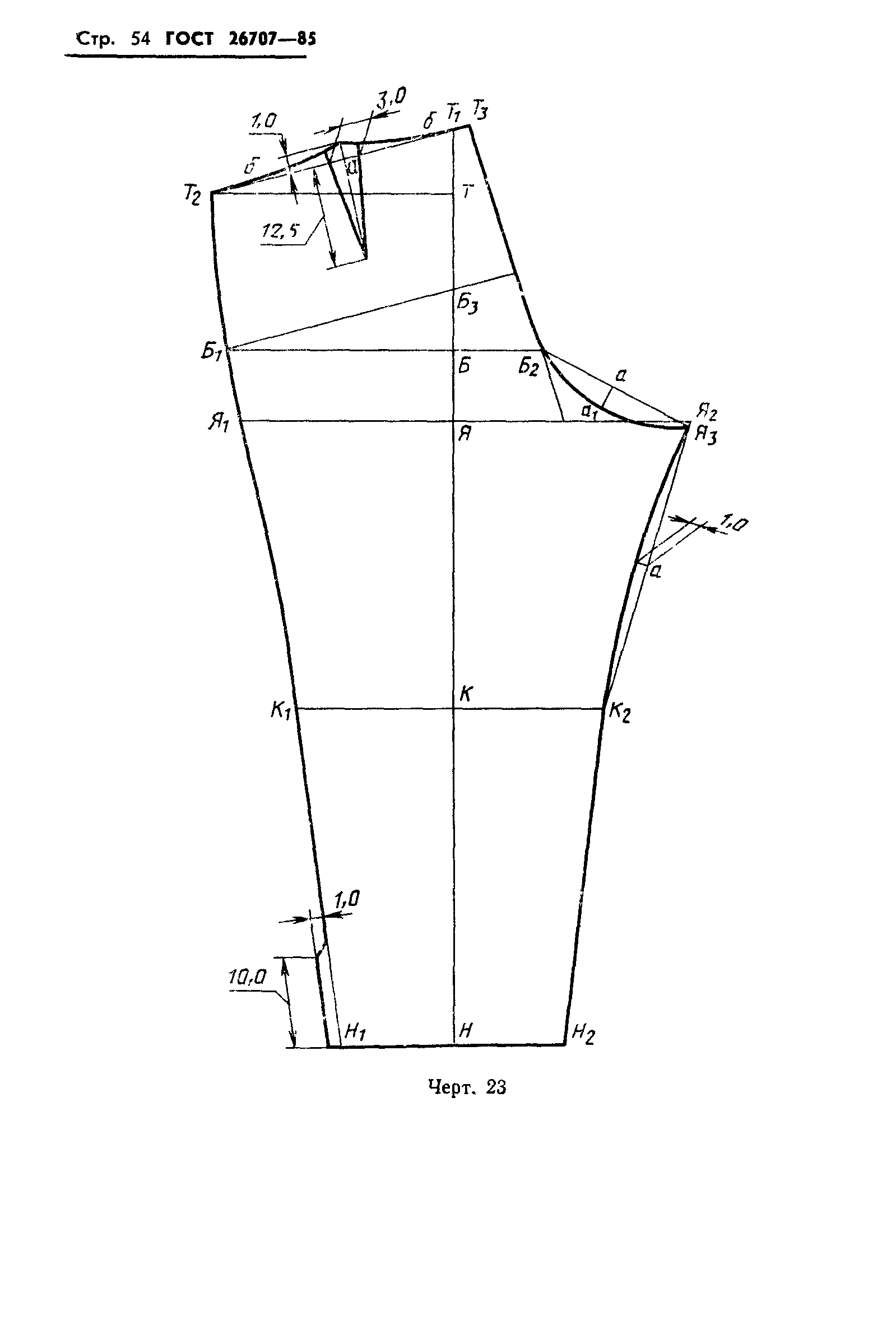
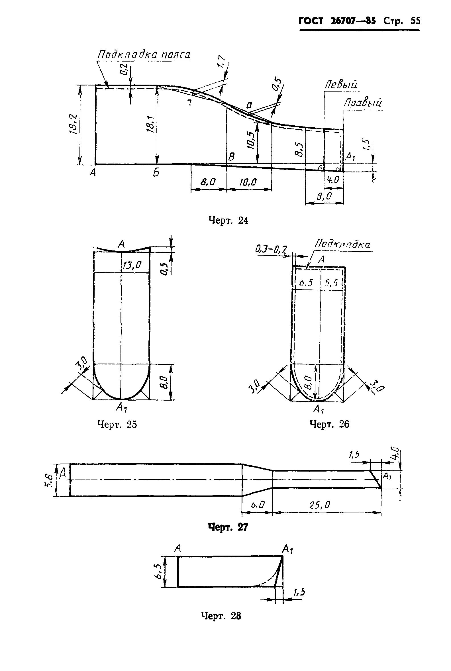
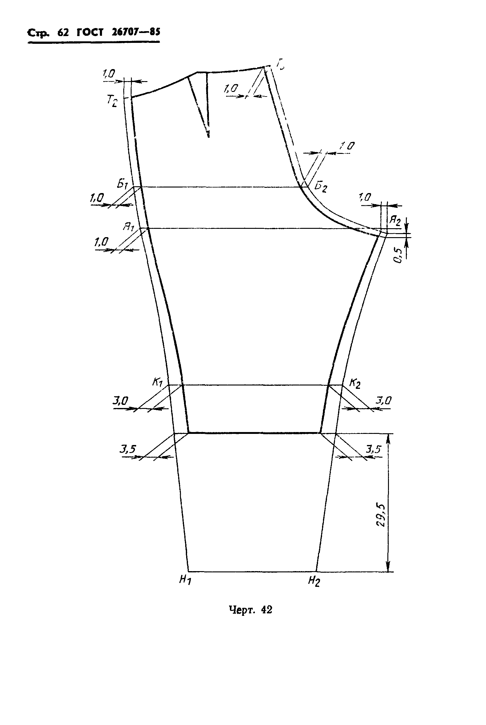
| Оглавление: | 1 Основные размеры 2 Технические требования 3 Приемка 4 Методы контроля 5 Транспортирование и хранение Приложение 1 (реклмендуемое) Пособие для построения чертежей лекал костюма Приложение 2 (справочное) Спецификация деталей костюма Приложение 3 (рекомендуемое) Особенности обработки костюма Приложение 4 (обязательное) Изображение специального клейма (М 1:1) |
| Разработан: | Министерство легкой промышленности СССР |
| Утверждён: | 19.12.1985 Государственный комитет СССР по стандартам (USSR National Committee on Standards 4179) |
| Издан: | Издательство стандартов (1986 г. ) |
| Список изменений: |
|
| Нормативные ссылки: |
|































































































Текстовое изменение № 1 от 01.01.1989







Текстовое изменение № 2 от 01.01.1992












