Скачать ГОСТ 27570.23-92 Безопасность бытовых и аналогичных электрических приборов. Дополнительные требования к проточным водонагревателям и методы испытанийДата актуализации: 01.01.2021
|
| Обозначение: | ГОСТ 27570.23-92 |
| Обозначение англ: | GOST 27570.23-92 |
| Статус: | отменен в рф |
| Название рус.: | Безопасность бытовых и аналогичных электрических приборов. Дополнительные требования к проточным водонагревателям и методы испытаний |
| Название англ.: | Safety of household and similar electrical appliances. Particular requirements for instantaneous water heaters and test methods |
| Дата добавления в базу: | 01.10.2014 |
| Дата актуализации: | 01.01.2021 |
| Дата введения: | 01.07.1993 |
| Дата окончания срока действия: | 01.01.2001 |
| Область применения: | Стандарт распространяется на проточные электроводовагреватели, предназначенные для нагрева воды до температуры ниже точки кипения. |
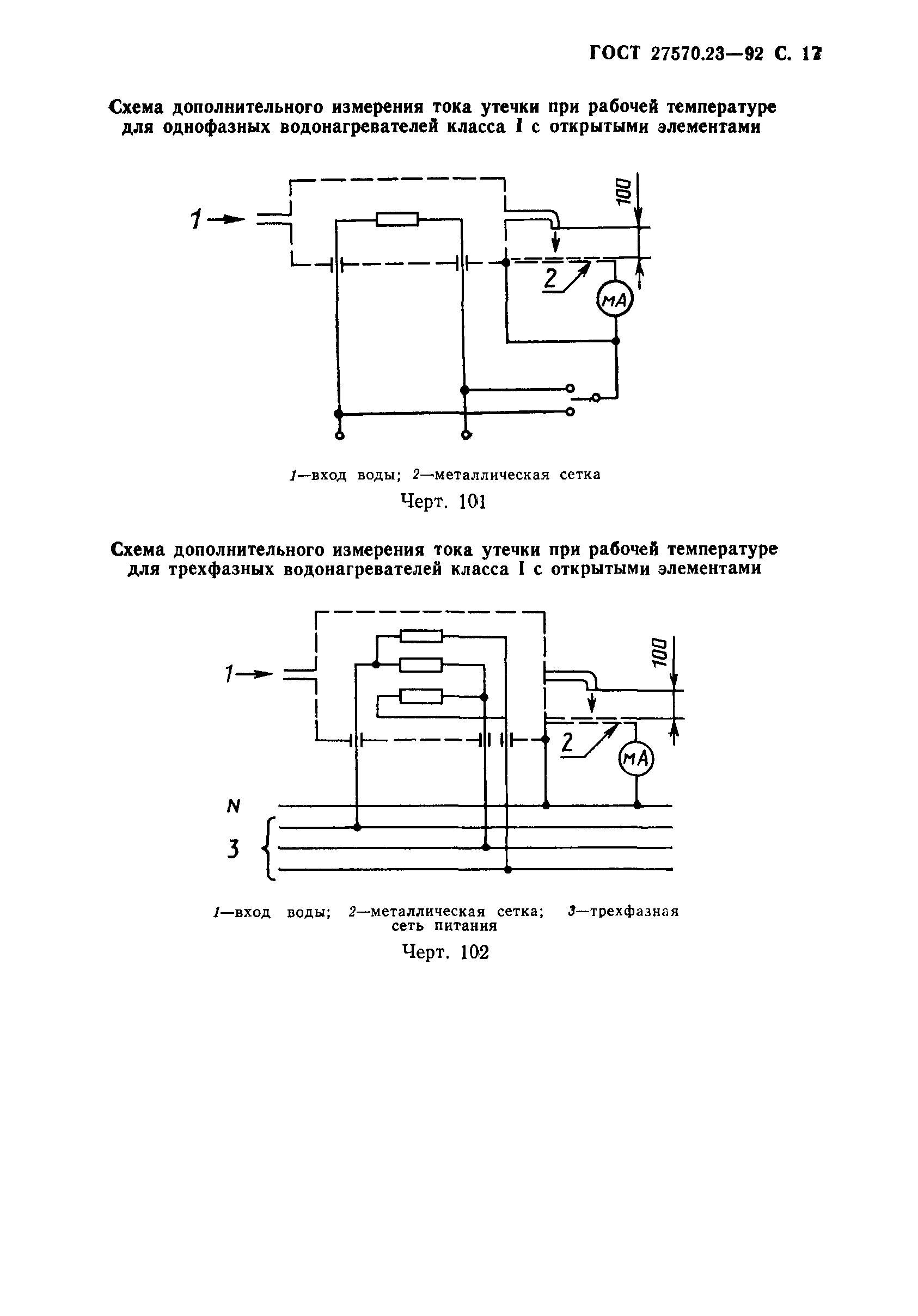
| Оглавление: | 1 Область распространения 2 Термины и определения 3 Общие требования 4 Общие условия испытаний 5 Номинальные величины 6 Классификация 7 Маркировка 8 Защита от поражения электрическим током 10 Потребляемая мощность и ток 11 Нагрев 12 Работа приборов с нагревательными элементами в условиях перегрузки 13 Электрическая изоляция и ток утечки при рабочей температуре 14 Подавление радио- и телепомех 15 Влагостойкость 16 Сопротивление изоляции и электрическая прочность 17 Защита от перегрузки 18 Износостойкость 19 Ненормальная работа 20 Устойчивость и механическая опасность 21 Механическая прочность 22 Конструкция 23 Внутренняя проводка 24 Комплектующие изделия 25 Присоединение к источнику питания и внешние гибкие кабели и шнуры 26 Зажимы для внешних проводов 27 Заземление 28 Винты и соединения 29 Пути утечки тока, воздушные зазоры и расстояния по изоляции 30 Теплостойкость, огнестойкость и стойкость к образованию токопроводящих мостиков 31 Стойкость к коррозии 32 Радиация, токсичность и подобные опасности Приложение А (обязательное) Приложение В (обязательное) Приложение С (обязательное) Приложение Е (обязательное) Приложение G (обязательное) Приложение H (обязательное) Приложение I (обязательное) Приложение K (обязательное) Приложение L (обязательное) Приложение M (обязательное) Приложение N (обязательное) Приложение O (обязательное) Приложение 1 (обязательное) Приложение 2 (обязательное) |
| Разработан: | ТК 19 Бытовые электроприборы |
| Утверждён: | 16.11.1992 Госстандарт России (Russian Federation Gosstandart 1493) |
| Издан: | Издательство стандартов (1993 г. ) |
| Заменяет собой: |
|
| Нормативные ссылки: |





















