Скачать ГОСТ 28044-89 Протяжки сборные для десятишлицевых отверстий с прямобочным профилем с центрированием по внутреннему диаметру комбинированные переменного резания. Конструкция

Дата актуализации: 01.01.2021

ГОСТ 28044-89

Протяжки сборные для десятишлицевых отверстий с прямобочным профилем с центрированием по внутреннему диаметру комбинированные переменного резания. Конструкция

Обозначение: ГОСТ 28044-89
Обозначение англ: GOST 28044-89
Статус:введен впервые
Название рус.:Протяжки сборные для десятишлицевых отверстий с прямобочным профилем с центрированием по внутреннему диаметру комбинированные переменного резания. Конструкция
Название англ.:Internal broaches for straight splines based at internal diameter one pass combined type. Construction
Дата добавления в базу:01.09.2013
Дата актуализации:01.01.2021
Дата введения:01.07.1990
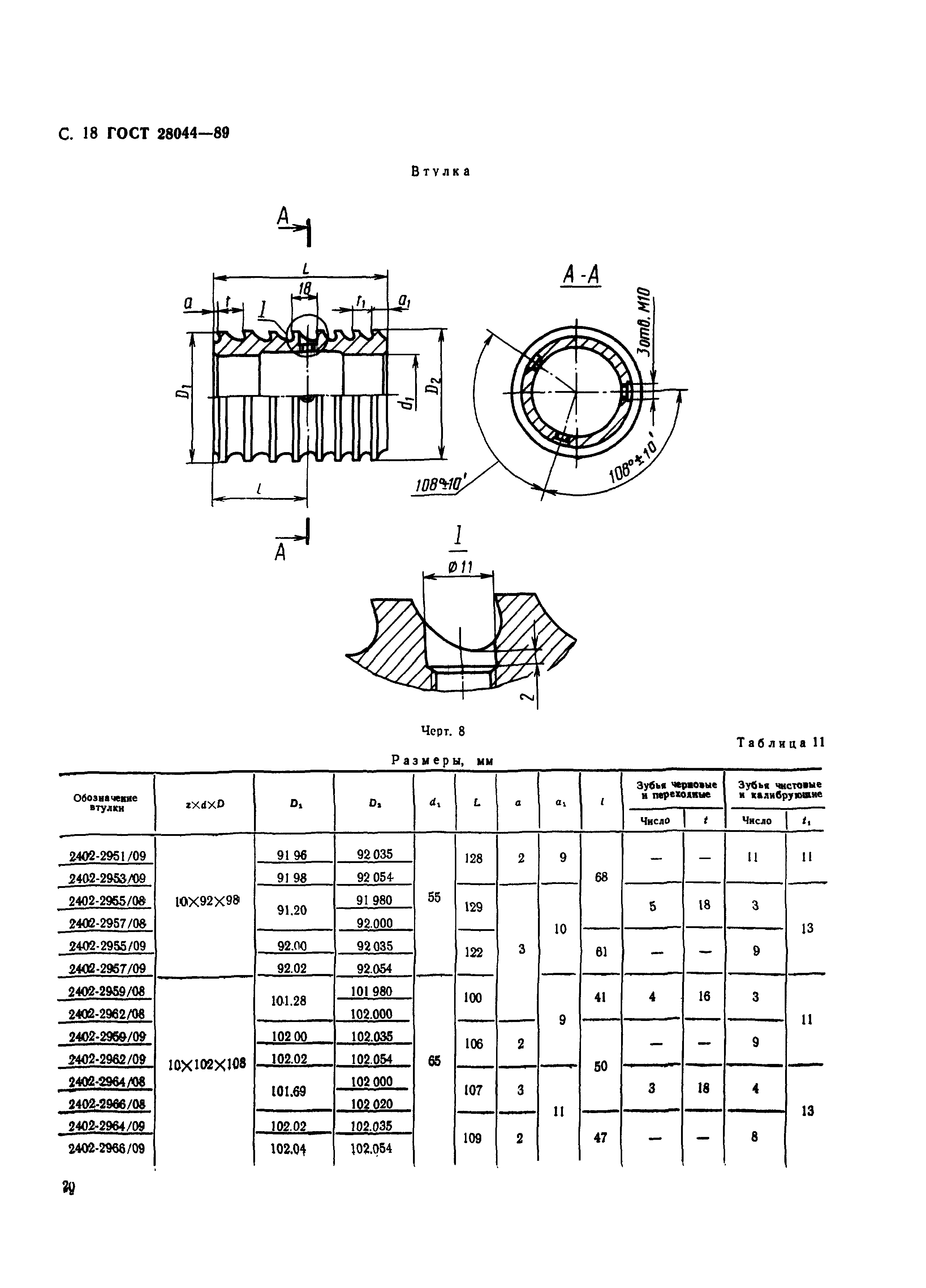
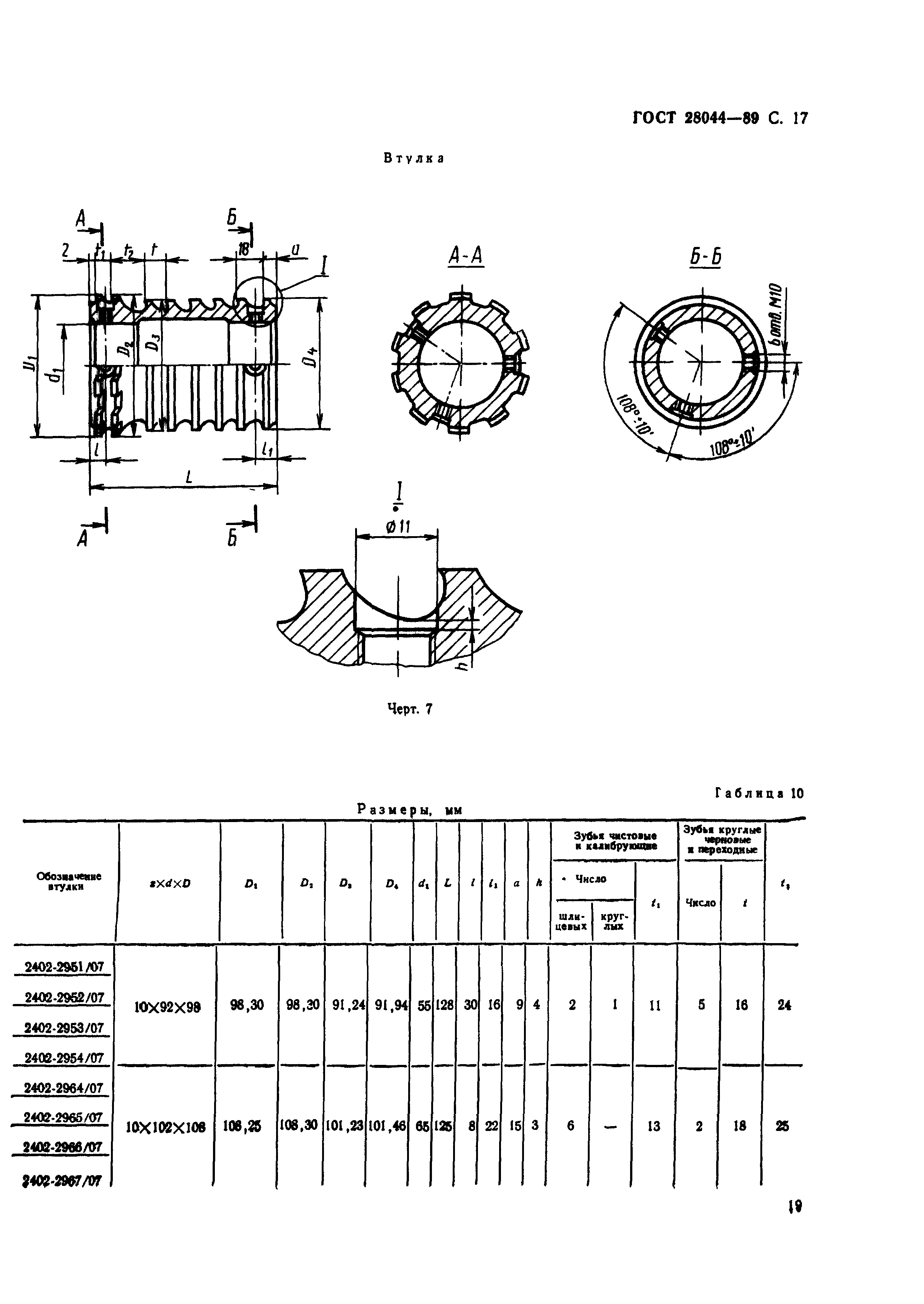
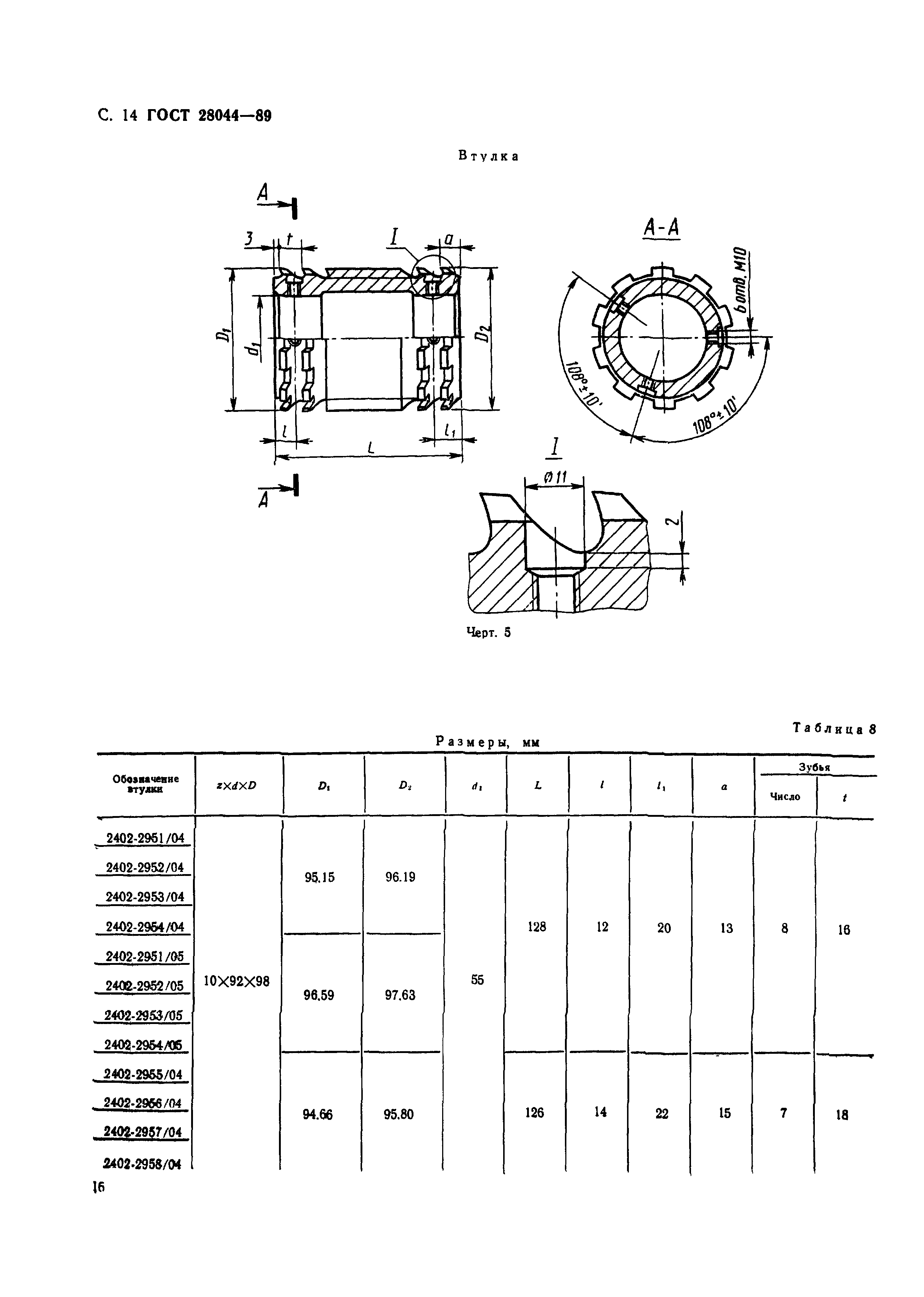
Область применения:Стандарт распространяется на комбинированные однопроходные сборные протяжки переменного резания универсального назначения, предназначенные для обработки десятишлицевых втулок с прямобочным профилем и допусками по ГОСТ 1139 с центрированием по внутреннему диаметру.
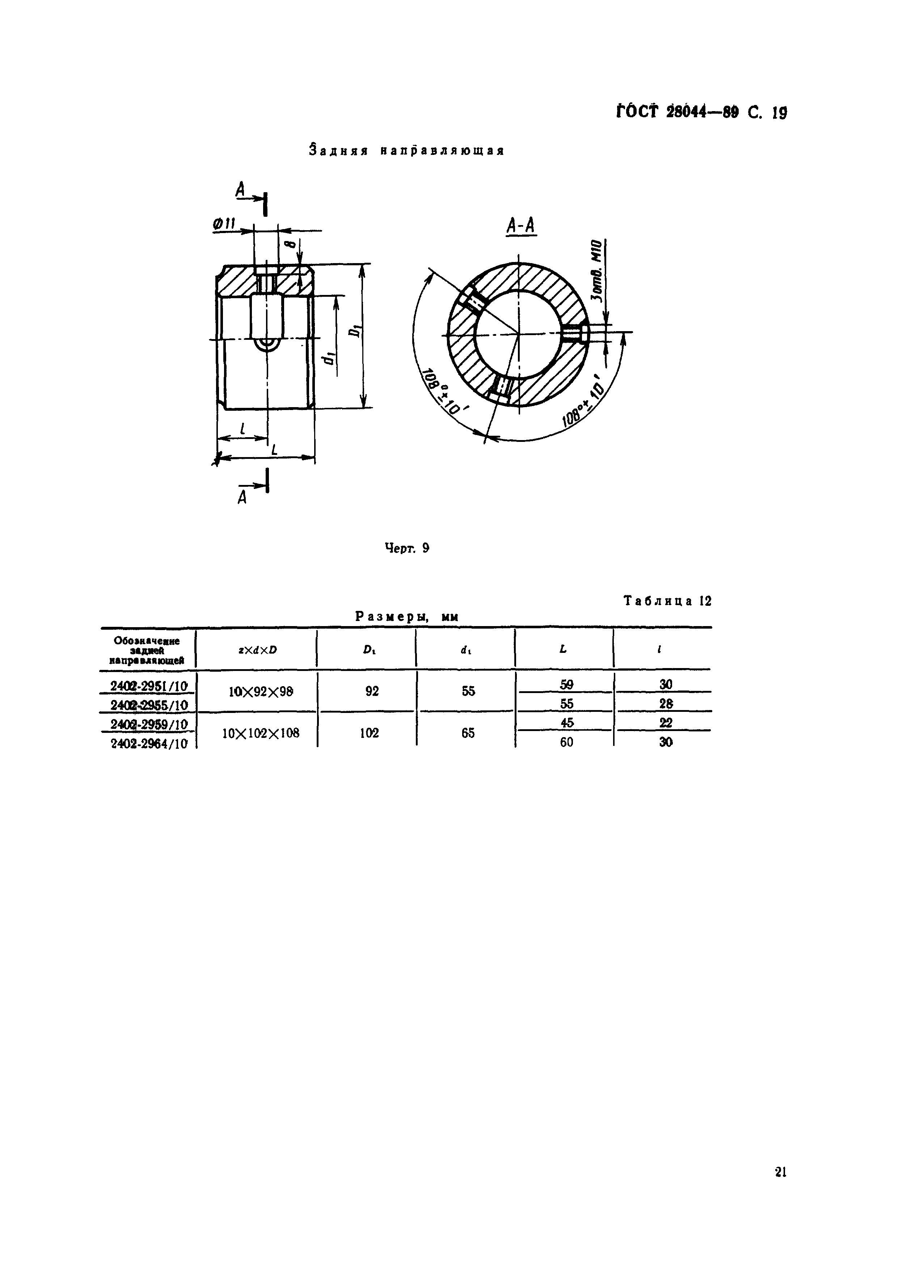
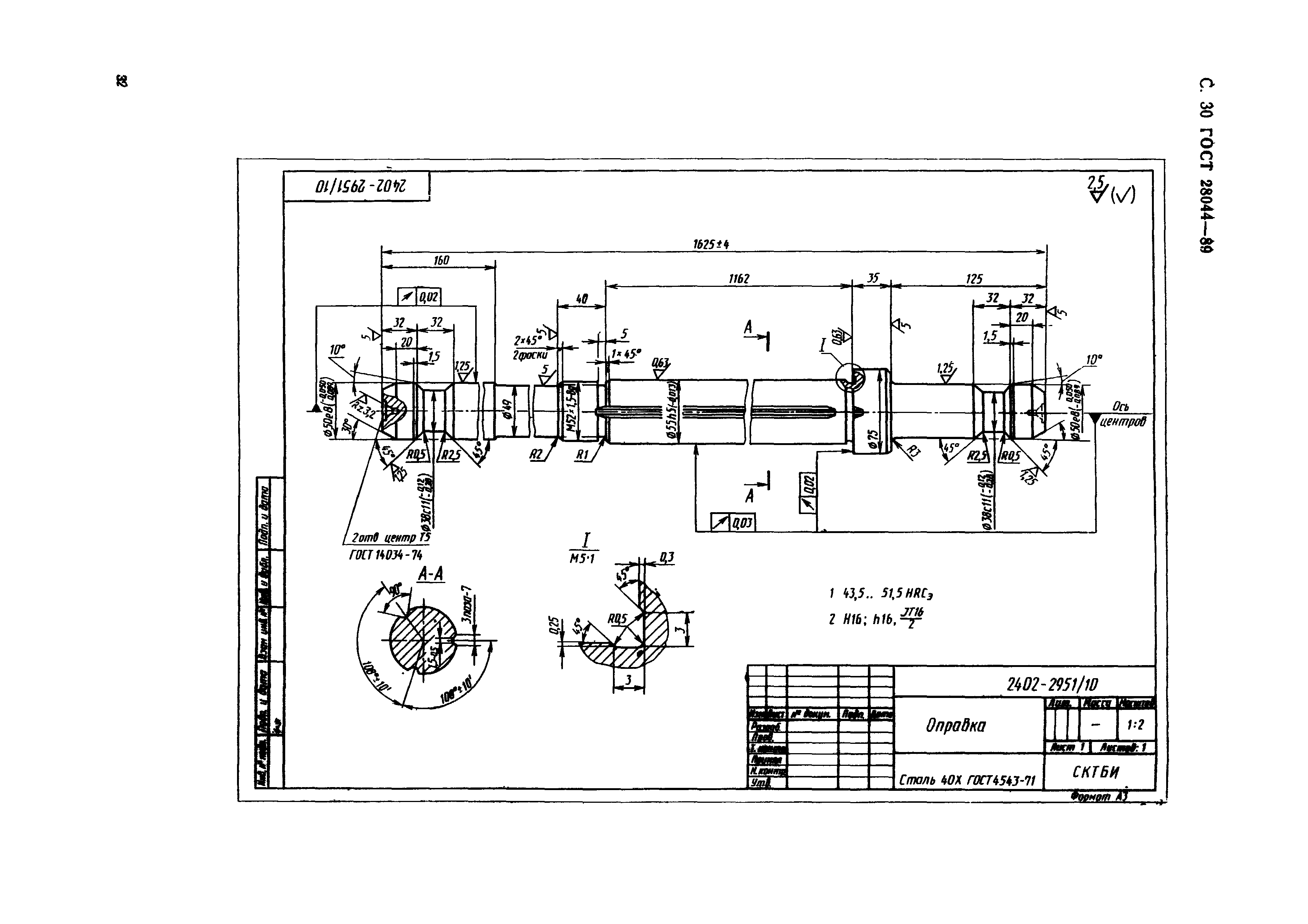
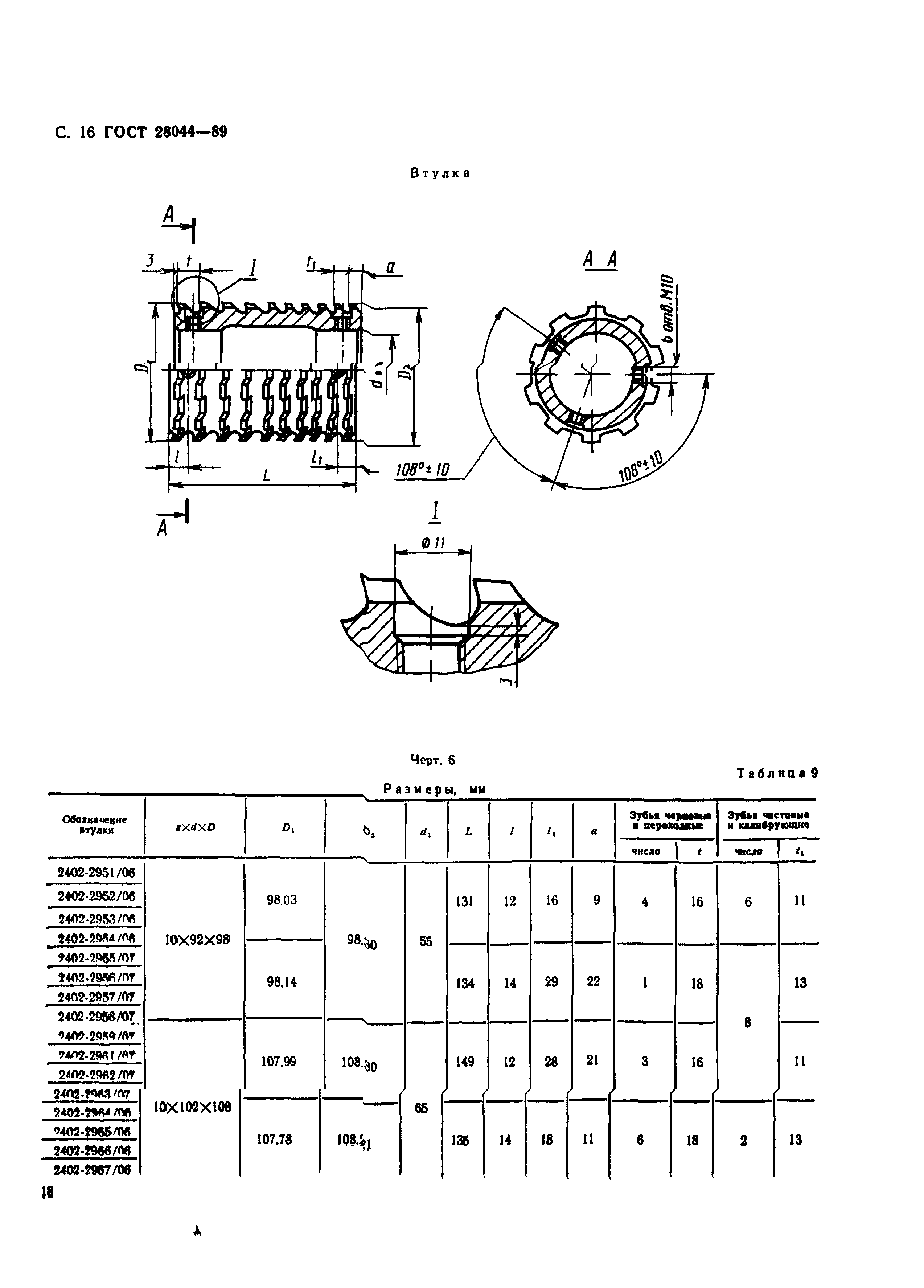
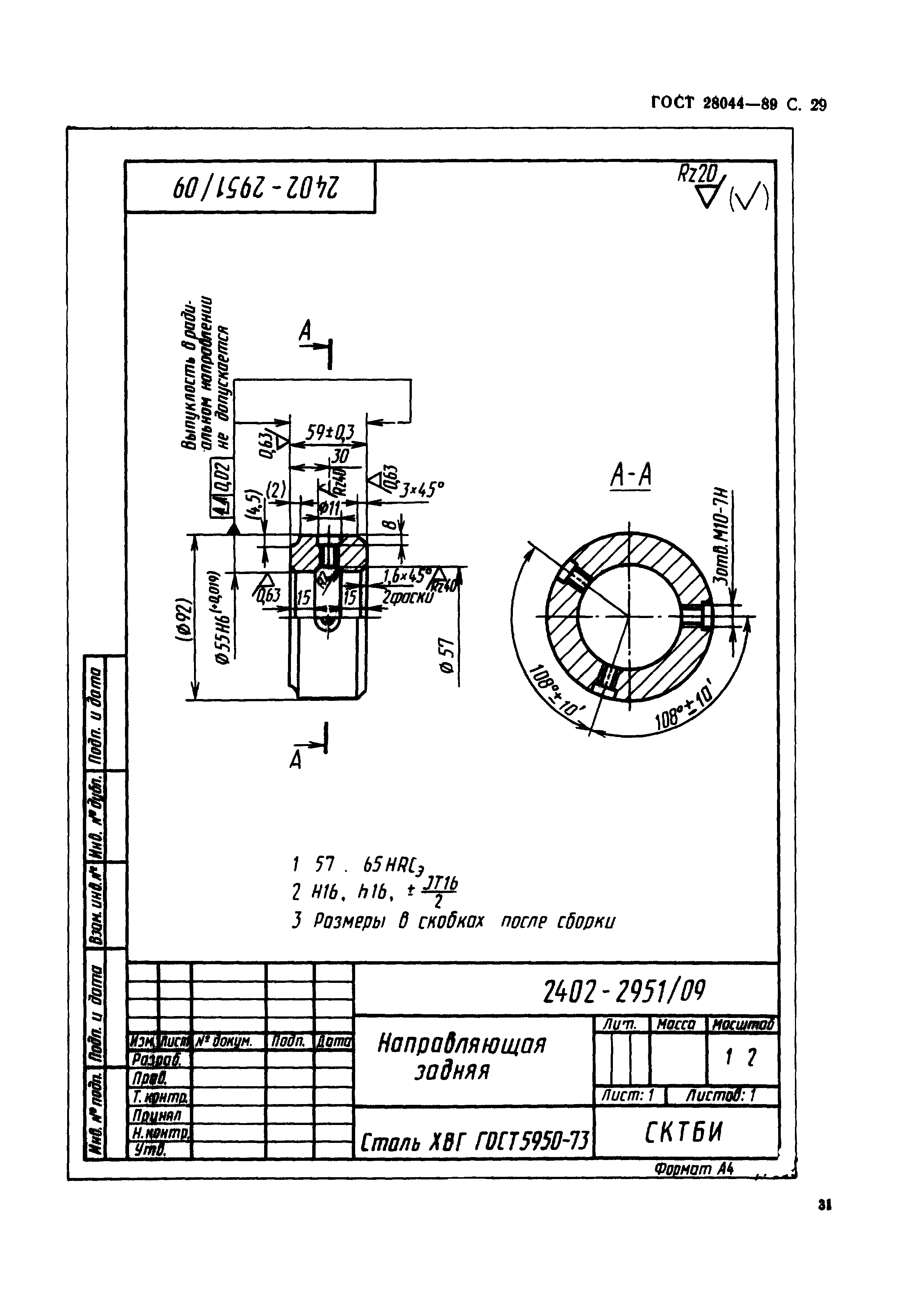
Оглавление:Приложение 1 (справочное) Конструктивные размеры деталей и протяжек
Разработан: Министерство станкостроительной и инструментальной промышленности
Утверждён:16.03.1989 Государственный комитет СССР по стандартам (USSR National Committee on Standards 515)
Издан: Издательство стандартов (1989 г. )
Нормативные ссылки:
ГОСТ 28044-89ГОСТ 28044-89ГОСТ 28044-89ГОСТ 28044-89ГОСТ 28044-89ГОСТ 28044-89ГОСТ 28044-89ГОСТ 28044-89ГОСТ 28044-89ГОСТ 28044-89ГОСТ 28044-89ГОСТ 28044-89ГОСТ 28044-89ГОСТ 28044-89ГОСТ 28044-89ГОСТ 28044-89ГОСТ 28044-89ГОСТ 28044-89ГОСТ 28044-89ГОСТ 28044-89ГОСТ 28044-89ГОСТ 28044-89ГОСТ 28044-89ГОСТ 28044-89ГОСТ 28044-89ГОСТ 28044-89ГОСТ 28044-89ГОСТ 28044-89ГОСТ 28044-89ГОСТ 28044-89ГОСТ 28044-89ГОСТ 28044-89ГОСТ 28044-89ГОСТ 28044-89ГОСТ 28044-89