Скачать ГОСТ 28449-90 Станции автоматические телефонные. Общие требования по взаимодействию электронных автоматических телефонных станций с координатнымиДата актуализации: 01.01.2021
|
| Обозначение: | ГОСТ 28449-90 |
| Обозначение англ: | GOST 28449-90 |
| Статус: | введен впервые |
| Название рус.: | Станции автоматические телефонные. Общие требования по взаимодействию электронных автоматических телефонных станций с координатными |
| Название англ.: | Automatic telephone exchanges. General requirements for interworking between digital and cross-bar automatic telephone exchanges |
| Дата добавления в базу: | 01.09.2013 |
| Дата актуализации: | 01.01.2021 |
| Дата введения: | 01.07.1991 |
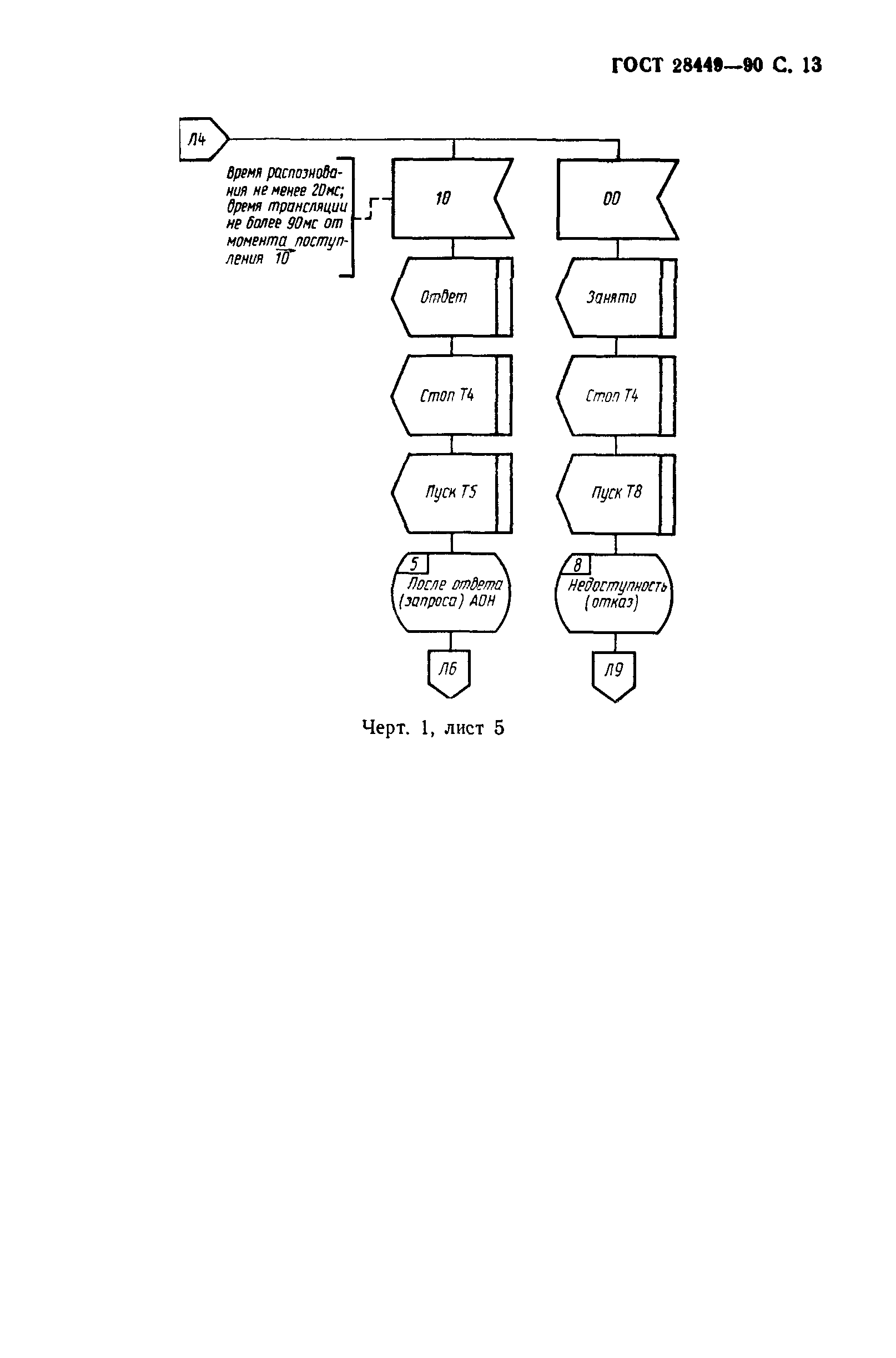
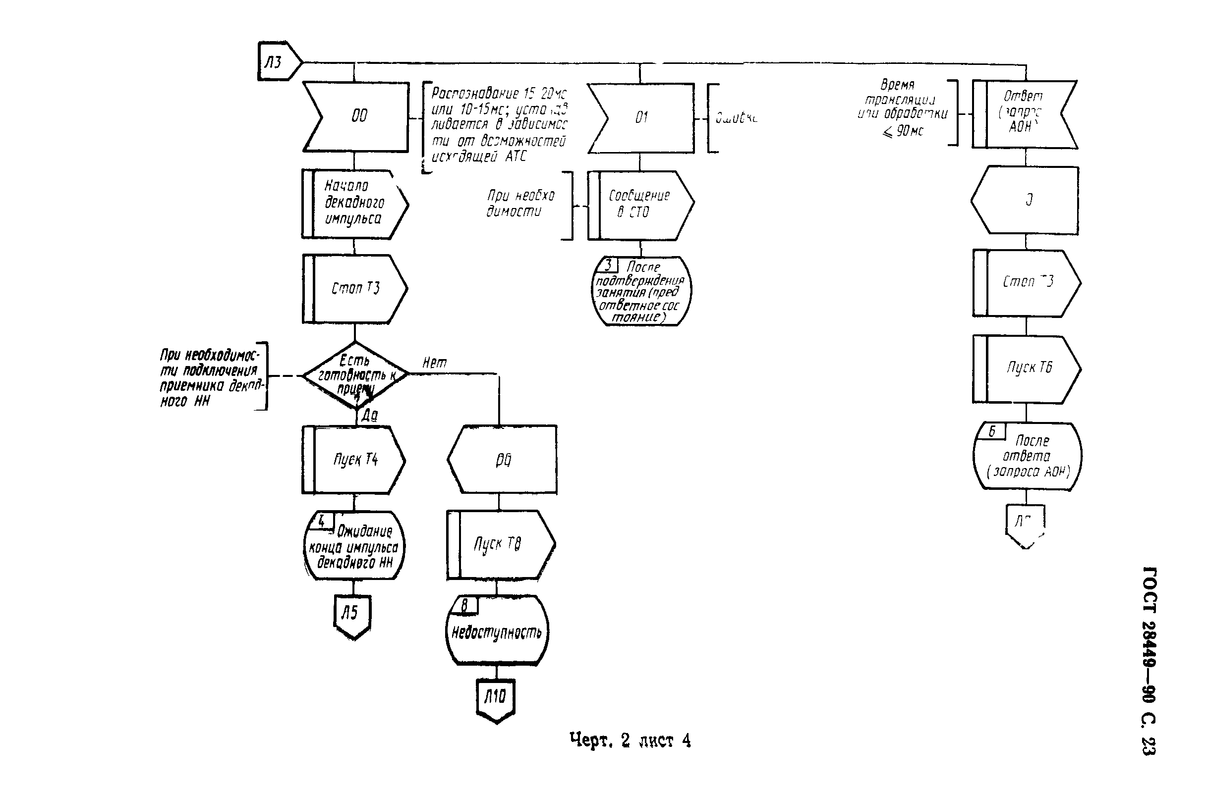
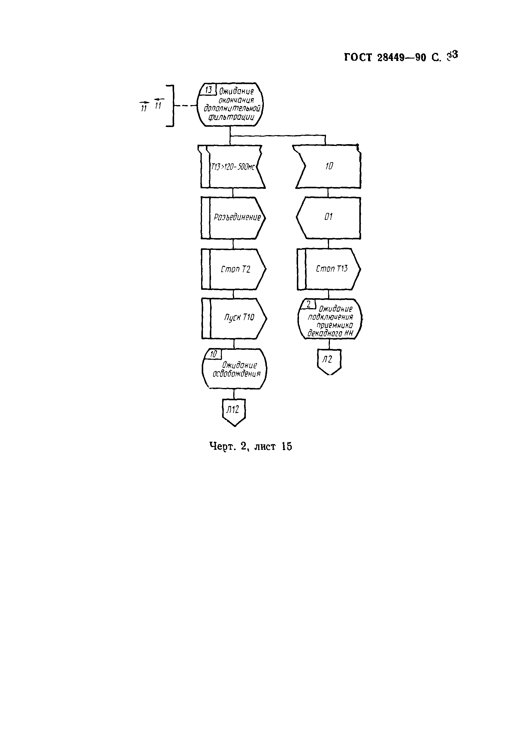
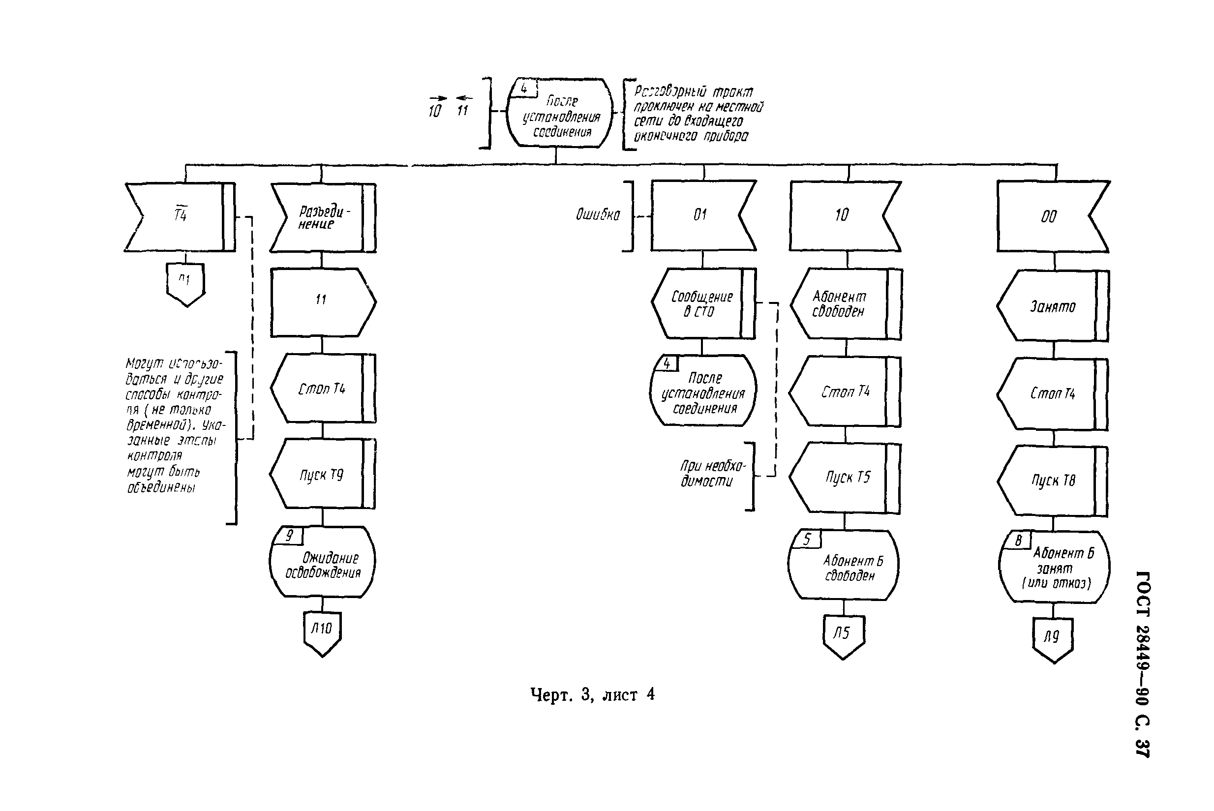
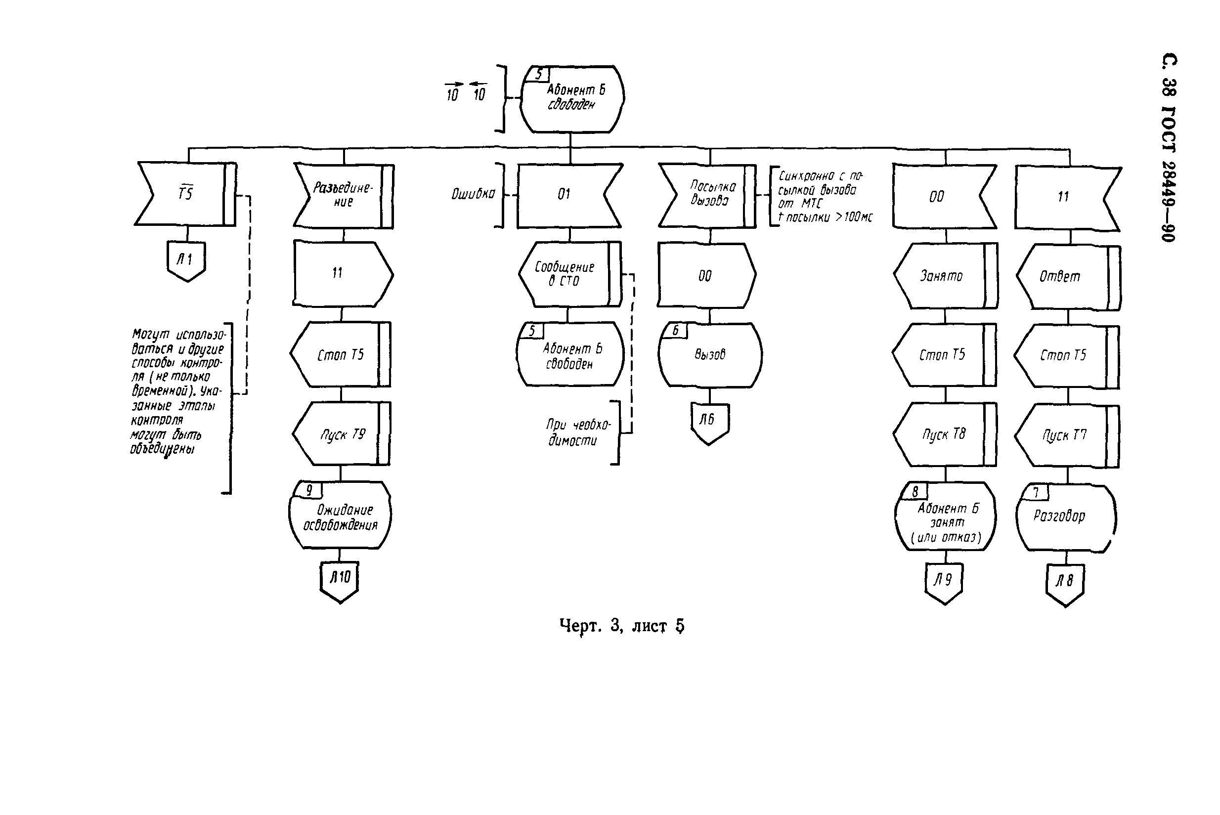
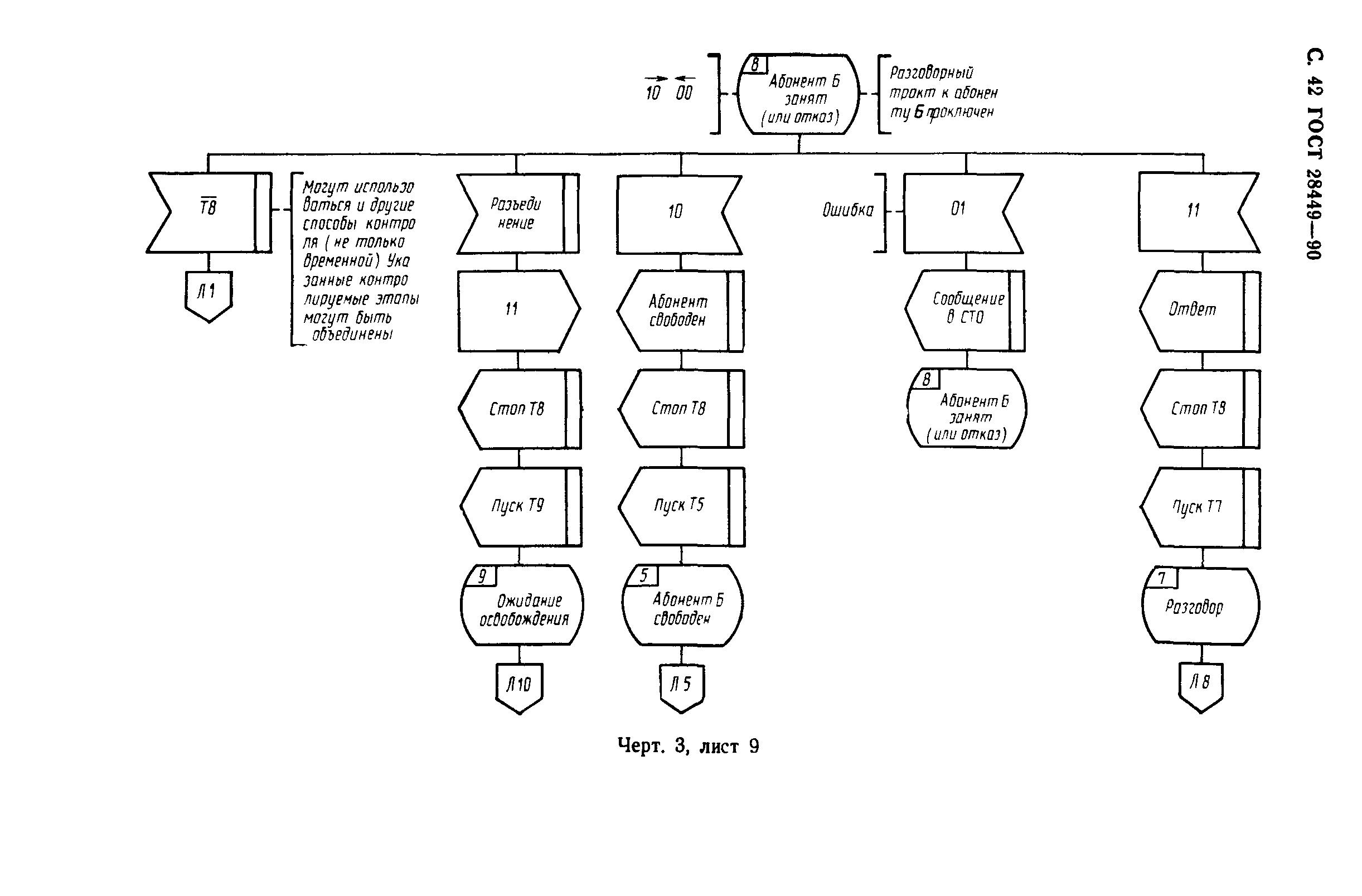
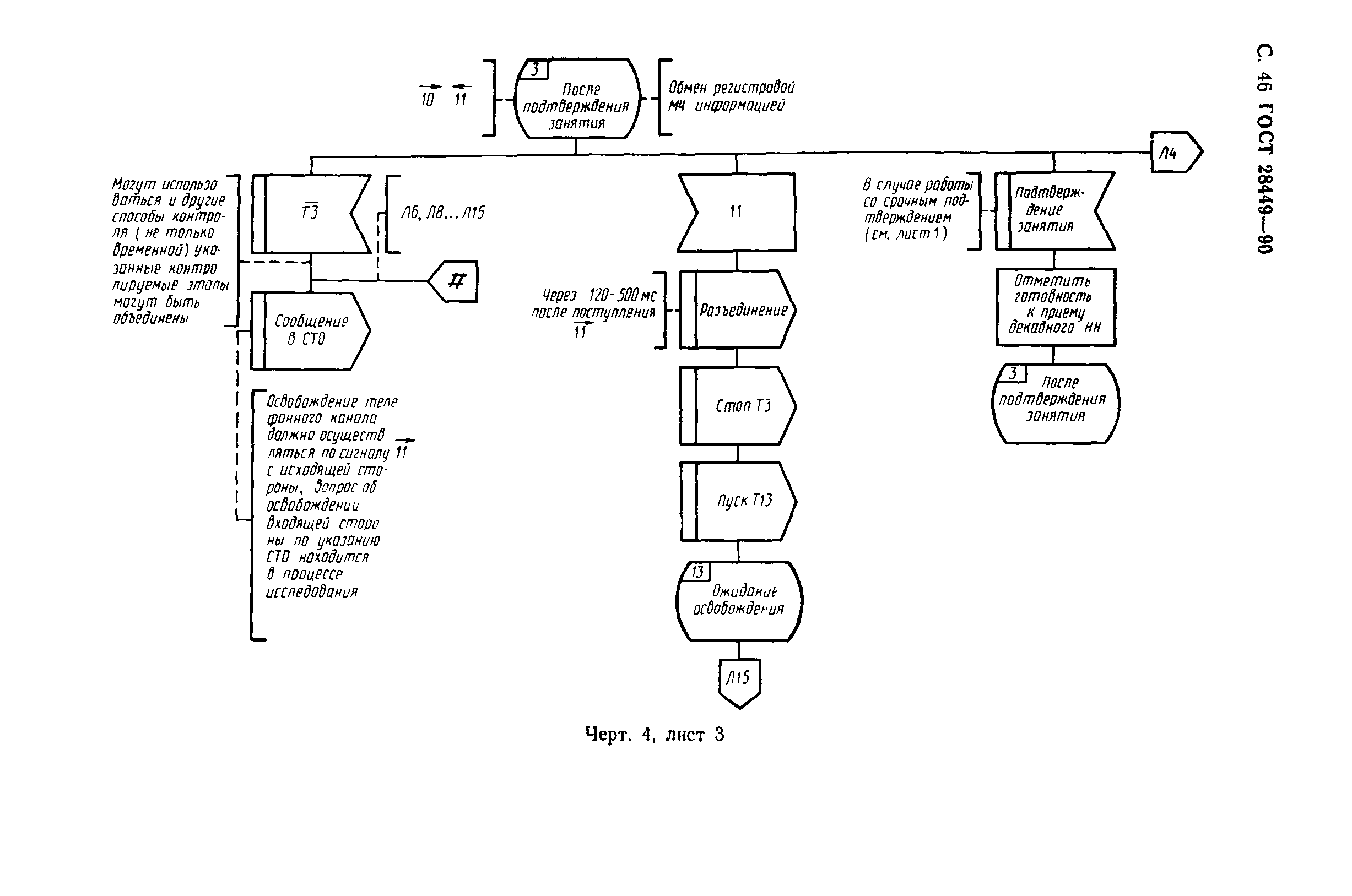
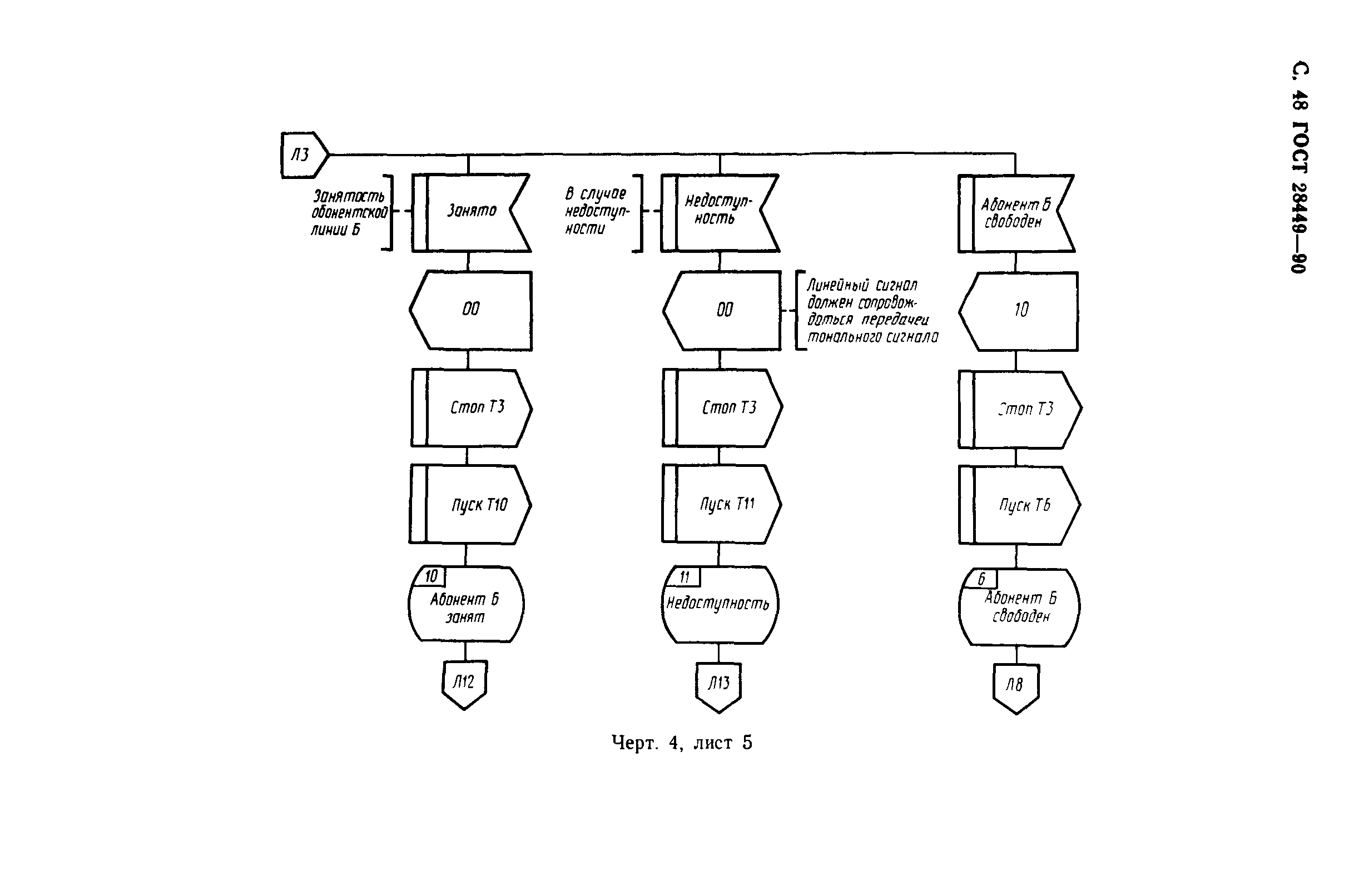
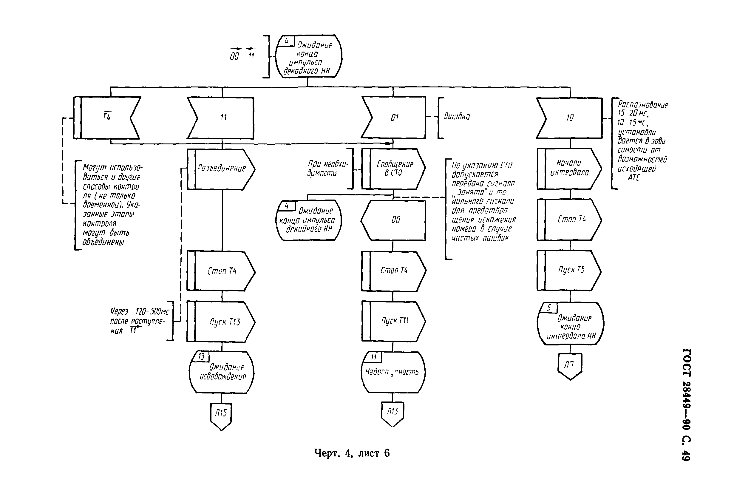
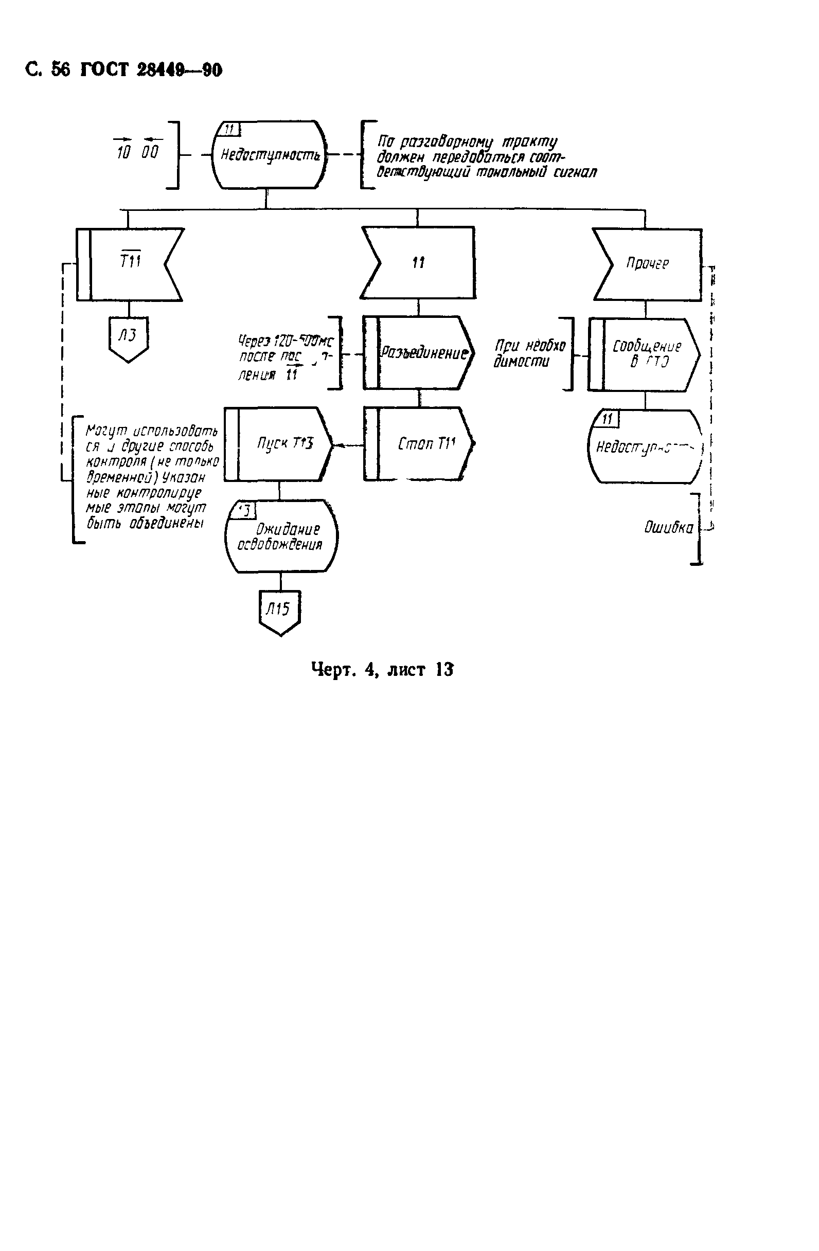
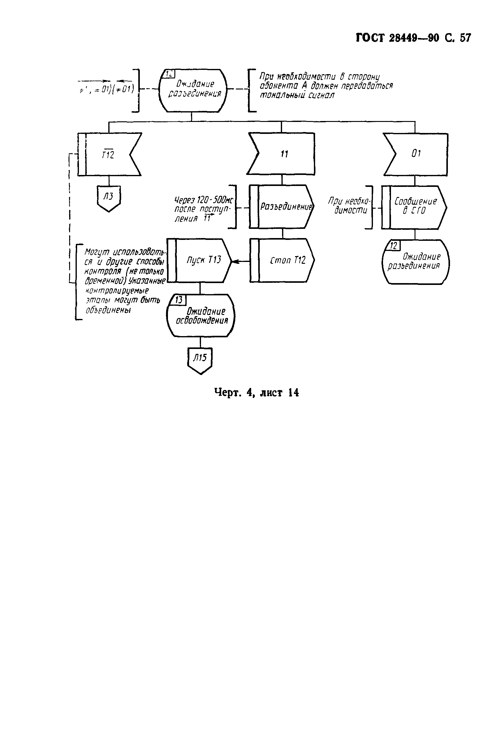
| Область применения: | Стандарт устанавливает общие требования по взаимодействию электронных автоматических телефонных станций (ЭАТС), управляемых по записанной программе, при организации межстанционной связи с координатными АТС (АТСК) по стандартным первичным цифровым каналам передачи Единой автоматизированной сети связи (ЕАСС) при использовании для линейной сигнализации двух выделенных каналов сигнализации (ВКС) в каждом направлении для каждого телефонного канала. |
| Оглавление: | 1. Общие положения 2. Требования к линейным сигналам 3. Требования к сигнальным кодам 4. Алгоритмы установления соединений 5. Действия при сбоях и нарушениях последовательности обмена |
| Утверждён: | 26.02.1990 Госстандарт СССР (USSR Gosstandart 271) |
| Издан: | Издательство стандартов (1990 г. ) |
| Нормативные ссылки: |





























































