Automatic telephone exchanges. General requirements for interworking between digital and cross-bar automatic telephone exchanges

ГОСУДАРСТВЕННЫЙ СТАНДАРТ СОЮЗА ССР

 

СТАНЦИИ АВТОМАТИЧЕСКИЕ
ТЕЛЕФОННЫЕ

ОБЩИЕ ТРЕБОВАНИЯ ПО ВЗАИМОДЕЙСТВИЮ
ЭЛЕКТРОННЫХ АВТОМАТИЧЕСКИХ ТЕЛЕФОННЫХ
СТАНЦИЙ С КООРДИНАТНЫМИ

 

ГОСТ 28449-90

 

 

 

ГОСУДАРСТВЕННЫЙ КОМИТЕТ СССР ПО УПРАВЛЕНИЮ
КАЧЕСТВОМ ПРОДУКЦИИ И СТАНДАРТАМ

Москва

 

ГОСУДАРСТВЕННЫЙ СТАНДАРТ СОЮЗА ССР

СТАНЦИИ АВТОМАТИЧЕСКИЕ ТЕЛЕФОННЫЕ

Общие требования по взаимодействию
электронных автоматических телефонных
станций с координатными

Automatic telephone exchanges.

General requirements for interworking between digital
and crossbar automatic telephone exchanges

ГОСТ
28449-90

Срок действия с 01.07.91

до 01.07.96

Настоящий стандарт устанавливает общие требования по взаимодействию электронных автоматических телефонных станций (ЭАТС), управляемых по записанной программе, при организации межстанционной связи с координатными АТС (АТСК) по стандартным первичным цифровым каналам передачи Единой автоматизированной сети связи (ЕАСС) при использовании для линейной сигнализации двух выделенных каналов сигнализации (ВКС) в каждом направлении для каждого телефонного канала.

1. ОБЩИЕ ПОЛОЖЕНИЯ

1.1. Первичные цифровые каналы ЕАСС должны формироваться каналообразующим оборудованием (аналого-цифровое оборудование, оборудование линейного тракта, вторичные, третичные и цифровые мультиплексоры).

1.2. Аналого-цифровое оборудование следует располагать на стороне координатной АТС.

1.3. Параметры первичного сетевого стыка - по ГОСТ 26886 и ГОСТ 27285.

1.4. В пределах городских телефонных сетей рекомендуется применять линейные тракты без линейных регенераторов.

1.5. В зависимости от положения в сети первичные цифровые каналы ЕАСС называются соединительными линиями (СЛ), заказно-соединительными линиями (ЗСЛ) и соединительными линиями междугородной связи (СЛМ).

СЛ используют для местной связи в пределах географической зоны.

ЗСЛ используют для исходящей связи к автоматической междугородной телефонной станции (АМТС).

СЛМ используют для входящей связи от АМТС.

2. ТРЕБОВАНИЯ К ЛИНЕЙНЫМ СИГНАЛАМ

2.1. Назначение

2.1.1. Линейные сигналы передаются по межстанционным и внутристанционным линиям, по телефонным каналам и специально выделенным трактам как в прямом (по ходу установления соединения от вызывающего абонента А к вызываемому абоненту Б), так и в обратном направлении.

2.1.2. Линейные сигналы должны отмечать основные этапы установления соединения от занятия телефонного канала до полного его освобождения.

2.2. Сигналы прямого направления передачи

2.2.1. Сигнал «Занятие» должен передаваться исходящей АТС в сторону входящей АТС, означать начало установления соединения по данному каналу и являться для входящей АТС командой для подготовки к взаимодействию с исходящей АТС.

С учетом особенностей исходящей стороны возможны три варианта реакции входящей АТС на сигнал «Занятие»:

1) распознавание и передача подтверждения через 10 - 20 мс после поступления сигнала «Занятие»;

2) передача подтверждения только после подготовки приемника декадного набора номера.

Учитывая возможность работы с исходящими АТС, передающими декадные импульсы набора номера вслед за занятием, время подготовки к приему этих импульсов должно быть не более 70 мс. В случае поступления первого импульса до готовности к приему в сторону исходящей АТС должен быть передан отказ в виде линейного сигнала «Занято» и тонального сигнала;

3) время распознавания сигнала «Занятие» определяется скоростью его обработки на входящей АТС в качестве неприоритетного сигнала. Этот вариант может быть использован, если исходящая АТС не передает информацию декадным способом, либо передает такую информацию, только получив подтверждение занятия, а также если входящая АТС готова к приему декадных импульсов набора одновременно с занятием.

2.2.2. Сигнал «Отбой вызывающего абонента» должен передаваться от исходящей АТС, работающей по двусторонней системе разъединения, непрерывно до отбоя вызванного абонента.

2.2.3. Сигнал «Разъединение» (снятие сигнала «Занятие») должен передаваться для освобождения занятых соединением цепей входящей АТС и может формироваться на любом этапе соединения, кроме этапа ожидания подтверждения занятия при установлении исходящих соединений.

2.2.4. Сигнал «Посылка вызова» должен передаваться только при междугородном соединении. Периодичность и длительность этого сигнала должны определяться приборами АМТС и повторяться АТС, транслирующей сигнал «Посылка вызова» в другую АТС или соответствующий ему вызывной сигнал частотой 26 Гц в абонентскую линию.

2.2.5. Исходящая ЭАТС должна формировать сигналы «Декадный набор номера» с параметрами, приведенными в табл. 1.

Таблица 1

Параметры линейных сигналов

Наименование параметра

Длительность, мс

Примечание

номин.

пред. откл.

Импульс

50

±3

Интервал между импульсами в серии

50

±3

Интервал между сериями, не менее

650

-

1. В случае трансляции верхний предел зависит от абонента.

2. При передаче ранее принятого номера интервал от 650 до 750 мс

Время задержки начала передачи сигналов

400

±100

2.2.6. Входящая ЭАТС должна обеспечивать прием сигналов «Декадный набор номера» от приборов действующих АТС с возможностью вариации времени распознавания от 15 до 20 мс или от 10 до 15 мс в зависимости от технических возможностей действующих АТС.

2.3. Сигналы обратного направления передачи

2.3.1. Сигнал «Доступность» (контроль исходного состояния) должен передаваться входящей АТС в сторону исходящей и означать готовность входящей АТС к приему занятия для установления соединения от исходящей АТС.

2.3.2. Сигнал «Блокировка» должен передаваться входящей АТС в сторону исходящей АТС и означать неготовность входящей АТС к приему занятия по причине неисправности оборудования или в результате действия системы технического обслуживания (СТО) входящей АТС.

Время распознавания сигнала «Блокировка» должно быть не более 30 мс, так как он формируется при занятости групповых приборов и задержка передачи и распознавания этого сигнала приводит к дополнительным потерям. От входящей ЭАТС сигнал «Блокировка» должен передаваться не позднее чем через 10 мс после появления его признака.

2.3.3. Сигнал «Подтверждение занятия», который является вторым этапом занятия канала, должен передаваться от входящей АТС и означать готовность к приему декадных импульсов набора номера и запрет нового занятия уже занятого телефонного канала.

Примечание. Сигналом готовности к приему многочастотной информации должна быть соответствующая двухчастотная комбинация - запрос цифры, передаваемая по разговорному тракту.

2.3.4. Сигнал «Ответ вызываемого абонента» должен передаваться входящей АТС в сторону исходящей АТС, означая снятие трубки вызываемым абонентом, и может быть использован для таксации и т.п.

2.3.5. Сигнал «Запрос автоматического определения номера» («Запрос АОН») должен иметь линейный код и положение в последовательности установления соединения, аналогичные сигналу «Ответ» (соединение по СЛ и ЗСЛ). Различие заключается в передаче со стороны источника запроса (например, АМТС), кроме линейного сигнала, частотной посылки 500 Гц.

Время трансляции через каждую АТС или время обработки на конечной АТС линейного сигнала «Ответ» («Запрос АОН») должно быть от 20 до 90 мс, чтобы гарантировать прием частотной посылки, передаваемой по разговорному тракту без задержек на трансляцию.

2.3.6. Сигнал «Снятие запроса АОН» должен передаваться по окончании приема информации АОН, перед повторным запросом АОН и в качестве подготовительного прерывания перед запросом АОН в разговорном состоянии. В отдельных случаях этот сигнал трактуется действующими сетями при трансляции сигнала местного соединения как «Отбой вызванного абонента». Прием сигнала «Снятие запроса АОН» должен вызывать переход приборов, участвующих в создании разговорного тракта, в предответное состояние, при этом должны сохраняться проключение разговорных цепей для передачи по ним частотной информации и возможность трансляции декадных импульсов набора номера.

2.3.7. Сигнал «Абонент Б свободен» или «Отбой абонента Б» должен передаваться по СЛМ при установлении входящих междугородных соединений. Он свидетельствует о свободности требуемой абонентской линии и является разрешением для передачи посылки вызова.

2.3.8. Сигнал «Занято» должен передаваться в случае занятости или недоступности вызываемой абонентской линии или промежуточных соединительных путей. Линейный сигнал должен сопровождаться соответствующим тональным сигналом, передаваемым по разговорным цепям.

2.3.9. Сигнал «Отбой вызываемого абонента» при местных соединениях должен передаваться после окончания разговора по инициативе вызываемого абонента. Этот сигнал должен сопровождаться соответствующим тональным сигналом от оконечной входящей АТС.

2.4. Временные параметры приема и передачи линейных сигналов

2.4.1. Время распознавания изменения состояния сигнализации - диапазон гарантированного обнаружения и необнаружения сигнала ЭАТС.

Время распознавания должно определяться требованиями к защите от помех и ложных сигналов, должно быть более времени распознавания выхода системы из синхронизма и составлять не менее 10 мс.

2.4.2. Время обработки - максимально допустимое время реализации сигнала функцией верхнего уровня (обработки вызова) ЭАТС. Например, при приеме сигнала «Блокировка» время обработки составит максимально допустимое время от появления значащего состояния в соответствующих позициях стыка по ГОСТ 27285 до окончания записи соответствующего указателя в таблице состояния каналов.

2.4.3. Время трансляции определяется максимально допустимым временем от момента появления значащего состояния на входе ЭАТС до момента появления соответствующего значения на выходе ЭАТС.

2.4.4. Время ожидания изменения каждого состояния или группы состояний определяется контрольной выдержкой времени, по истечении которой в СТО должна передаваться соответствующая информация; дальнейшая работа ЭАТС должна быть подчинена решению СТО. Допускаются и другие способы контроля (кроме временного).

2.4.5. Все временные параметры, в том числе отдельные параметры обработки вызова, определяемые техническими требованиями к линейной сигнализации, указаны в схемах алгоритмов.

Временные параметры, значения которых в схемах алгоритмов не приводятся, отражают особенности обработки вызова и специфику разработки конкретной системы.

3. ТРЕБОВАНИЯ К СИГНАЛЬНЫМ КОДАМ

3.1. Управление установлением соединения, разъединением и блокировкой по каждому информационному каналу должно осуществляться посредством обмена сигнальной информацией по двум выделенным каналам сигнализации по ГОСТ 27285.

3.2. Сигнальная информация в ВКС должна быть представлена в виде сигнальных кодов из двух логических символов «а» и «в» на один разговорный канал в каждом направлении передачи.

Значения кодов передачи линейных сигналов по СЛ и ЗСЛ приведены в табл. 2, по СЛМ - в табл. 3.

3.3. При местной входящей и исходящей связи по СЛ, а также при исходящей связи к АМТС по ЗСЛ должен использоваться сигнальный код передачи линейных сигналов по СЛ.

3.4. При входящей связи от АМТС должен использоваться код передачи линейных сигналов по СЛМ.

Таблица 2

Сигнальный код передачи линейных сигналов по СЛ, ЗСЛ при сигнализации по двум ВКС

Линейный сигнал

Направление передачи в ВКС

Состояние каналов сигнализации

прямое направление

обратное направление

а

в

а

в

Доступность (контроль исходного состояния)

1

1

0

1

Занятие

1

0

0

1

Подтверждение занятия

1

0

1

1

Декадный набор номера:

импульс

0

0

1

1

интервал (между сериями)

1

0

1

1

Ответ (запрос АОН)

1

0

1

0

Снятие запроса АОН (ответа)

1

0

1

1

Отбой вызывающего абонента после ответа

0

0

1

0

Отбой вызванного абонента

X

0

0

0

Занято

1

0

0

0

Разъединение на любом этапе

1

1

X

X

Блокировка

1

1

1

1

Таблица 3

Сигнальный код передачи линейных сигналов по СЛМ при сигнализации по двум ВКС

Линейный сигнал

Направление передачи в вкс

Состояние каналов сигнализации

прямое направление

обратное направление

а

в

а

в

Доступность (контроль исходного состояния)

1

1

0

1

Занятие

1

0

0

1

Подтверждение занятия

1

0

1

1

Декадный набор номера:

импульс

0

0

1

1

интервал (между сериями)

1

0

1

1

Абонент Б свободен или отбой абонента Б

0

0

1

0

Посылка вызова

0

0

1

0

Ответ

X

0

1

1

Занято

1

0

0

0

Разъединение на любом этапе

1

1

1

1

Блокировка

1

1

1

1

Примечание к табл. 2 и 3. Условные обозначения:

1 - отсутствие сигнала (пассивное состояние ВКС);

0 - наличие сигнала (активное состояние ВКС);

X - любое состояние ВКС.

4. АЛГОРИТМЫ УСТАНОВЛЕНИЯ СОЕДИНЕНИЙ

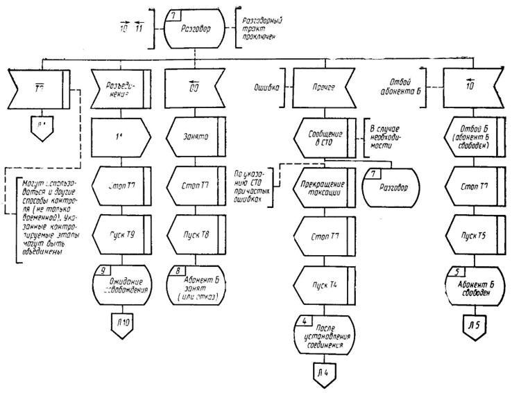
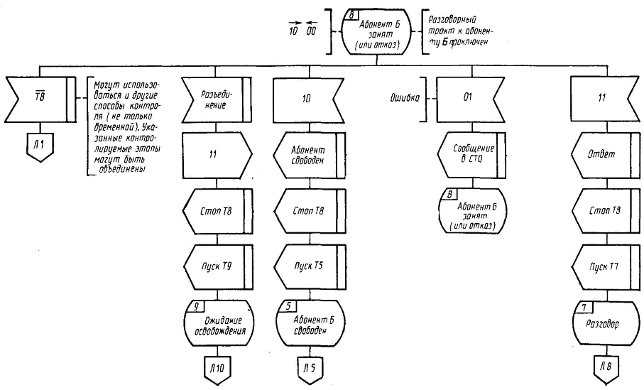
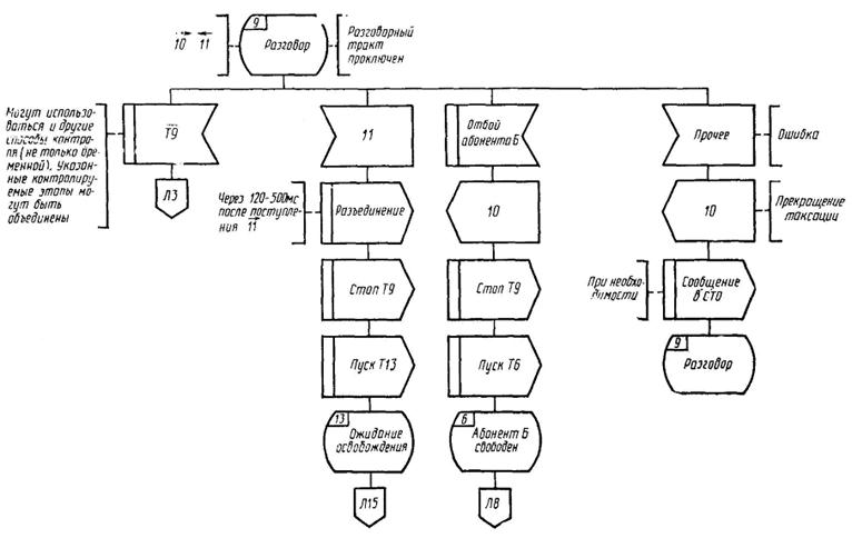
4.1. Алгоритмы исходящего местного соединения в соответствии с черт. 1.

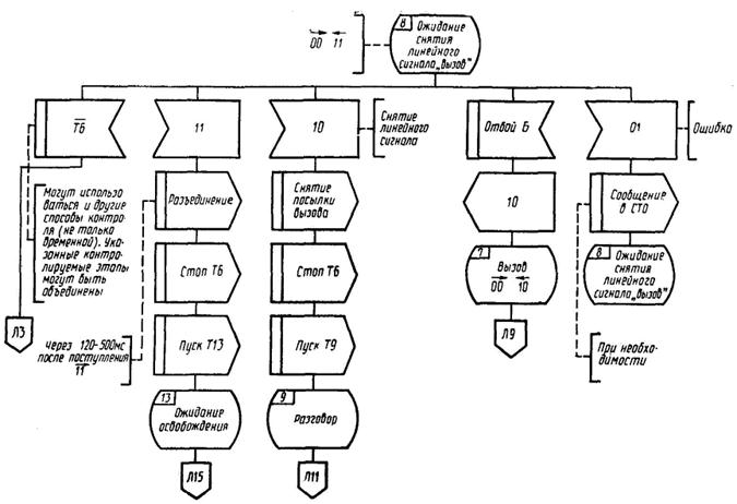
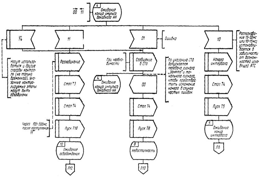
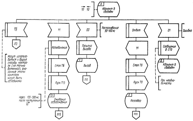
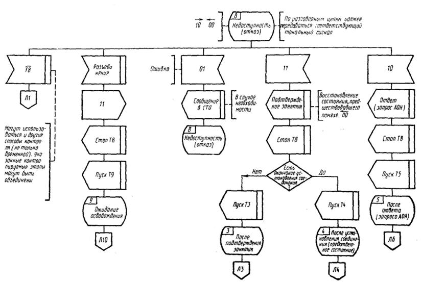
4.2. Алгоритмы входящего местного соединения в соответствии с черт. 2.

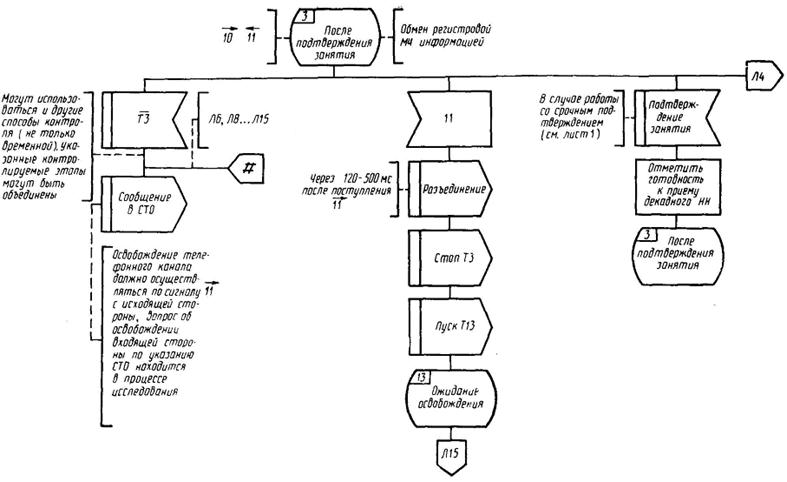
4.3. Алгоритмы исходящего междугородного соединения в соответствии с черт. 3.

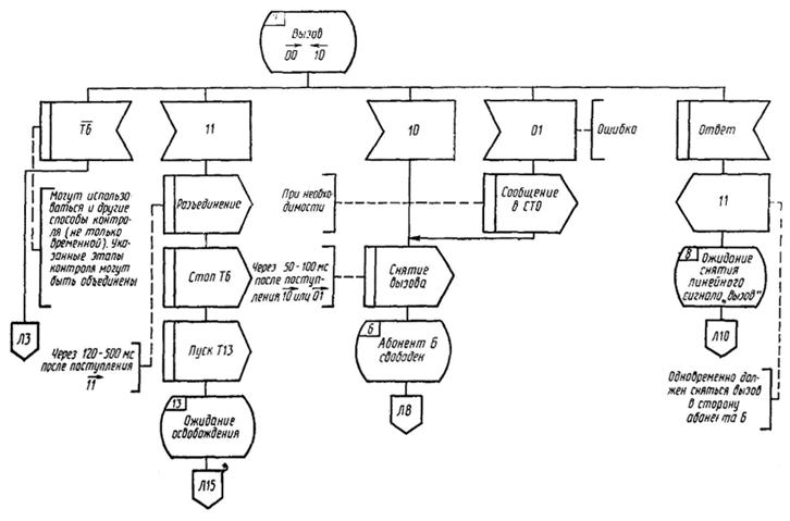
4.4. Алгоритмы входящего междугородного соединения в соответствии с черт. 4.

5. ДЕЙСТВИЯ ПРИ СБОЯХ И НАРУШЕНИЯХ ПОСЛЕДОВАТЕЛЬНОСТИ ОБМЕНА

5.1. Все варианты нарушений в работе аппаратуры не должны приводить к формированию ложного сигнала «Ответ».

5.2. Кратковременный сбой не должен приводить к необратимому нарушению соединения, находившегося до сбоя в разговорном состоянии.

5.3. В случае неисправности группового оборудования все связанные с ним телефонные каналы должны быть заблокированы, а занятые соединением переведены в состояние ожидания разъединения со стороны исходящей АТС или АМТС.

5.4. Ошибки линейной сигнализации (несоответствие сигнальному коду или нарушение очередности передачи линейных сигналов), возникающие после ответа, должны вызвать прекращение таксации.

5.5. Если количество ошибочных состояний каналов сигнализации заметно будет влиять на надежность соединений, то должна быть предусмотрена возможность перестройки алгоритма под управлением СТО.

Алгоритмы исходящего местного соединена


Т - таймеры, число которых от 1 до 10; Т - конец счета таймера

Черт. 1, лист 1


Черт. 1, лист 2


Черт. 1, лист 3


Черт. 1, лист 4

Черт. 1, лист 5


Черт. 1, лист 6

Черт. 1, лист 7

Черт. 1, лист 8

Черт. 1, лист 9


Черт. 1, лист 10

Черт. 1, лист 11


Алгоритмы входящего местного соединения

Т - таймеры, число которых от 1 до 13;  - конец счета таймера

Черт. 2, лист 1

Черт. 2, лист 2

Черт. 2, лист 3

Черт. 2, лист 4

Черт. 2, лист 5

Черт. 2, лист 6

Черт. 2, лист 7


Черт. 2, лист 8


Черт. 2, лист 9


Черт. 2, лист 10

Черт. 2, лист 11


Черт. 2 лист 12


Черт. 2, лист 13

Черт. 2, лист 14

Черт. 2, лист 15

Алгоритмы исходящего междугородного соединений

Т - таймеры, число которых от 1 до 10;  - конец счета таймера

Черт. 3, лист 1


Черт. 3, лист 2

Черт. 3, лист 3

Черт. 3, лист 4

Черт. 3, лист 5

Черт. 3, лист 6


Черт. 3, лист 7


Черт. 3, лист 8

Черт. 3, лист 9


Черт. 3, лист 10

Черт. 3, лист 11


Алгоритмы входящего междугородного соединения

Т - таймеры, число которых от 1 до 15;  - конец счета таймера

Черт. 4, лист 1

Черт. 4, лист 2

Черт. 4, лист 3

Черт. 4, лист 4


Черт. 4, лист 5


Черт. 4, лист 6

Черт. 4, лист 7

Черт. 4, лист 8

Черт. 4, лист 9

Черт. 4, лист 10

Черт. 4, лист 11

Черт. 4, лист 12


Черт. 4, лист 13

Черт. 4, лист 14

Черт. 4, лист 15

Черт. 4, лист 16

Черт. 4, лист 17

 

ИНФОРМАЦИОННЫЕ ДАННЫЕ

1. РАЗРАБОТАН И ВНЕСЕН

РАЗРАБОТЧИКИ

А.Д. Кушнир (руководитель темы), М.Б. Аршанский, А.А. Лосякова, Е.А. Леонтьева

2. УТВЕРЖДЕН И ВВЕДЕН В ДЕЙСТВИЕ Постановлением Государственного комитета СССР по управлению качеством продукции и стандартам от 26.02.90 № 271

3. Срок первой проверки - 1995 г. Периодичность проверки - 5 лет

4. Стандарт соответствует Рекомендациям МККТТ: Q.400 в части п. 2; Q.421, Q.422 в части п. 3

5. ВВЕДЕН ВПЕРВЫЕ

6. ССЫЛОЧНЫЕ НОРМАТИВНО-ТЕХНИЧЕСКИЕ ДОКУМЕНТЫ

Обозначение НТД, на который дана ссылка

Номер пункта

ГОСТ 26886-86

1.3

ГОСТ 27285-87

1.3; 2.4.2; 3.1

СОДЕРЖАНИЕ

1. Общие положения. 1

2. Требования к линейным сигналам.. 2

3. Требования к сигнальным кодам.. 4

4. Алгоритмы установления соединений. 5

5. Действия при сбоях и нарушениях последовательности обмена. 5