Скачать ГОСТ 30198-94 Лыжи гоночные. Технические условия

Дата актуализации: 01.01.2021

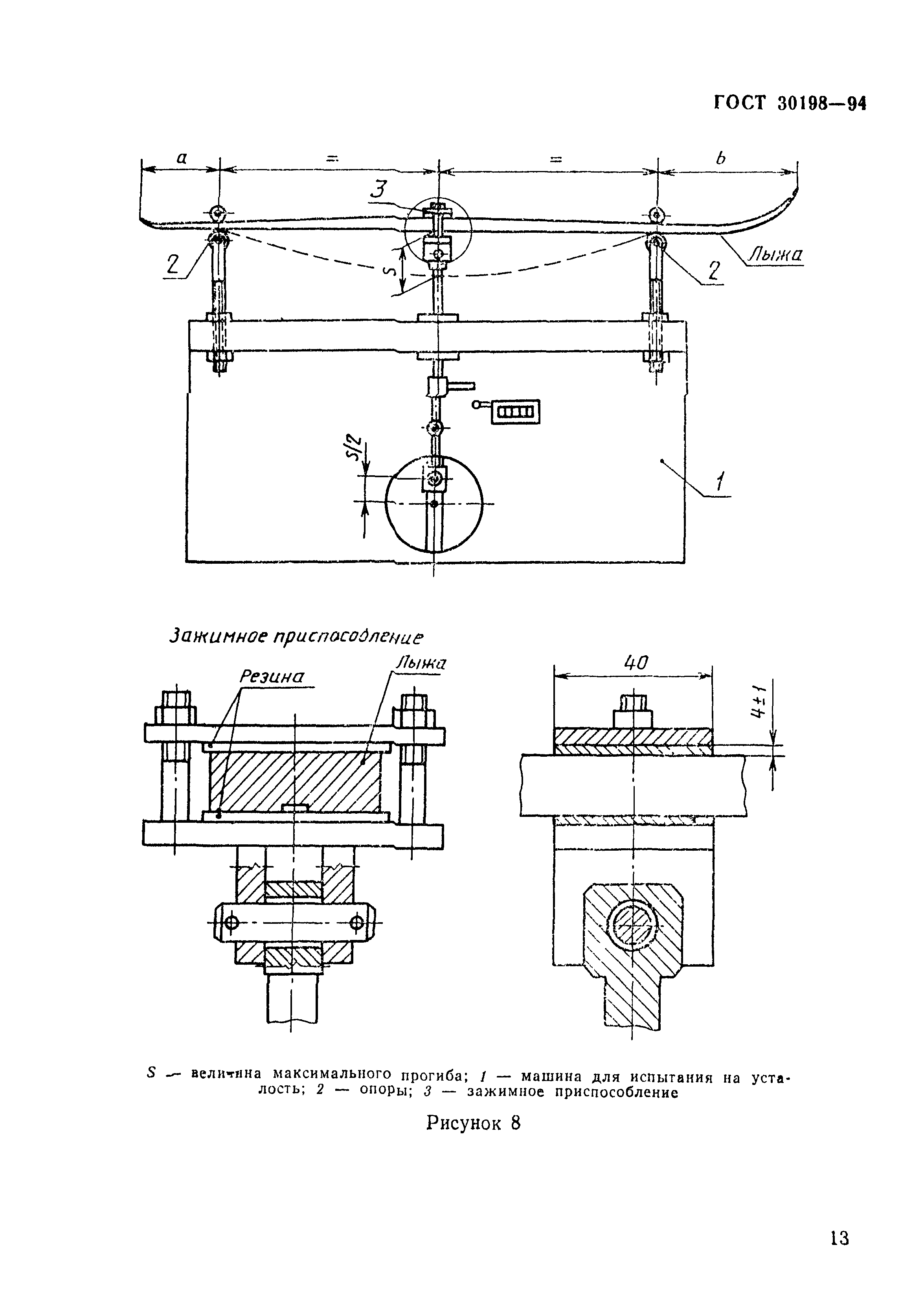
ГОСТ 30198-94

Лыжи гоночные. Технические условия

Обозначение: ГОСТ 30198-94
Обозначение англ: GOST 30198-94
Статус:введен впервые
Название рус.:Лыжи гоночные. Технические условия
Название англ.:Sport (racing) skis. Specifacations
Дата добавления в базу:01.09.2013
Дата актуализации:01.01.2021
Дата введения:01.01.1996
Область применения:Стандарт распространяется на гоночные лыжи, предназначенные для тренировок и соревнований на равнинной и пересеченной местности.
Оглавление:1 Область применения
2 Нормативные ссылки
3 Основные параметры и размеры
4 Технические требования
5 Приемка
6 Методы контроля
7 Транспортирование и хранение
8 Гарантии изготовителя
Разработан: ТК 280 Спортивные и туристические изделия
Утверждён:21.10.1994 Межгосударственный Совет по стандартизации, метрологии и сертификации (Inter-Governmental Council on Standardization, Metrology, and Certification 6-94)
28.02.1995 Комитет Российской Федерации по стандартизации, метрологии и сертификации (86)
Издан: Издательство стандартов (1995 г. )
Нормативные ссылки:
ГОСТ 30198-94ГОСТ 30198-94ГОСТ 30198-94ГОСТ 30198-94ГОСТ 30198-94ГОСТ 30198-94ГОСТ 30198-94ГОСТ 30198-94ГОСТ 30198-94ГОСТ 30198-94ГОСТ 30198-94ГОСТ 30198-94ГОСТ 30198-94ГОСТ 30198-94ГОСТ 30198-94ГОСТ 30198-94ГОСТ 30198-94ГОСТ 30198-94ГОСТ 30198-94