Скачать ГОСТ 31.1066.04-97 Приспособления к металлорежущим станкам. Оправки кулачковые. Общие технические условия

Дата актуализации: 01.01.2021

ГОСТ 31.1066.04-97

Приспособления к металлорежущим станкам. Оправки кулачковые. Общие технические условия

Обозначение: ГОСТ 31.1066.04-97
Обозначение англ: GOST 31.1066.04-97
Статус:действует
Название рус.:Приспособления к металлорежущим станкам. Оправки кулачковые. Общие технические условия
Название англ.:Attachments for metal-cutting tools. Cam arbors. General specifications
Дата добавления в базу:01.09.2013
Дата актуализации:01.01.2021
Дата введения:01.01.1999
Область применения:Стандарт распространяется на кулачковые шпиндельные оправки и кулачковые фланцевые оправки, предназначенные для установки и закрепления толстостенных заготовок при механической обработке на металлорежущих станках.
Оглавление:1 Область применения
2 Нормативные ссылки
3 Технические требования
4 Правила приемки
5 Методы контроля
6 Транспортирование и хранение
7 Гарантии изготовителя
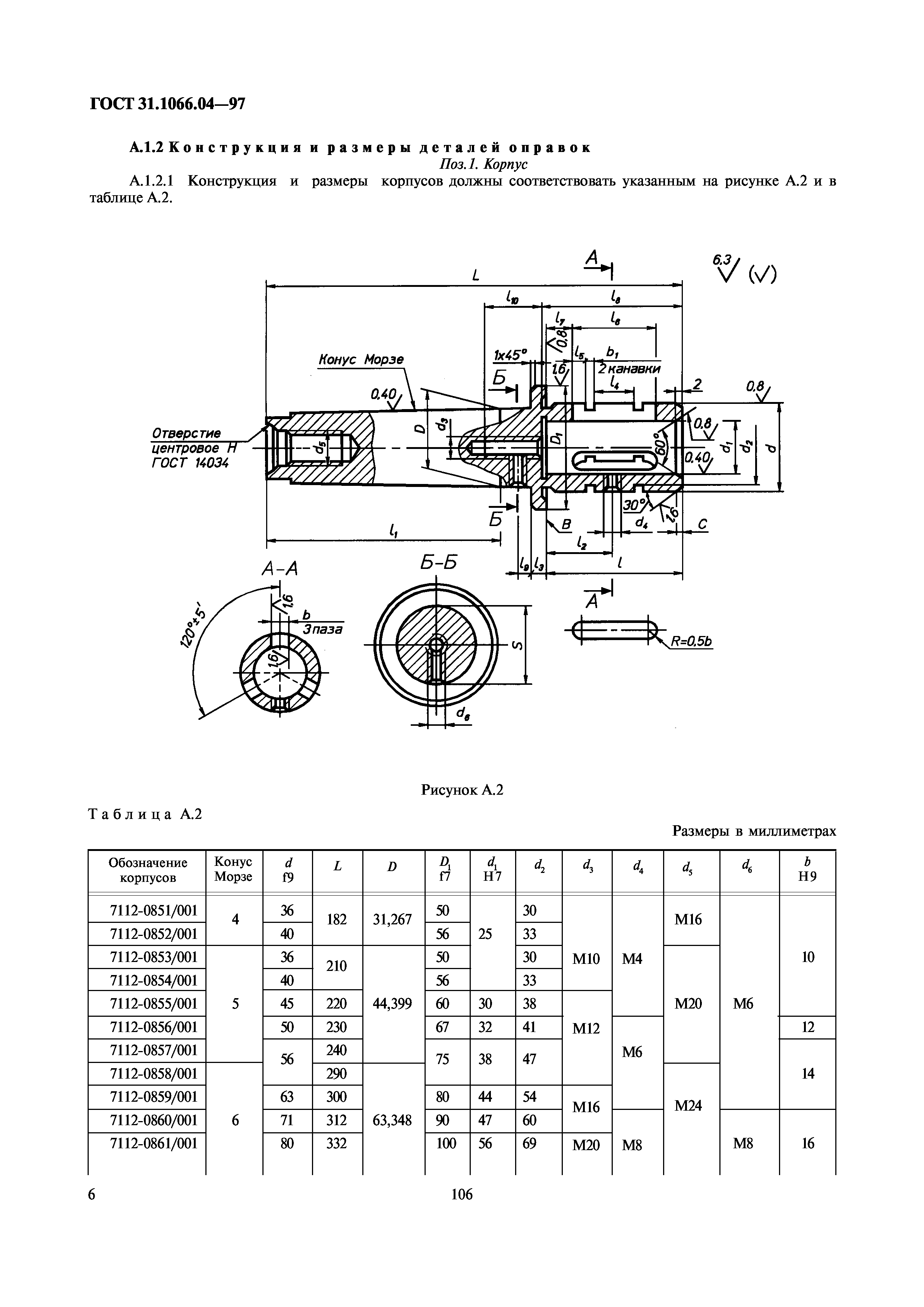
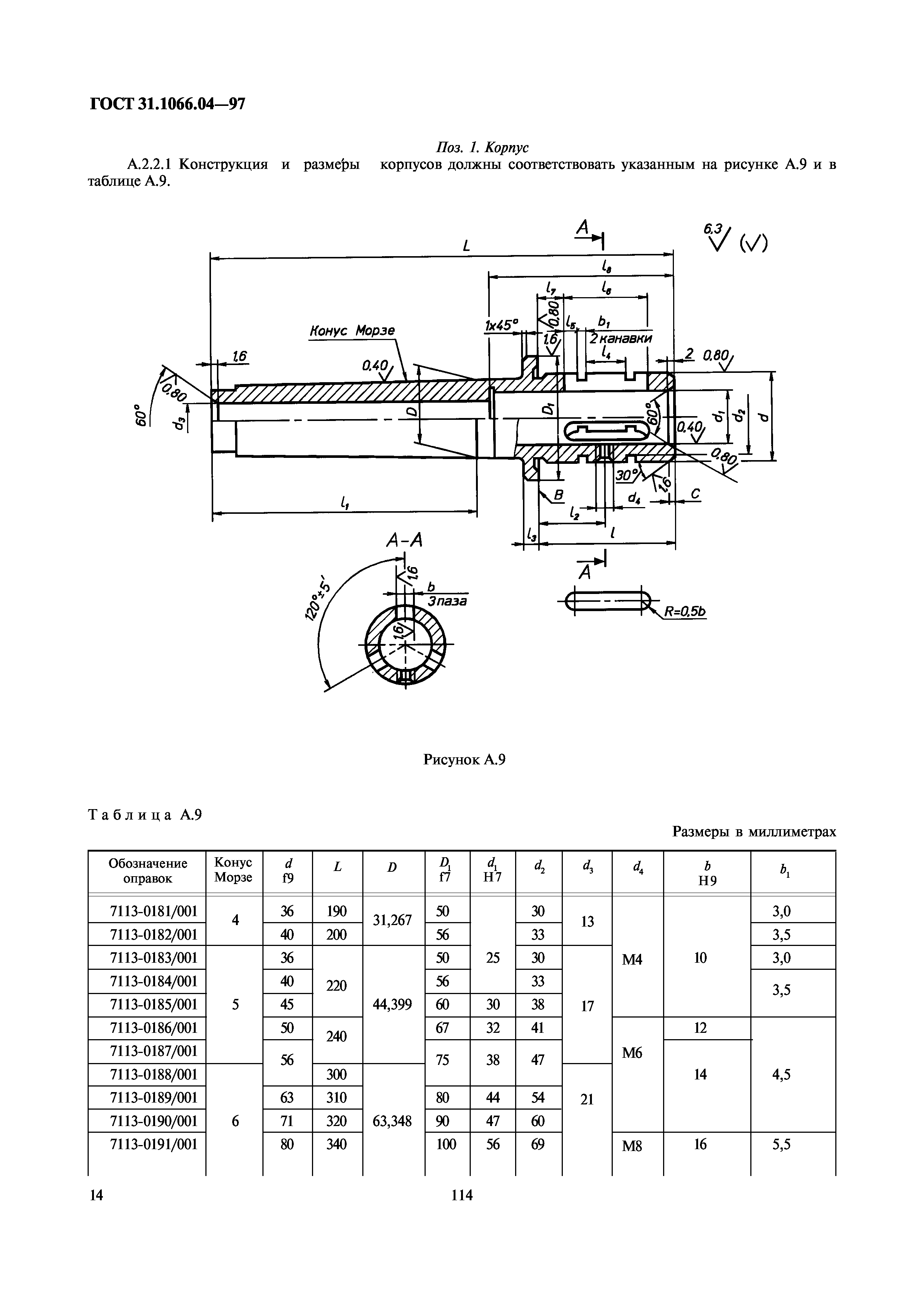
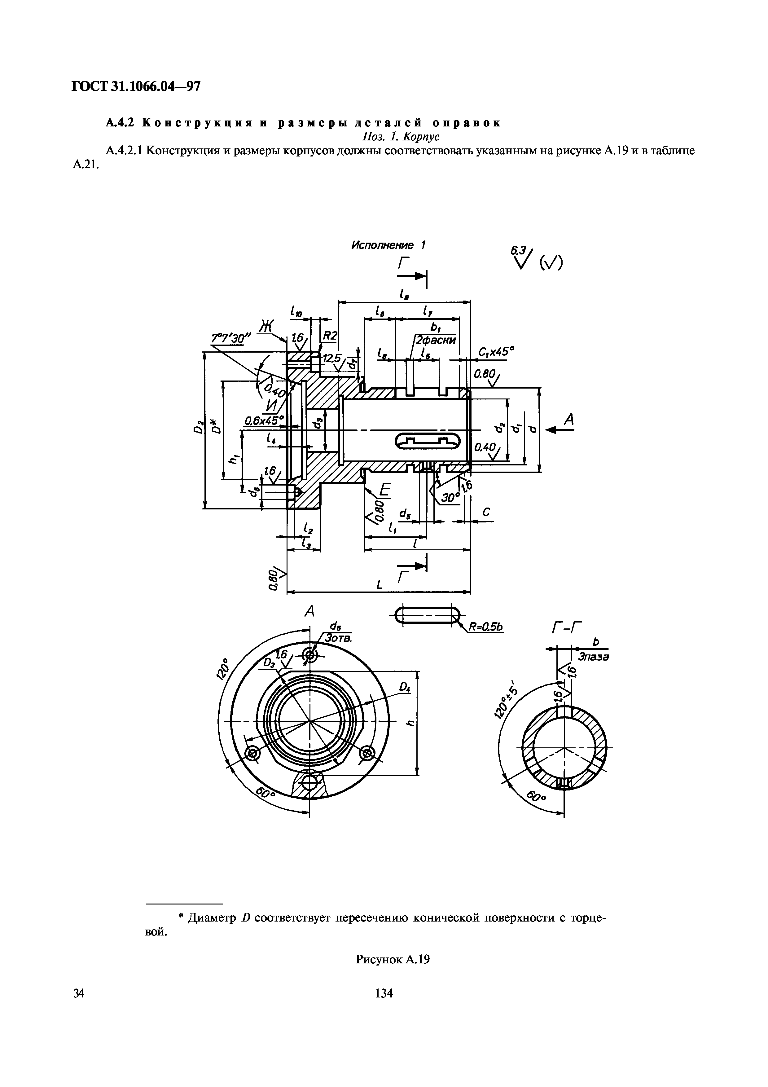
Приложение А (обязательное) Конструкция и размеры
   А.1 Оправки типа 1
   А.2 Оправки типа 2
   А.3 Оправки типа 3
   А.4 Оправки типа 1
Разработан: ТК 224 Технологическая оснастка
Утверждён:14.05.1998 Госстандарт России (Russian Federation Gosstandart 205)
21.11.1997 Межгосударственный Совет по стандартизации, метрологии и сертификации (Inter-Governmental Council on Standardization, Metrology, and Certification 12)
Издан: ИПК Издательство стандартов (1998 г. )
Стандартинформ (2005 г. )
Заменяет собой:
Нормативные ссылки:
ГОСТ 31.1066.04-97ГОСТ 31.1066.04-97ГОСТ 31.1066.04-97ГОСТ 31.1066.04-97ГОСТ 31.1066.04-97ГОСТ 31.1066.04-97ГОСТ 31.1066.04-97ГОСТ 31.1066.04-97ГОСТ 31.1066.04-97ГОСТ 31.1066.04-97ГОСТ 31.1066.04-97ГОСТ 31.1066.04-97ГОСТ 31.1066.04-97ГОСТ 31.1066.04-97ГОСТ 31.1066.04-97ГОСТ 31.1066.04-97ГОСТ 31.1066.04-97ГОСТ 31.1066.04-97ГОСТ 31.1066.04-97ГОСТ 31.1066.04-97ГОСТ 31.1066.04-97ГОСТ 31.1066.04-97ГОСТ 31.1066.04-97ГОСТ 31.1066.04-97ГОСТ 31.1066.04-97ГОСТ 31.1066.04-97ГОСТ 31.1066.04-97ГОСТ 31.1066.04-97ГОСТ 31.1066.04-97ГОСТ 31.1066.04-97ГОСТ 31.1066.04-97ГОСТ 31.1066.04-97ГОСТ 31.1066.04-97ГОСТ 31.1066.04-97ГОСТ 31.1066.04-97ГОСТ 31.1066.04-97ГОСТ 31.1066.04-97ГОСТ 31.1066.04-97ГОСТ 31.1066.04-97ГОСТ 31.1066.04-97ГОСТ 31.1066.04-97ГОСТ 31.1066.04-97