Скачать ГОСТ 17528-72 Оправки кулачковые шпиндельные. Конструкция и размеры

Дата актуализации: 01.01.2021

ГОСТ 17528-72

Оправки кулачковые шпиндельные. Конструкция и размеры

Обозначение: ГОСТ 17528-72
Обозначение англ: GOST 17528-72
Статус:заменен
Название рус.:Оправки кулачковые шпиндельные. Конструкция и размеры
Название англ.:Spindle cam arbors. Design and dimensions
Дата добавления в базу:01.10.2014
Дата актуализации:01.01.2021
Дата введения:01.01.1974
Дата окончания срока действия:01.01.1999
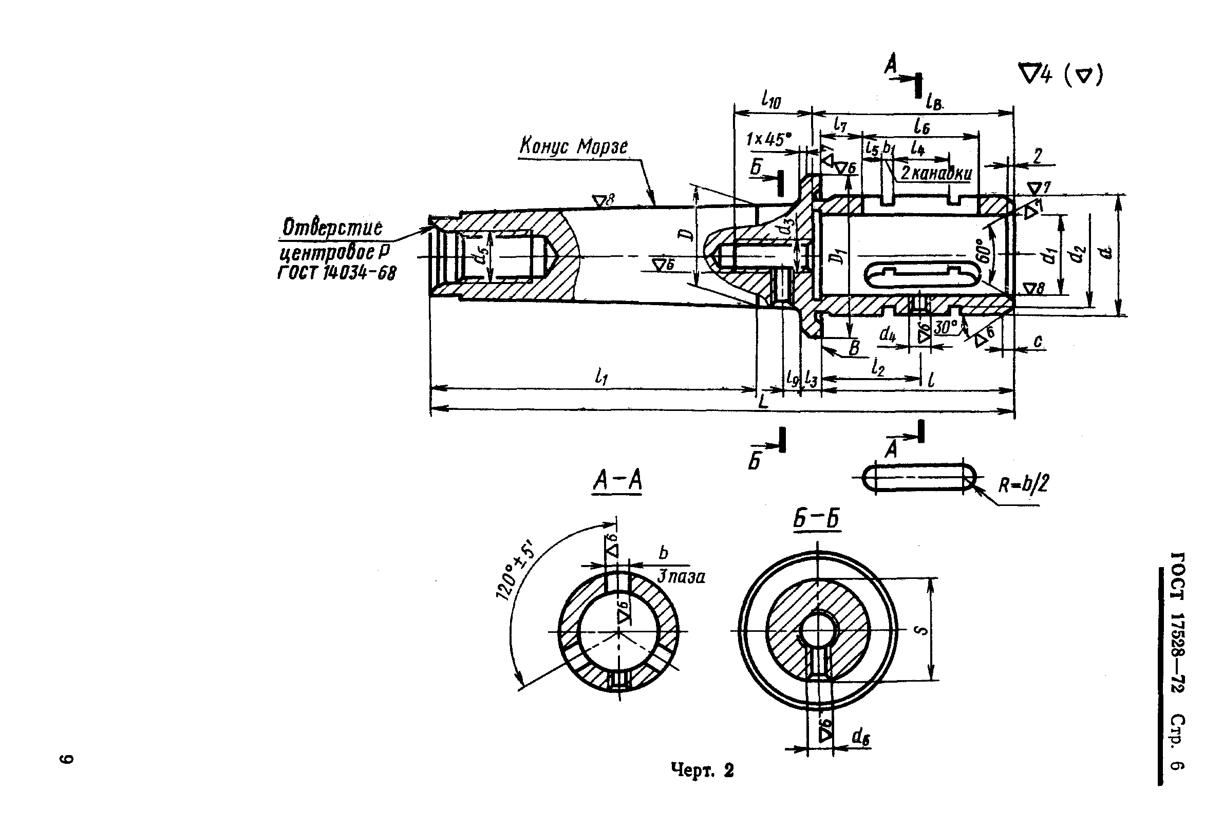
Область применения:Стандарт распространяется на кулачковые шпиндельные оправки, предназначенные для установки и закрепления толстостенных заготовок при механической обработке на металлорежущих станках.
Оглавление:1 Конструкция и размеры оправок
2 Конструкция и размеры корпусов (деталь 1)
3 Конструкция и размеры кулачков (деталь 2)
4 Конструкция и размеры втулок (деталь 3)
5 Конструкция и размеры пружинных колец (деталь 4)
6 Конструкция и размеры пружин (деталь 5)
7 Конструкция и размеры гаек (деталь 6)
Разработан: ВНИИНМАШ
Управление станкоинструментальной промышленности и межотраслевых производств Государственного комитета стандарта Совета Министров СССР
Министерство станкостроительной и инструментальной промышленности
Утверждён:02.02.1972 Госстандарт СССР (USSR Gosstandart 353)
Издан: Издательство стандартов (1972 г. )
Заменяет собой:
  • МН 5267-63
Нормативные ссылки:
ГОСТ 17528-72ГОСТ 17528-72ГОСТ 17528-72ГОСТ 17528-72ГОСТ 17528-72ГОСТ 17528-72ГОСТ 17528-72ГОСТ 17528-72ГОСТ 17528-72ГОСТ 17528-72ГОСТ 17528-72ГОСТ 17528-72ГОСТ 17528-72ГОСТ 17528-72ГОСТ 17528-72ГОСТ 17528-72ГОСТ 17528-72ГОСТ 17528-72ГОСТ 17528-72ГОСТ 17528-72ГОСТ 17528-72ГОСТ 17528-72ГОСТ 17528-72ГОСТ 17528-72ГОСТ 17528-72ГОСТ 17528-72ГОСТ 17528-72