Скачать ГОСТ 34-83 Конверты почтовые. Технические условия

Дата актуализации: 01.01.2021

ГОСТ 34-83

Конверты почтовые. Технические условия

Обозначение: ГОСТ 34-83
Обозначение англ: GOST 34-83
Статус:отменен в рф
Название рус.:Конверты почтовые. Технические условия
Название англ.:Post envelopes. Specifications
Дата добавления в базу:01.10.2014
Дата актуализации:01.01.2021
Дата введения:01.07.1984
Дата окончания срока действия:01.07.2000
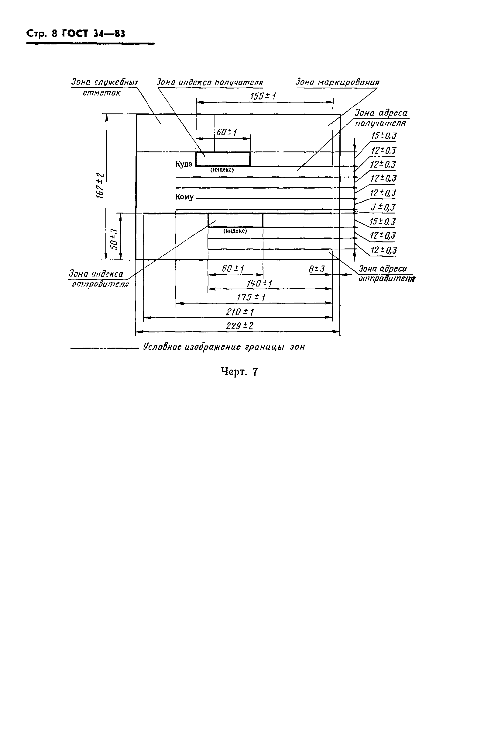
Область применения:Стандарт распространяется на почтовые конверты, предназначенные для пересылки письменных сообщений.
Оглавление:1. Основные параметры и размеры
2. Технические требования
3. Правила приемки
4. Методы испытаний
5. Упаковка, маркировка, транспортирование и хранение
6. Гарантии изготовителя
Утверждён:24.11.1983 Государственный комитет СССР по стандартам (USSR National Committee on Standards 5515)
Издан: Издательство стандартов (1987 г. )
Список изменений:
Заменяет собой:
  • ГОСТ 34-73 «Конверты почтовые. Технические условия»
Нормативные ссылки:
ГОСТ 34-83ГОСТ 34-83ГОСТ 34-83ГОСТ 34-83ГОСТ 34-83ГОСТ 34-83ГОСТ 34-83ГОСТ 34-83ГОСТ 34-83ГОСТ 34-83ГОСТ 34-83ГОСТ 34-83ГОСТ 34-83ГОСТ 34-83ГОСТ 34-83ГОСТ 34-83ГОСТ 34-83ГОСТ 34-83ГОСТ 34-83ГОСТ 34-83ГОСТ 34-83ГОСТ 34-83ГОСТ 34-83ГОСТ 34-83

Текстовое изменение № 4 от 01.05.1989

№ 4№ 4№ 4