Скачать ГОСТ 8.269-77 Государственная система обеспечения единства измерений. Бюретки измерительные стеклянные для химических неавтоматических газоанализаторов. Методы и средства поверкиДата актуализации: 01.01.2021
|
| Обозначение: | ГОСТ 8.269-77 |
| Обозначение англ: | GOST 8.269-77 |
| Статус: | взамен |
| Название рус.: | Государственная система обеспечения единства измерений. Бюретки измерительные стеклянные для химических неавтоматических газоанализаторов. Методы и средства поверки |
| Название англ.: | State system for ensuring the uniformity of measurements. Measuring glass burettes for chemical non-automatic gas analyzers. Methods and means of verification |
| Дата добавления в базу: | 01.09.2013 |
| Дата актуализации: | 01.01.2021 |
| Дата введения: | 01.01.1979 |
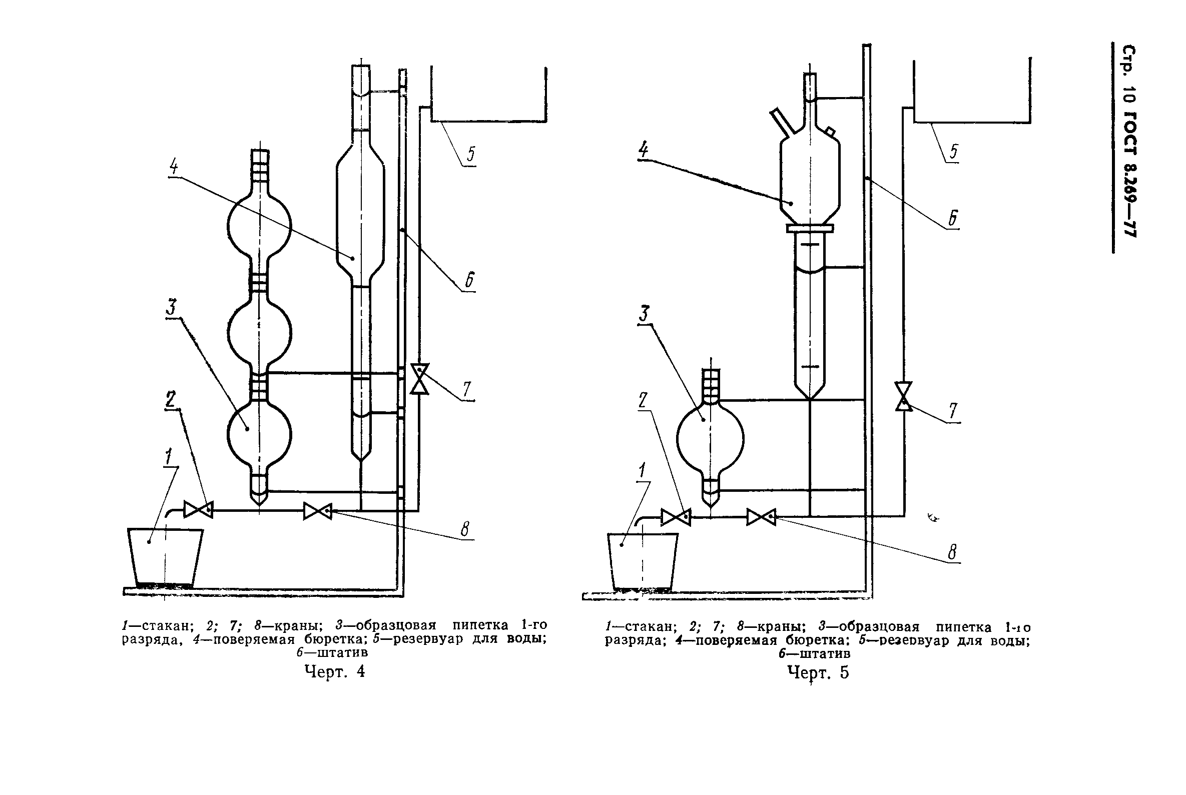
| Область применения: | Стандарт распространяется на стеклянные измерительные бюретки для химических неавтоматических газоанализаторов по ГОСТ 6329-74, ГОСТ 7018-75, ГОСТ 10713-75 и бюретки к аппарату для анализа кислорода и устанавливает методы и средства их поверки при выпуске из производства. |
| Оглавление: | 1. Операции поверки 2. Условия поверки и подготовка к ней 3. Требования безопасности 4. Проведение поверки 5. Оформление результатов поверки |
| Разработан: | КФ ВНИИФТРИ |
| Утверждён: | 24.11.1977 Государственный комитет стандартов Совета Министров СССР (USSR National Committee on Standards at the Cabinet of Ministers 2754) |
| Издан: | Издательство стандартов (1978 г. ) |
| Заменяет собой: |
|
| Нормативные ссылки: |
|















