Скачать ГОСТ Р 41.42-99 Единообразные предписания, касающиеся официального утверждения транспортных средств в отношении устанавливаемых на них передних и задних защитных устройств (бамперы и т.д.)Дата актуализации: 01.01.2021
|
| Обозначение: | ГОСТ Р 41.42-99 |
| Обозначение англ: | GOST R 41.42-99 |
| Статус: | отменен |
| Название рус.: | Единообразные предписания, касающиеся официального утверждения транспортных средств в отношении устанавливаемых на них передних и задних защитных устройств (бамперы и т.д.) |
| Название англ.: | Uniform provisions concerning the approval of vehicles with regard to their front and rear protective devices (bumpers, etc.) |
| Дата добавления в базу: | 01.09.2013 |
| Дата актуализации: | 01.01.2021 |
| Дата введения: | 01.07.2000 |
| Дата окончания срока действия: | 01.09.2018 |
| Область применения: | Правила регулируют поведение некоторых частей передней и задней конструкции легковых автомобилей в случае их столкновения на малой скорости. |
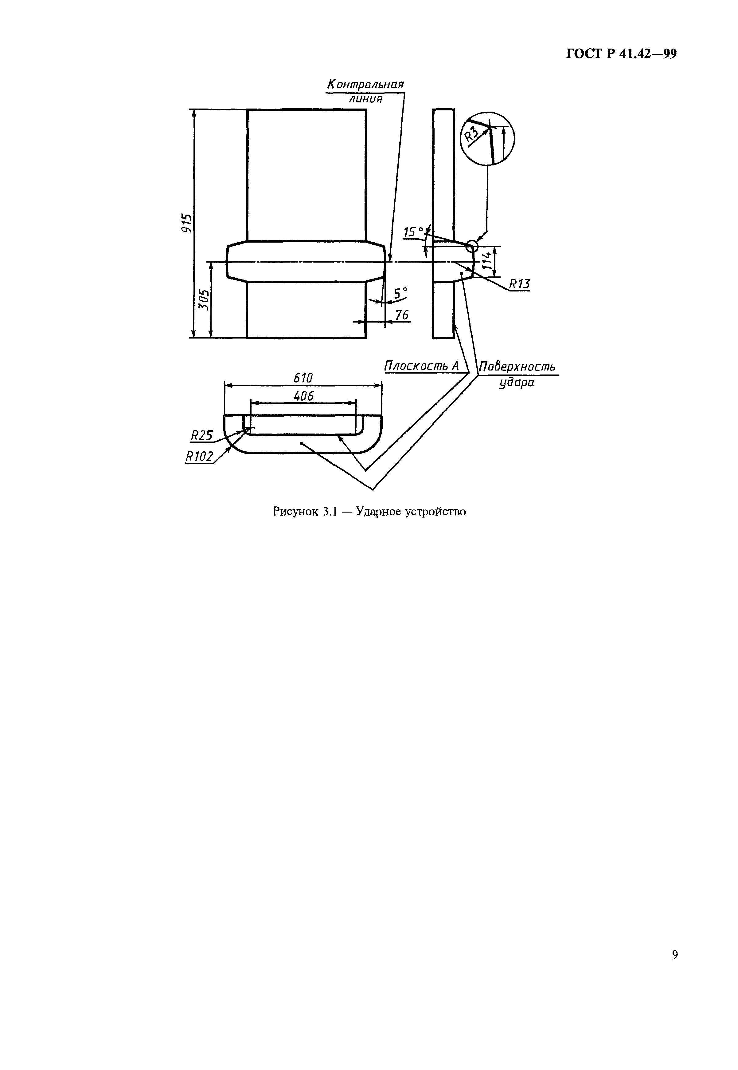
| Оглавление: | 1. Область применения 2. Цель 3. Определения 4. Заявка на официальное утверждение 5. Официальное утверждение 6. Спецификации 7. Изменение типа транспортного средства 8. Соответствие производства 9. Взыскания, налагаемые за несоответствие производства 10. Окончательное прекращение производства 11. Наименования и адреса технических служб, уполномоченных проводить испытания для официального утверждения, испытательных лабораторий и административных органов Приложение 1. Сообщение, касающееся официального утверждения, распространения официального утверждения, отказа в официальном утверждении, отмены официального утверждения, окончательного прекращения производства типа транспортного средства в отношении передних и задних защитных устройств (бамперов и т.д.) на основании Правил ЕЭК ООН №42 Приложение 2. Схемы знаков официального утверждения Приложение 3. Методика испытания на удар на малой скорости |
| Разработан: | ВНИИНМАШ |
| Утверждён: | 26.05.1999 Госстандарт России (Russian Federation Gosstandart 184) |
| Издан: | ИПК Издательство стандартов (2000 г. ) |











