Скачать ГОСТ Р 50002-92 Вещества поверхностно-активные. Алкилсульфаты натрия первичные технические. Методы анализаДата актуализации: 01.01.2021
|
| Обозначение: | ГОСТ Р 50002-92 |
| Обозначение англ: | GOST R 50002-92 |
| Статус: | введен впервые |
| Название рус.: | Вещества поверхностно-активные. Алкилсульфаты натрия первичные технические. Методы анализа |
| Название англ.: | Surface active agents. Primary technical sodium alkylsulphates. Methods of analysis |
| Дата добавления в базу: | 01.09.2013 |
| Дата актуализации: | 01.01.2021 |
| Дата введения: | 01.07.1993 |
| Область применения: | Стандарт применяется только для технических алкилсульфатов натрия в виде порошков, паст или жидкостей (водных растворов), которые не содержат каких-либо посторонних веществ, не связанных с их получением. |
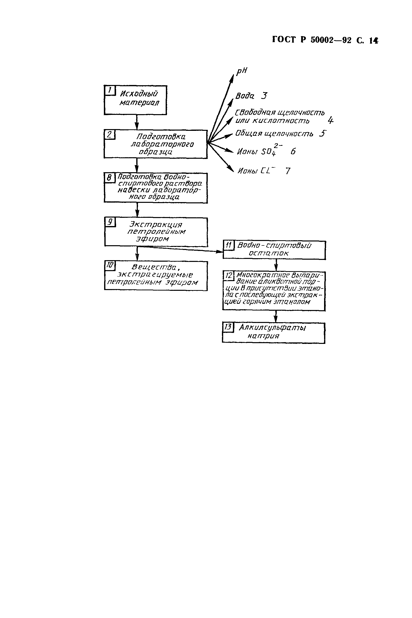
| Оглавление: | 0. Введение 1. Назначение 2. Область применения 3. Ссылки 4. Отбор пробы 5. Общий принцип* 6. Методы анализа 7. Протокол испытаний |
| Разработан: | ТК 193 Кислоты жирные синтетические, высшие жирные спирты, поверхностноактивные вещества |
| Утверждён: | 15.07.1992 Госстандарт России (Russian Federation Gosstandart 692) |
| Издан: | Издательство стандартов (1992 г. ) |
| Нормативные ссылки: |
|















