Скачать ГОСТ Р 50044-92 Микросхемы интегральные и приборы полупроводниковые для поверхностного монтажа. Требования к конструкцииДата актуализации: 01.01.2021
|
| Обозначение: | ГОСТ Р 50044-92 |
| Обозначение англ: | GOST R 50044-92 |
| Статус: | заменен |
| Название рус.: | Микросхемы интегральные и приборы полупроводниковые для поверхностного монтажа. Требования к конструкции |
| Название англ.: | Integrated microcircuits and semiconductor device service mounted technology. Requirements to packages |
| Дата добавления в базу: | 01.09.2013 |
| Дата актуализации: | 01.01.2021 |
| Дата введения: | 01.07.1993 |
| Дата окончания срока действия: | 01.01.2011 |
| Область применения: | Стандарт распространяется на интегральные микросхемы и полупроводниковые приборы, предназначенные для использования в технологии поверхностного монтажа, и устанавливает требования к их перспективным конструкциям и выбору унифицированных размеров. |
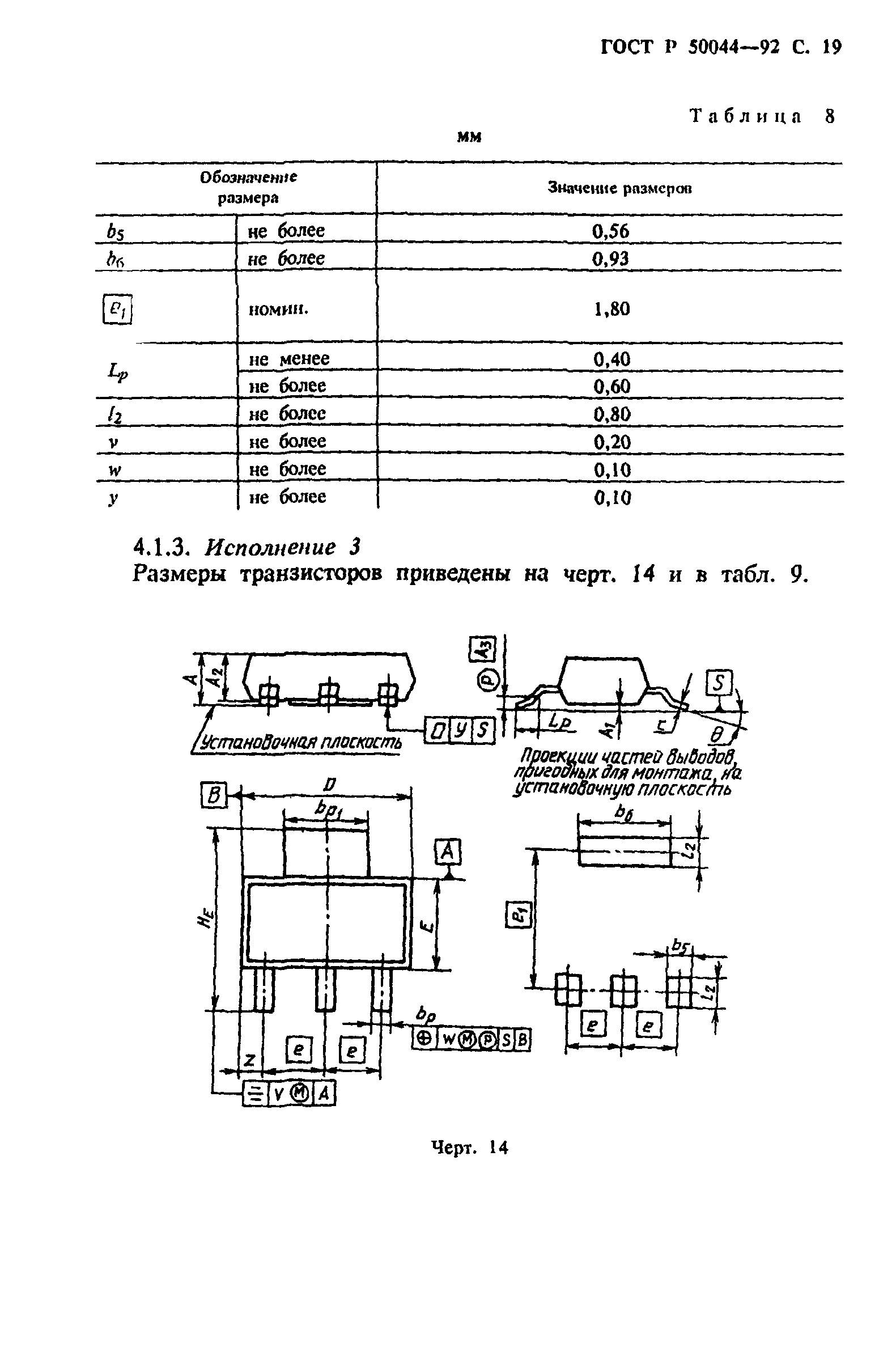
| Оглавление: | 1. Общие требования к конструкции ИС и ПП 2. Требования к габаритным, присоединительным и установочным размерам интегральных микросхем 3. Требования к габаритным, присоединительным и установочным размерам диодов 4. Требования к габаритным, присоединительным и установочным размерам транзисторов Приложение 1. Термины, применяемые в настоящем стандарте, их пояснения и буквенные обозначения Приложение 2. Нанесение размеров на габаритных чертежах микросхем |
| Утверждён: | 23.07.1992 Госстандарт России (Russian Federation Gosstandart 760) |
| Издан: | Издательство стандартов (1992 г. ) Издательство стандартов (1994 г. ) |
| Нормативные ссылки: |



























