Скачать ГОСТ Р 50434-92 Устройства числового программного управления для металлообрабатывающего оборудования. Производственный канал асинхронной передачи данных и физический уровень. Полудуплексная передача данныхДата актуализации: 01.01.2021
|
| Обозначение: | ГОСТ Р 50434-92 |
| Обозначение англ: | GOST R 50434-92 |
| Статус: | введен впервые |
| Название рус.: | Устройства числового программного управления для металлообрабатывающего оборудования. Производственный канал асинхронной передачи данных и физический уровень. Полудуплексная передача данных |
| Название англ.: | Industrial asynchronous date link and physical layer. Physical interconnection and two-way alternate communication |
| Дата добавления в базу: | 01.09.2013 |
| Дата актуализации: | 01.01.2021 |
| Дата введения: | 01.07.1994 |
| Область применения: | Стандарт описывает физические интерфейсы и протоколы связи при соединении "точка-точка" между программируемыми устройствами, такими как : станки с ЧПУ, промышленные роботы, программируемые контроллеры, измерительное или другое оборудование автоматизированного производства, - с ЭВМ верхнего ранга. Применяемый протокол связи гарантирует надежную передачу данных. Данные передаются последовательно по битам в асинхронном режиме. |
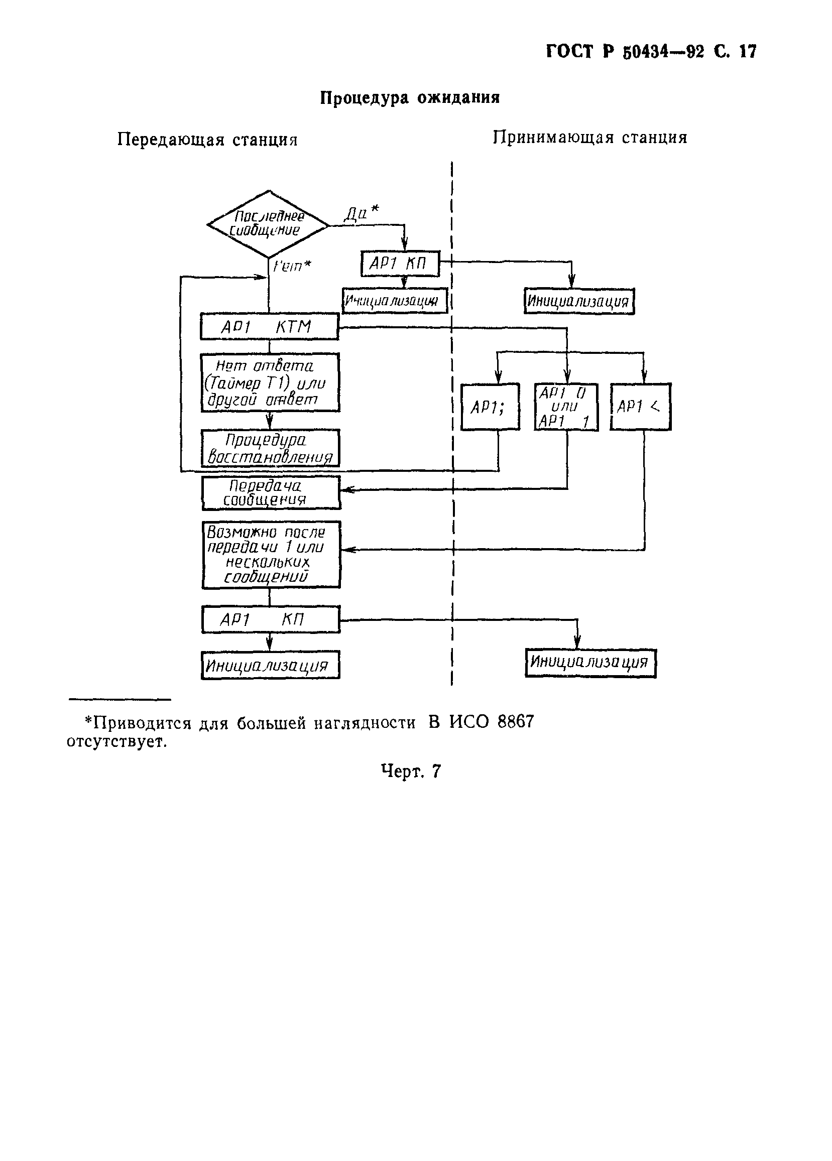
| Оглавление: | 0 Введение и назначение 1 Ссылки 2 Определения и аббревиатуры передаваемых управляющих символов 3 Скорость передачи данных 4 Физический уровень (Уровень 1) 5 Уровень звена данных (Уровень 2 ) Приложение А (информационное) Значения выдержек времени таймеров Приложение В (информационное) Диаграммы процедур управления каналом связи Приложение С (информационное) Приложение D (информационное) |
| Разработан: | ТК 69 Системы промышленной автоматизации и интеграции |
| Утверждён: | 16.12.1992 Госстандарт России (Russian Federation Gosstandart 1543) |
| Издан: | Издательство стандартов (1993 г. ) |
| Нормативные ссылки: |
|






















