Скачать ГОСТ Р 50728-95 Батареи аккумуляторные свинцовые стартерные напряжением 12 В для автотракторной техники. Типы, основные параметры и размерыДата актуализации: 01.01.2021
|
| Обозначение: | ГОСТ Р 50728-95 |
| Обозначение англ: | GOST R 50728-95 |
| Статус: | введен впервые |
| Название рус.: | Батареи аккумуляторные свинцовые стартерные напряжением 12 В для автотракторной техники. Типы, основные параметры и размеры |
| Название англ.: | Lead-acid storage starter batteries 12 V for motor-tractors. Types, basic parameters and dimensions |
| Дата добавления в базу: | 01.09.2013 |
| Дата актуализации: | 01.01.2021 |
| Дата введения: | 01.01.1996 |
| Область применения: | Стандарт распространяется на аккумуляторные свинцовые стартерные батареи, для автотракторной техники, предназначенные для пуска двигателей и питания устройств, потребляющих электрическую энергию. |
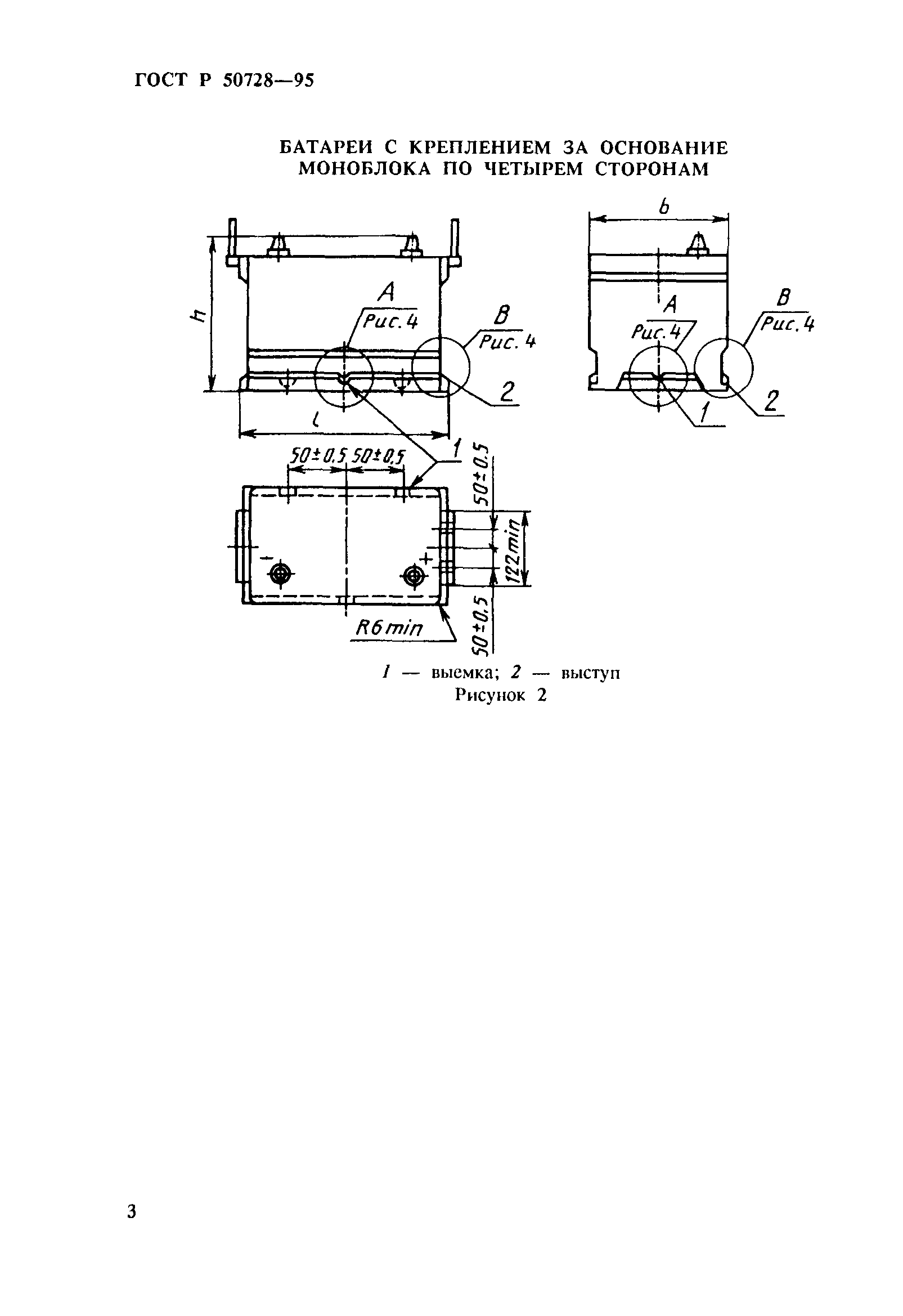
| Оглавление: | 1. Область применения 2. Нормативные ссылки 3. Типы 4. Основные параметры и размеры |
| Разработан: | НИИСТА |
| Утверждён: | 12.01.1995 Госстандарт России (Russian Federation Gosstandart 2) |
| Издан: | Издательство стандартов (1995 г. ) |
| Нормативные ссылки: |











