Скачать ГОСТ Р ИСО/МЭК 9549-93 Информационная технология. Гальваническая изоляция симметричных цепей стыкаДата актуализации: 01.01.2021
|
| Обозначение: | ГОСТ Р ИСО/МЭК 9549-93 |
| Обозначение англ: | GOST R ISO/IEC 9549-93 |
| Статус: | введен впервые |
| Название рус.: | Информационная технология. Гальваническая изоляция симметричных цепей стыка |
| Название англ.: | Information technology. Galvanic isolation of balanced interchange circuits |
| Дата добавления в базу: | 01.09.2013 |
| Дата актуализации: | 01.01.2021 |
| Дата введения: | 01.07.1994 |
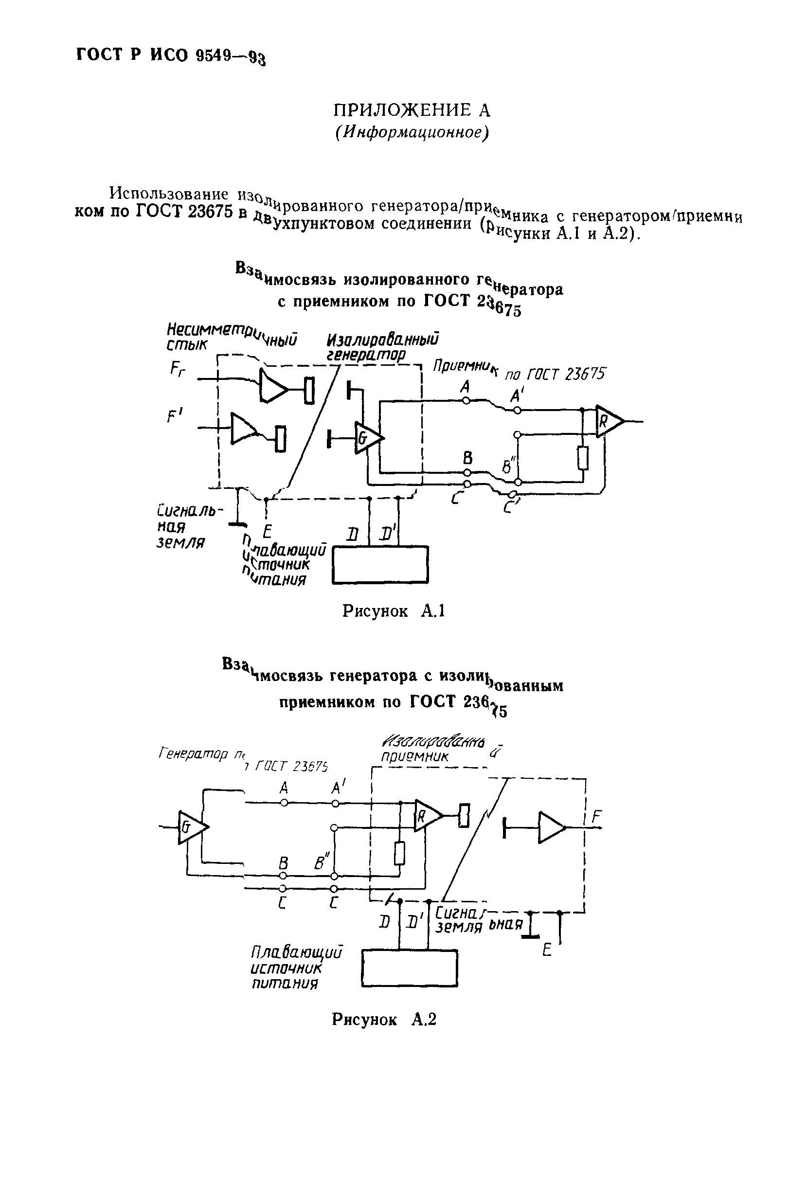
| Область применения: | В стандарте определяется гальваническая изоляция симметричных цепей стыка при использовании технологии оптосоединителей на интегральных схемах и предусматривается для передачи данных в коде с двумя состояниями (например, в коде БВН). Электрические характеристики соответствуют как ГОСТ Р ИСО 8482, так и ГОСТ 23675. Соответствие означает взаимодействие устройств, имеющих цепи стыка с электрическими характеристиками, удовлетворяющие стандартам, на которые даны ссылки. |
| Оглавление: | 1 Область применения 2 Нормативные ссылки 3 Символическое представление компонентов оптосоединителя 4 Полярность и значащие уровни 5 Характеристики изолированного генератора 6 Характеристики изолированного приемника 7 Проверки состояний неисправности 8 Конфигурация взаимодействия 9 Изоляция компонента оптосоединителя 10 Искажение сигнала 11 Ограничения со стороны окружающей среды Приложение А Библиографические данные |
| Разработан: | ТК 22 Информационные технологии |
| Утверждён: | 28.12.1993 Госстандарт России (Russian Federation Gosstandart 268) |
| Издан: | Издательство стандартов (1994 г. ) |
| Нормативные ссылки: |













