Скачать РД 34.37.519-90 Методические указания по ведению гидразинного водно-химического режима на энергоблоках с прямоточными котламиДата актуализации: 01.01.2021
|
| Обозначение: | РД 34.37.519-90 |
| Обозначение англ: | RD 34.37.519-90 |
| Статус: | действует |
| Название рус.: | Методические указания по ведению гидразинного водно-химического режима на энергоблоках с прямоточными котлами |
| Название англ.: | Procedural Guidelines for Hydrazine Water Chemistry Management in Power Units with Once-Through Boilers |
| Дата добавления в базу: | 01.09.2013 |
| Дата актуализации: | 01.01.2021 |
| Дата введения: | 01.01.1991 |
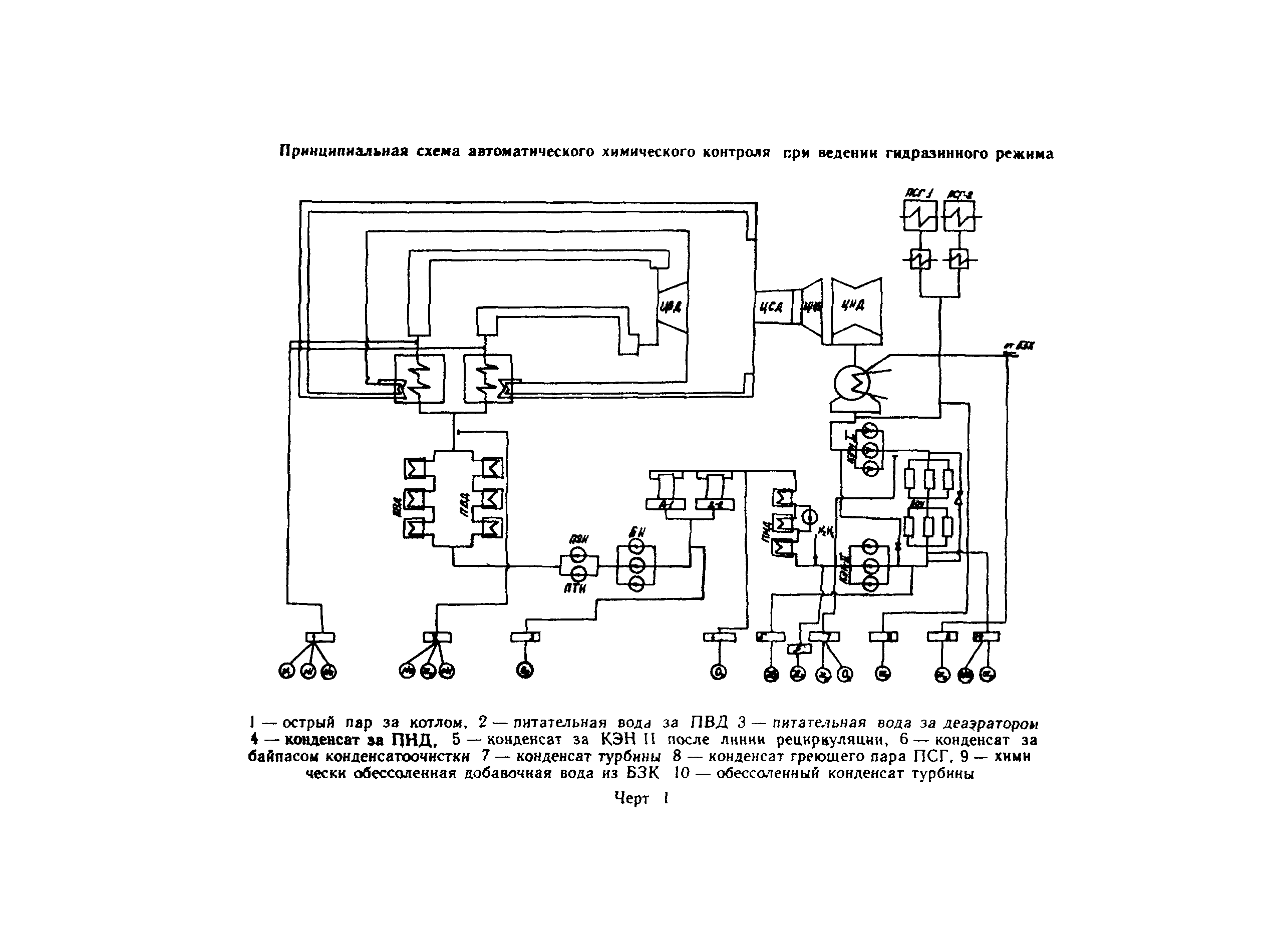
| Область применения: | РД устанавливает правила ведения гидразинного водно-химического режима, основанного на коррекционной обработке теплоносителя гидразин-гидратом, и нормы качества теплоносителя при ведении этого режима. |
| Оглавление: | 1 Общие положения 2 Условия перевода энергоблоков на гидразинный режим 3 Организация гидразинного режима 4 Нормы качества теплоносителя при ведении гидразинного режима 5 Химический контроль за качеством теплоносителя Приложение Перечень нормативно-технических документов, на которые имеются ссылки в настоящих методических указаниях |
| Разработан: | ВТИ |
| Утверждён: | 22.06.1990 Минэнерго СССР (USSR Minenergo ) |
| Издан: | ВТИ (1990 г. ) |
| Заменяет собой: |
|
| Нормативные ссылки: |
|








