Скачать РД 34.35.410-64 Инструкция по наладке и проверке дистанционной защиты типа ПЗ-153Дата актуализации: 01.01.2021
|
| Обозначение: | РД 34.35.410-64 |
| Обозначение англ: | RD 34.35.410-64 |
| Статус: | действует |
| Название рус.: | Инструкция по наладке и проверке дистанционной защиты типа ПЗ-153 |
| Название англ.: | Guidelines for Adjustment and Testing of Remote Protective Means Type PZ-153 |
| Дата добавления в базу: | 01.01.2019 |
| Дата актуализации: | 01.01.2021 |
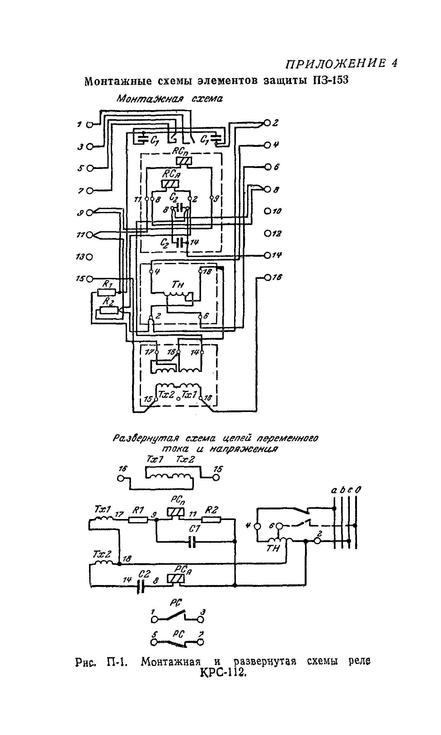
| Оглавление: | Введение Глава первая. Описание защиты § 1-1. Общие принципы выполнения § 1-2. Основные технические данные § 1-3. Конструктивное исполнение § 1-4. Пусковой орган § 1-5. Дистанционный орган § 1-6. Блокировка при неисправностях цепей напряжения типа КРБ-12, органы направления мощности § 1-7. Цепи переменного тока § 1-8. Цепи переменного напряжения § 1-9. Оперативные цепи § 1-10. Действие защиты при различных видах повреждений Глава вторая. Наладка и проверка защиты § 2-1. Общие указания в объем работ § 2-2. Внешний осмотр, проверка монтажа цепей защиты, предварительная механическая регулировка § 2-3. Проверка изоляции § 2-4. Проверка элементов схемы постоянного тока § 2-5. Проверка взаимодействия реле опробованием схемы от руки § 2-6. Проверка элементов схем переменного тока и напряжения и регулировка уставок § 2-7. Проверка защиты при питании цепей тока и напряжения от постороннего источника § 2-8. Проверка защиты током нагрузки § 2-9. Периодическая эксплуатационная проверка защиты Приложение 1. Выбор уставок защиты Приложение 2. Паспорт-протокол Приложение 3. Основные технические данные элементов схемы защиты типа ПЗ-153 Приложение 4. Монтажные схемы элементов защиты ПЗ-153 Литература |
| Разработан: | ОРГРЭС |
| Утверждён: | Минэнерго СССР (USSR Minenergo ) |
| Издан: | Издательство Энергия (1964 г. ) |














































































