Скачать РД 34.35.518-91 Инструкция по эксплуатации газовой защитыДата актуализации: 01.01.2021
|
| Обозначение: | РД 34.35.518-91 |
| Обозначение англ: | RD 34.35.518-91 |
| Статус: | заменен |
| Название рус.: | Инструкция по эксплуатации газовой защиты |
| Название англ.: | Guidelines for Operation of Gas Protective Means |
| Дата добавления в базу: | 21.05.2015 |
| Дата актуализации: | 01.01.2021 |
| Дата введения: | 01.05.1992 |
| Дата окончания срока действия: | 01.09.2001 |
| Область применения: | В Инструкции по эксплуатации газовой защиты описаны принципы действия и конструкция газовых и струйных реле, применяемых в энергосистемах, а также методы технического и оперативного обслуживания защит с этими реле. |
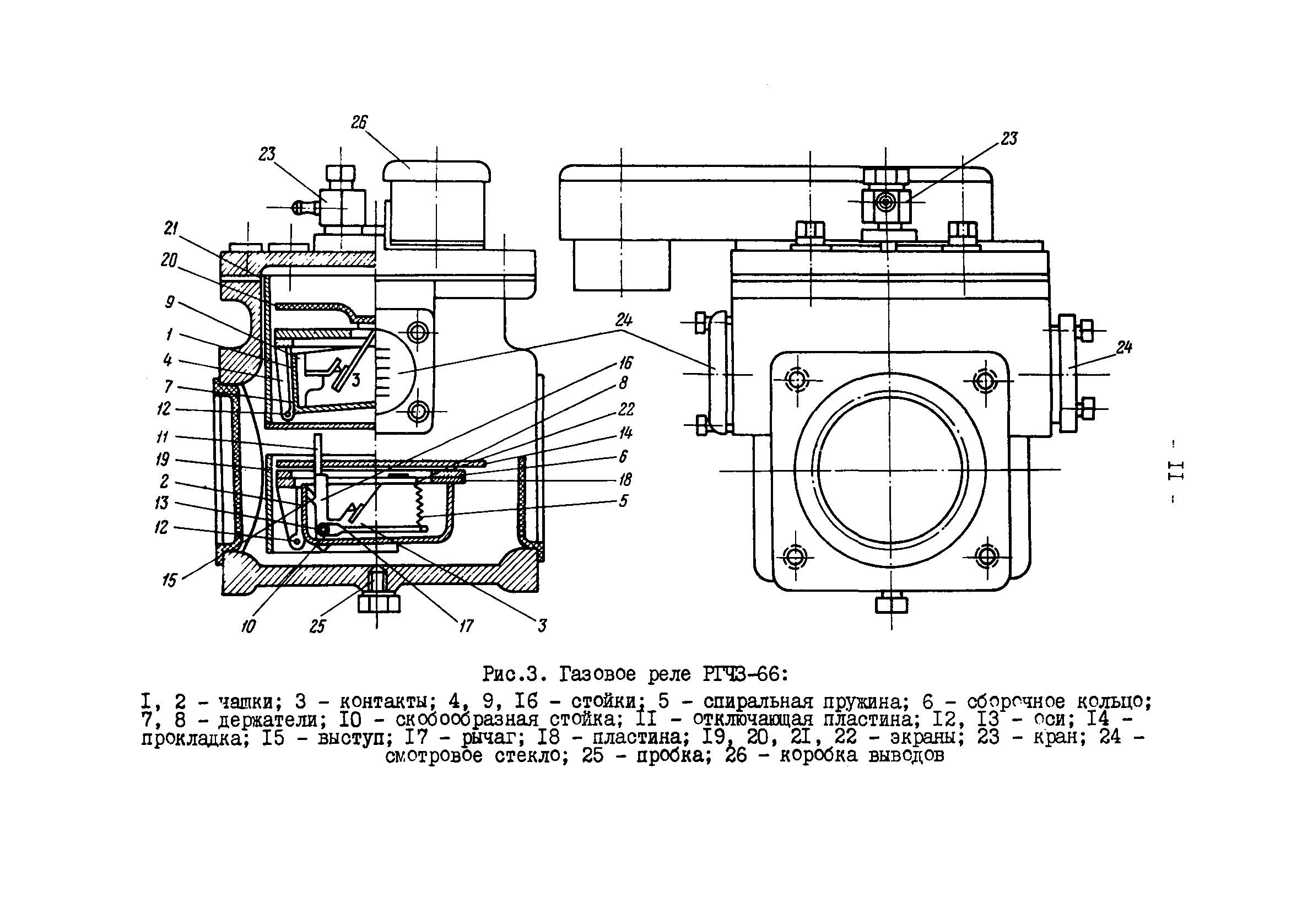
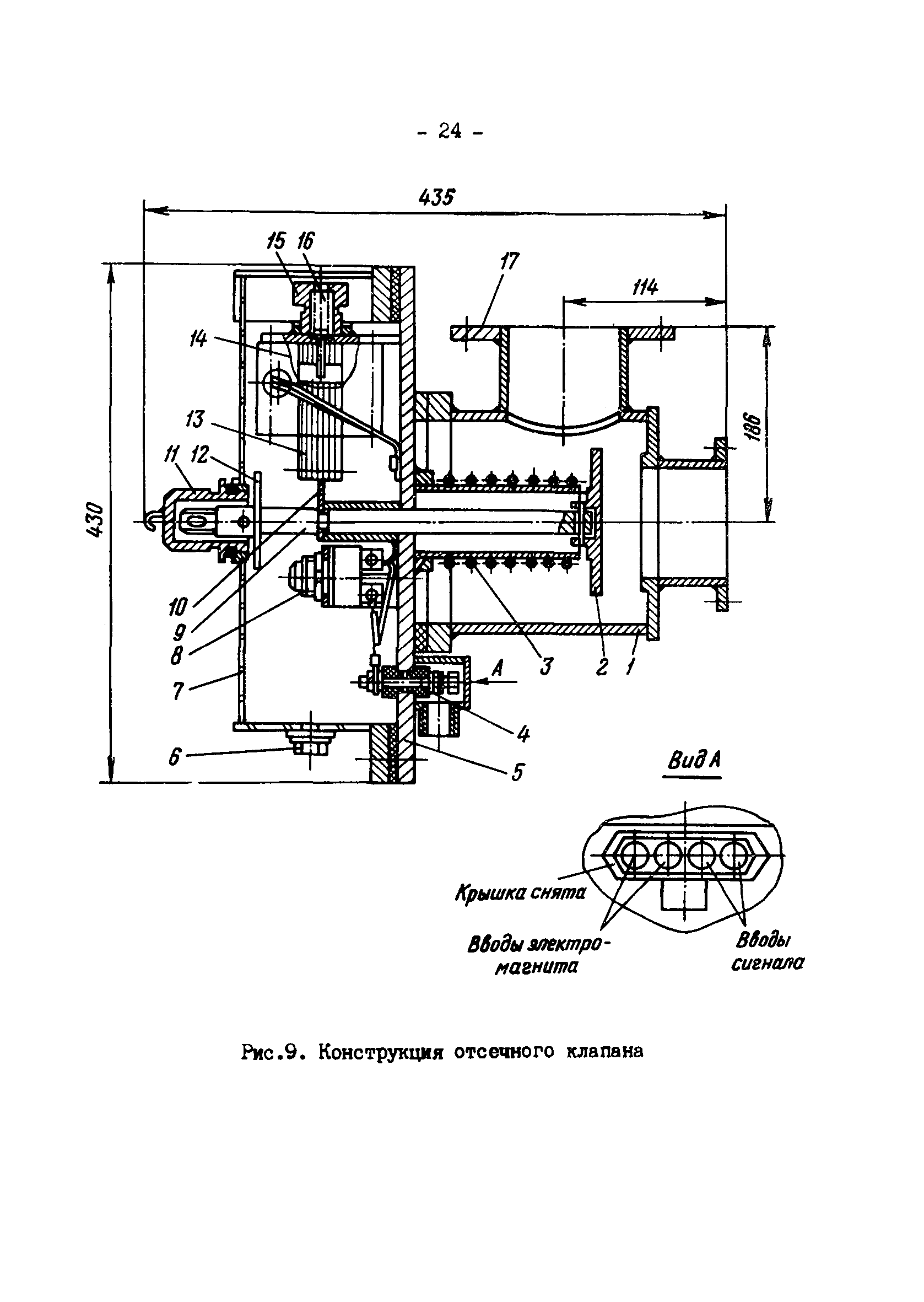
| Оглавление: | Введение 1. Краткое описание газовых и струйных реле 1.1. Особенности газовых реле ПГ-22, ПГЗ-22 1.2. Особенности газового реле РГЧЗ—66 1.3. Особенности газового реле BF 80/Q (BF 50/100) 1.4. Особенности струйных реле URF 25/10 и RS 1000 2. Краткое описание конструкции отсечного клапана и реле уровня масла 3. Виды, объем и периодичность технического обслуживания газовой защиты 4. Техническое обслуживание элементов газовой защиты 5. Оперативное обслуживание газовой защиты Приложение 1. Технические данные газовых и струйных реле Приложение 2. Протокол проверки газовой защиты Приложение 3. Схемы контроля изоляции цепей газовой защиты Приложение 4. Замена герконов в газовых реле производства ГДР герконами отечественного производства Список литературы |
| Разработан: | АО Фирма ОРГРЭС |
| Утверждён: | 29.12.1991 Минэнерго СССР (USSR Minenergo ) |
| Издан: | СПО ОРГРЭС (1992 г. ) |
| Заменяет собой: |
|




























































