Скачать РД 153-34.1-35.108-2001 Технические условия на выполнение технологических защит и блокировок при использовании мазута и природного газа в котельных установках в соответствии с требованиями взрывобезопасностиДата актуализации: 01.01.2021
|
| Обозначение: | РД 153-34.1-35.108-2001 |
| Обозначение англ: | RD 153-34.1-35.108-2001 |
| Статус: | действует |
| Название рус.: | Технические условия на выполнение технологических защит и блокировок при использовании мазута и природного газа в котельных установках в соответствии с требованиями взрывобезопасности |
| Название англ.: | Technical Specifications for Design of Process Protective Means and Interlocks When Using Fuel Oil and Natural Gas in Boiler Plants in Compliance with Explosion Safety Requirements |
| Дата добавления в базу: | 01.09.2013 |
| Дата актуализации: | 01.01.2021 |
| Дата введения: | 01.07.2002 |
| Область применения: | Документ распространяется на действующие, вновь вводимые в эксплуатацию и модернизируемые котельные установки паропроизводительностью 50 т/ч и выше и водогрейные котельные установки тепловой производительностью 30 Гкал/ч и выше, сжигающие газ и/или мазут. |
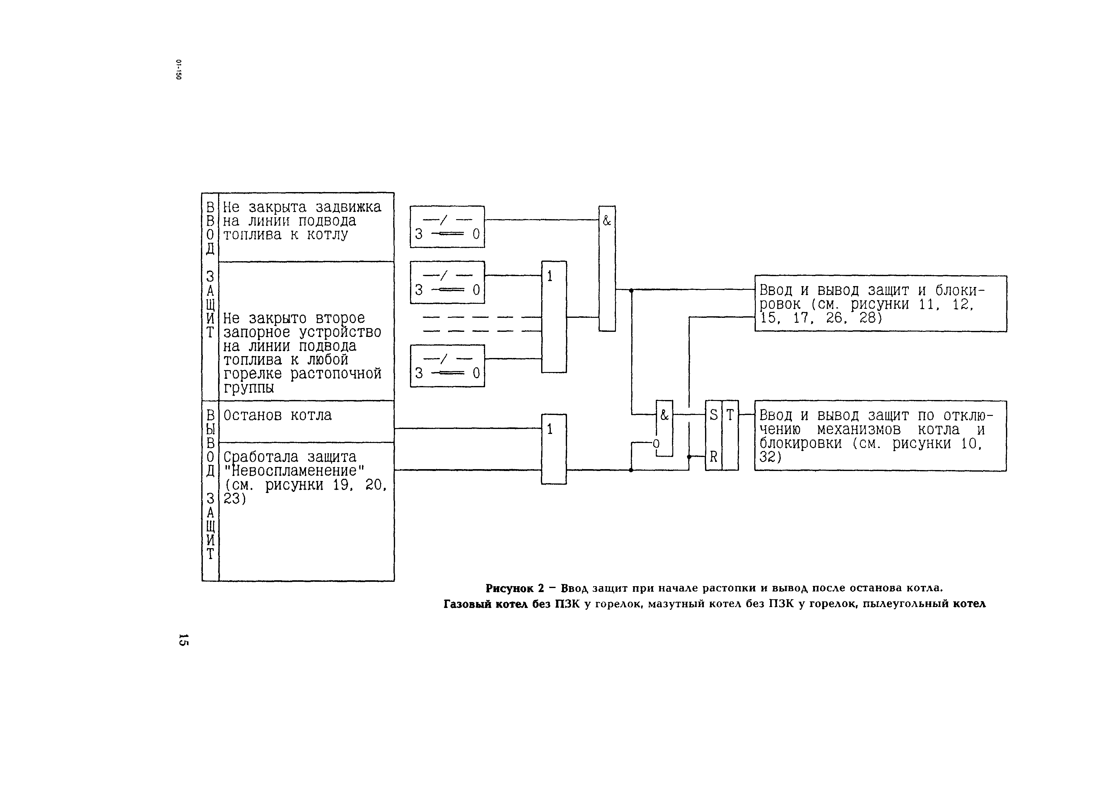
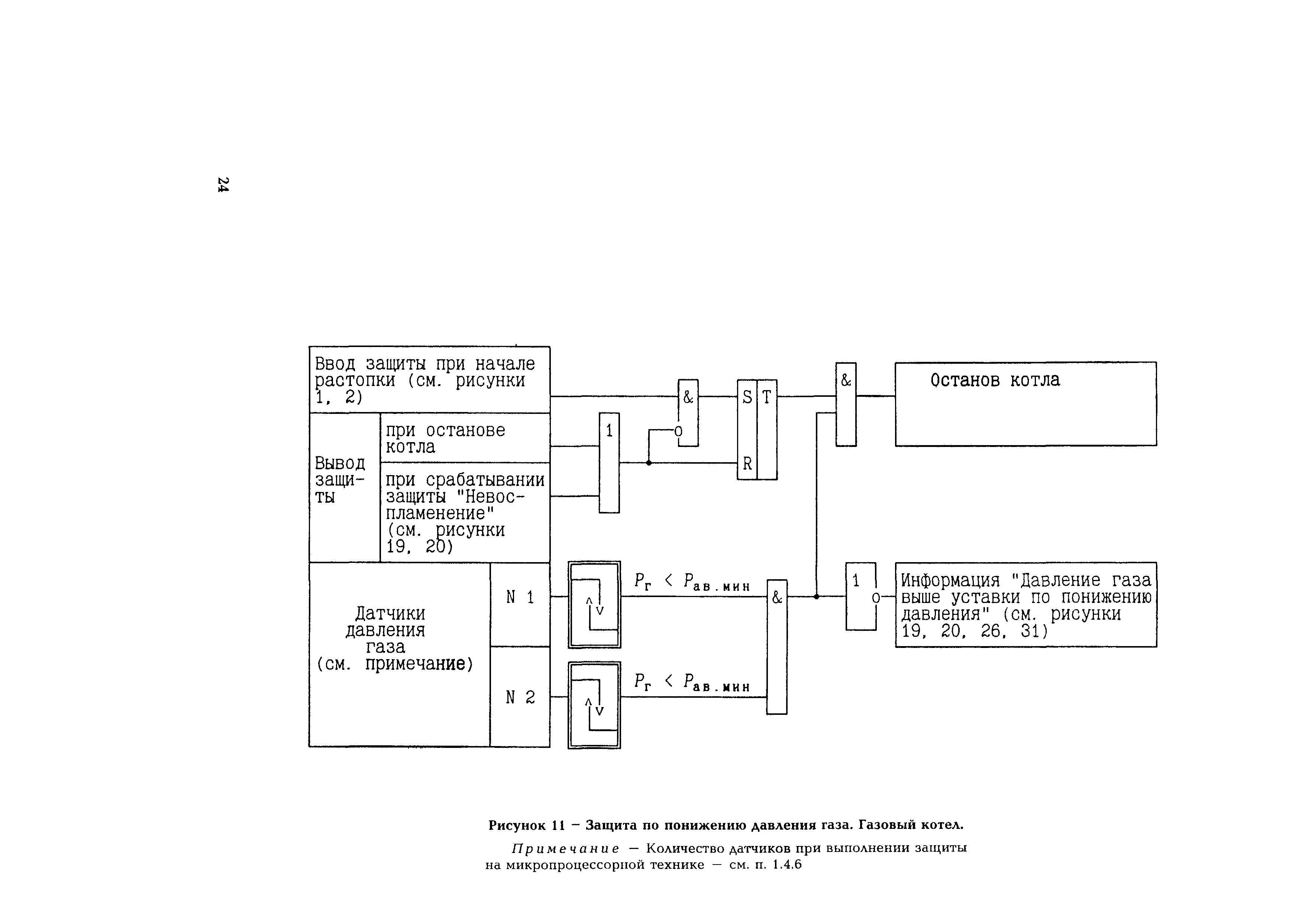
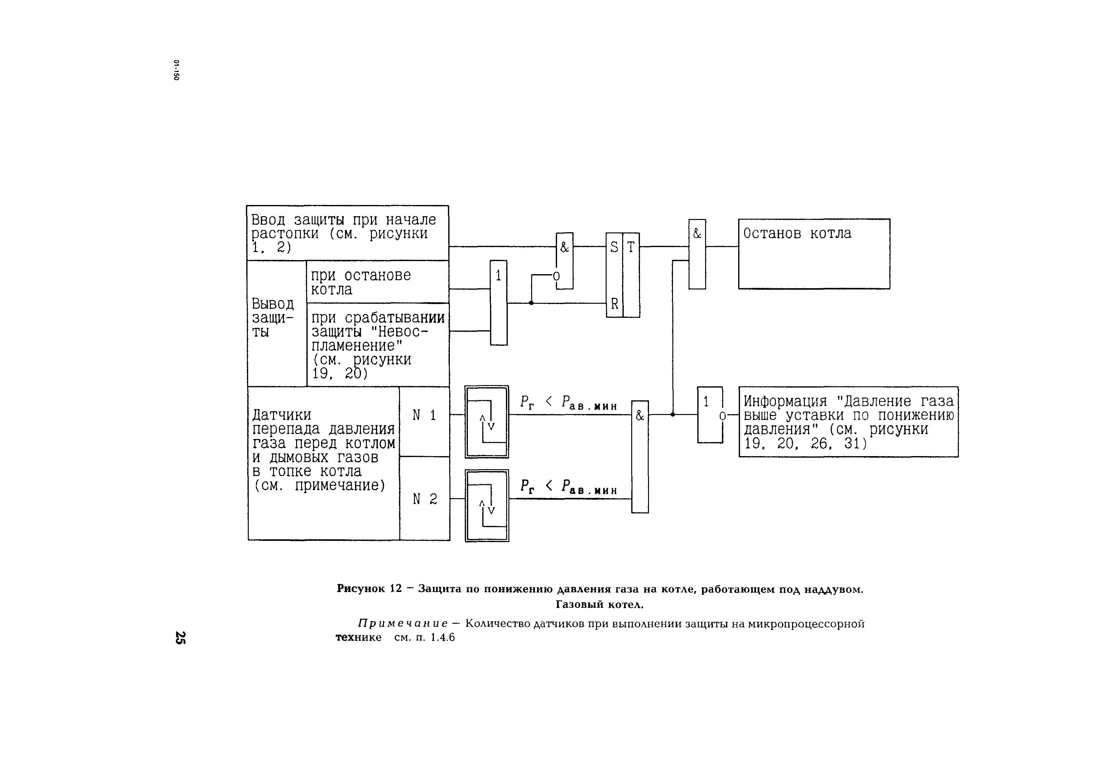
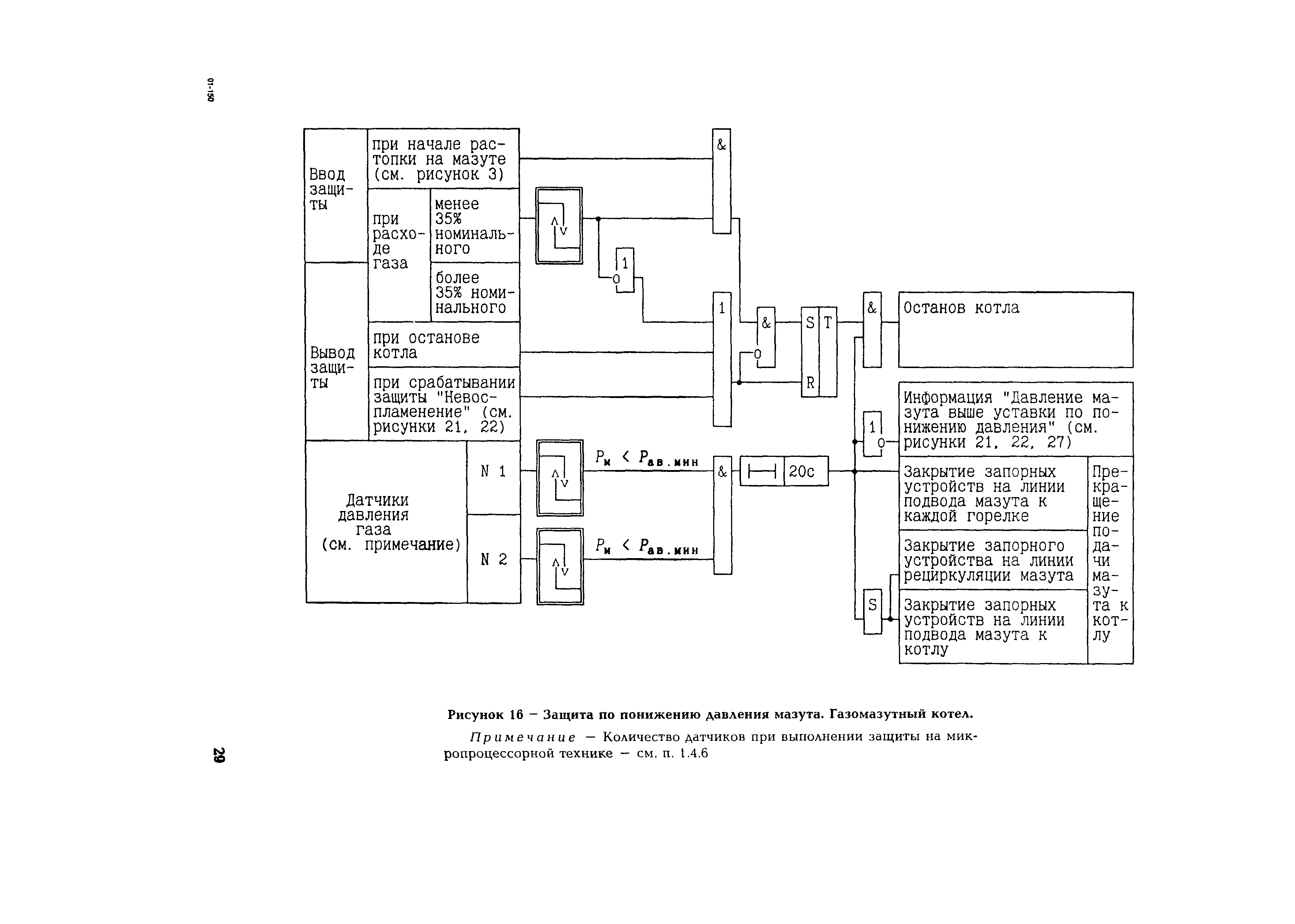
| Оглавление: | 1 Общая часть 2 Перечень технологических защит и блокировок 2.1 Защиты, действующие на останов котла 2.2 Защиты, действующие на снижение нагрузки котла до 50% номинальной 2.3 Защиты, действующие на прекращение подачи топлива к котлу или горелке 2.4 Блокировки 3 Технические условия на выполнение технологических защит 3.1 Защиты, действующие на останов котла 3.2 Защиты, действующие на снижение нагрузки котла до 50% номинальной 3.3 Защиты, действующие на прекращение подачи топлива к котлу или горелке 3.4 Блокировки Приложение А Номера рисунков защит и блокировок для разных типов котлов Приложение Б Условные обозначения элементов схем Список использованной литературы |
| Разработан: | АО Фирма ОРГРЭС |
| Утверждён: | 23.03.2001 РАО ЕЭС России (UES of Russia RAO ) |
| Издан: | СПО ОРГРЭС (2001 г. ) |
| Заменяет собой: | |
| Нормативные ссылки: |















































