Скачать РД 34.30.306 Инструкция по проведению экспресс-испытаний турбоустановки К-200-130 ЛМЗДата актуализации: 01.01.2021
|
| Обозначение: | РД 34.30.306 |
| Обозначение англ: | RD 34.30.306 |
| Статус: | действует |
| Название рус.: | Инструкция по проведению экспресс-испытаний турбоустановки К-200-130 ЛМЗ |
| Название англ.: | Guidelines for Accelerated Tests of Turbine Unit K-200-130 LMZ |
| Дата добавления в базу: | 01.09.2013 |
| Дата актуализации: | 01.01.2021 |
| Дата введения: | 15.04.1976 |
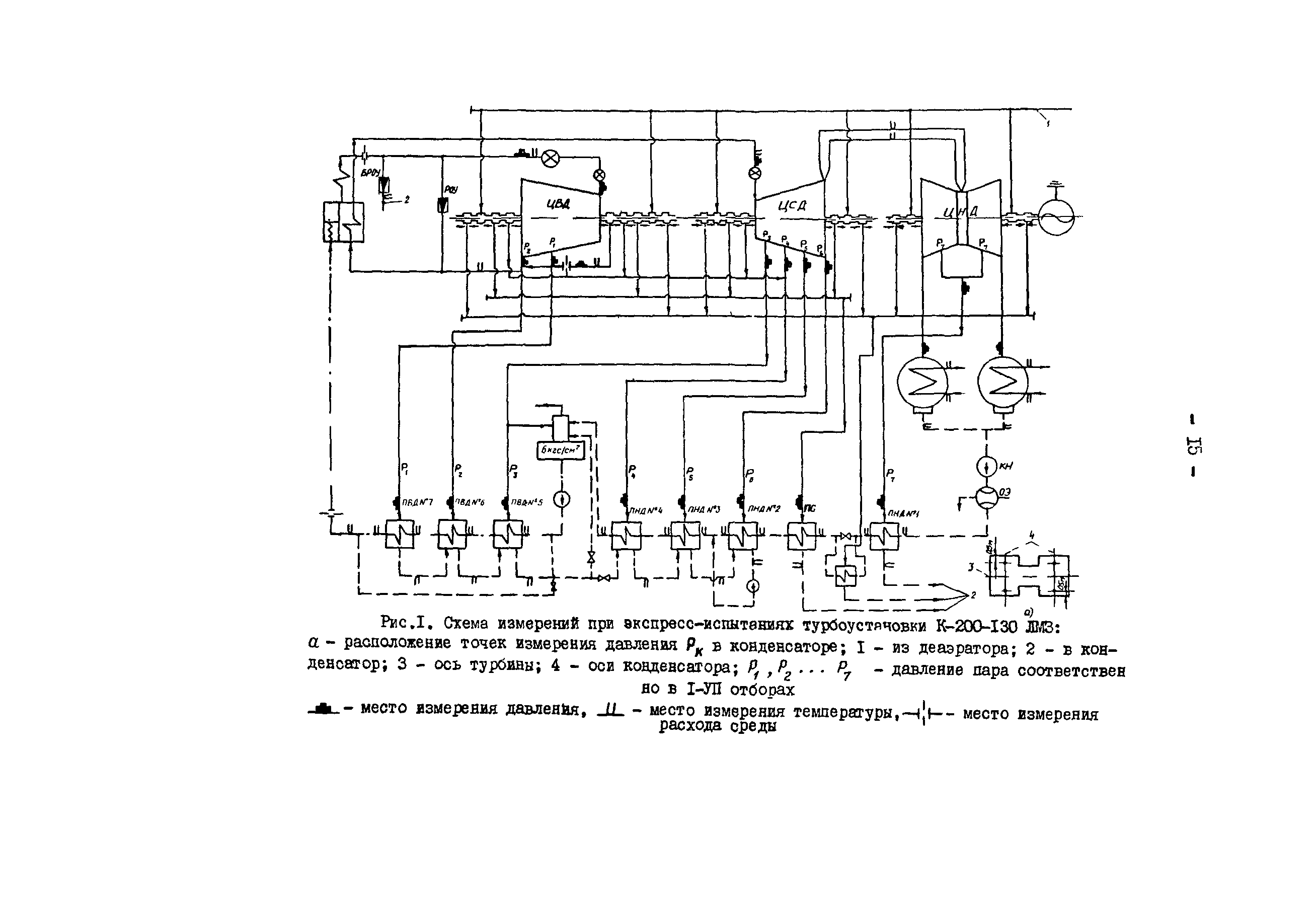
| Оглавление: | 1. Общая часть 2. Назначение экспресс-испытаний 3. Цели и причины проведения экспресс-испытаний элементов турбины 4. Приборы, применяемые при экспресс-испытаниях 5. Схема измерений при экспресс-испытаниях 6. Снятие характеристик системы парораспределения 6.1. Рабочая программа 6.2. Обработка опытных данных 6.3. Анализ результатов 6.4. Примеры результирующих кривых 7. Проверка работы турбины с максимальной электрической нагрузкой 7.1. Рабочая программа 7.2. Обработка опытных данных 7.3. Анализ результатов 8. Оценка состояния проточной части 8.1. Рабочая программа испытаний 8.2. Методика обработки полученных результатов 8.3. Типовые ошибки при испытаниях 8.4. Анализ полученных результатов 8.5. Проверка готовности схемы турбоустановки к проведению экспресс-испытаний проточной части 8.6. Обработка опытных данных 8.7. Примеры результирующих кривых 8.8. Поправки к мощности турбины на отклонение начальных параметров пара от номинальных 8.9. Дополнительные поправочные коэффициенты 8.10. Определение КПД цилиндров высокого и среднего давления 9. Проверка работы системы регенерации, подогревателей сетевой воды в конденсатора 9.1. Рабочая программа 9.2. Обработка опытных данных 9.3. Анализ результатов испытаний 10. Снятие статической характеристики системы регулирования турбины 10.1. Рабочая программа опытов 10.2. Обработка полученных результатов 10.3. Анализ результатов 11. Проверка совместной плотности автоматических затворов и совместной плотности регулирующих клапанов ЧВД и ЧСД 11.1. Рабочая программа 11.2. Обработка полученных результатов 11.3. Анализ результатов |
| Разработан: | Белэнергоремналадка |
| Утверждён: | 15.04.1976 Минэнерго СССР (USSR Minenergo ) |
| Издан: | СПО Союзтехэнерго (1978 г. ) |



































































