Скачать РД 34.26.106 Руководящие указания по проектированию и эксплуатации энергетических калориферов с проволочным оребрениемДата актуализации: 01.01.2021
|
| Обозначение: | РД 34.26.106 |
| Обозначение англ: | RD 34.26.106 |
| Статус: | действует |
| Название рус.: | Руководящие указания по проектированию и эксплуатации энергетических калориферов с проволочным оребрением |
| Название англ.: | Guidelines for Design and Operation of Wire-Ribbed Power Air Heaters |
| Дата добавления в базу: | 01.09.2013 |
| Дата актуализации: | 01.01.2021 |
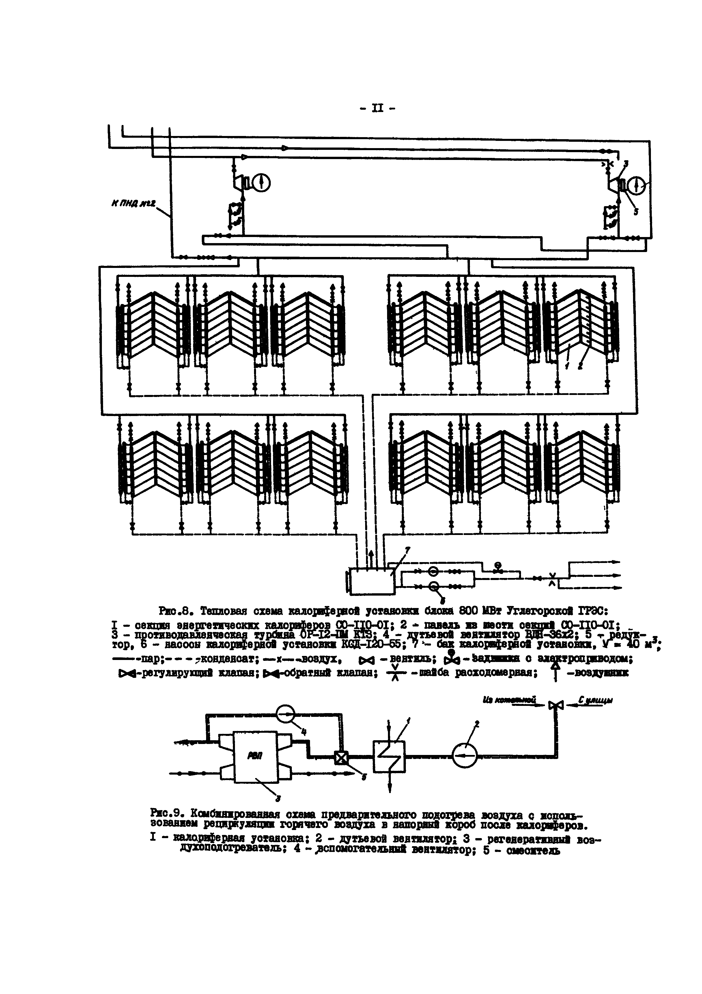
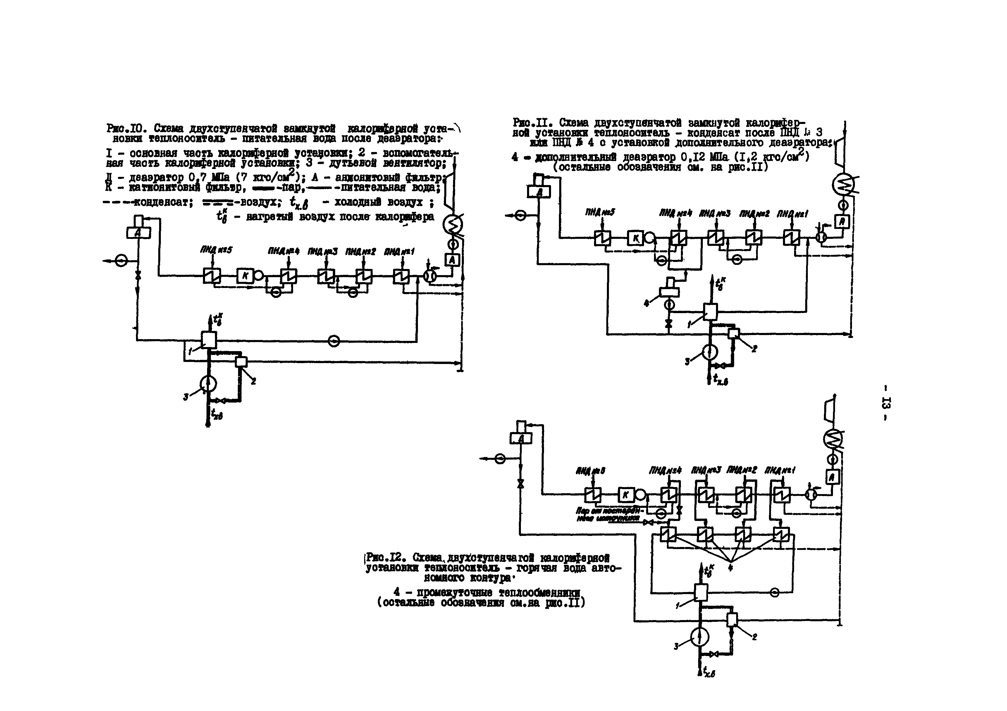
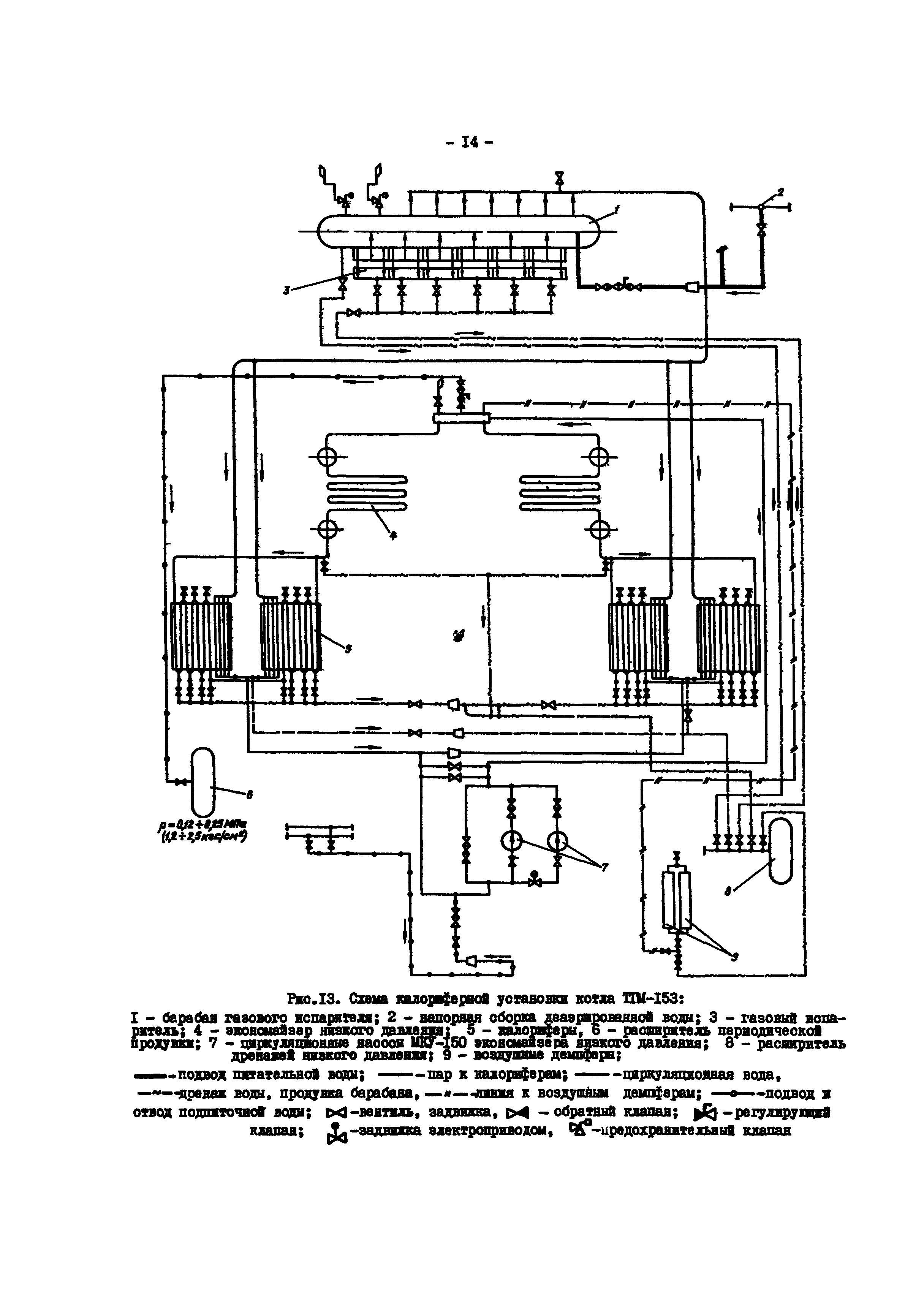
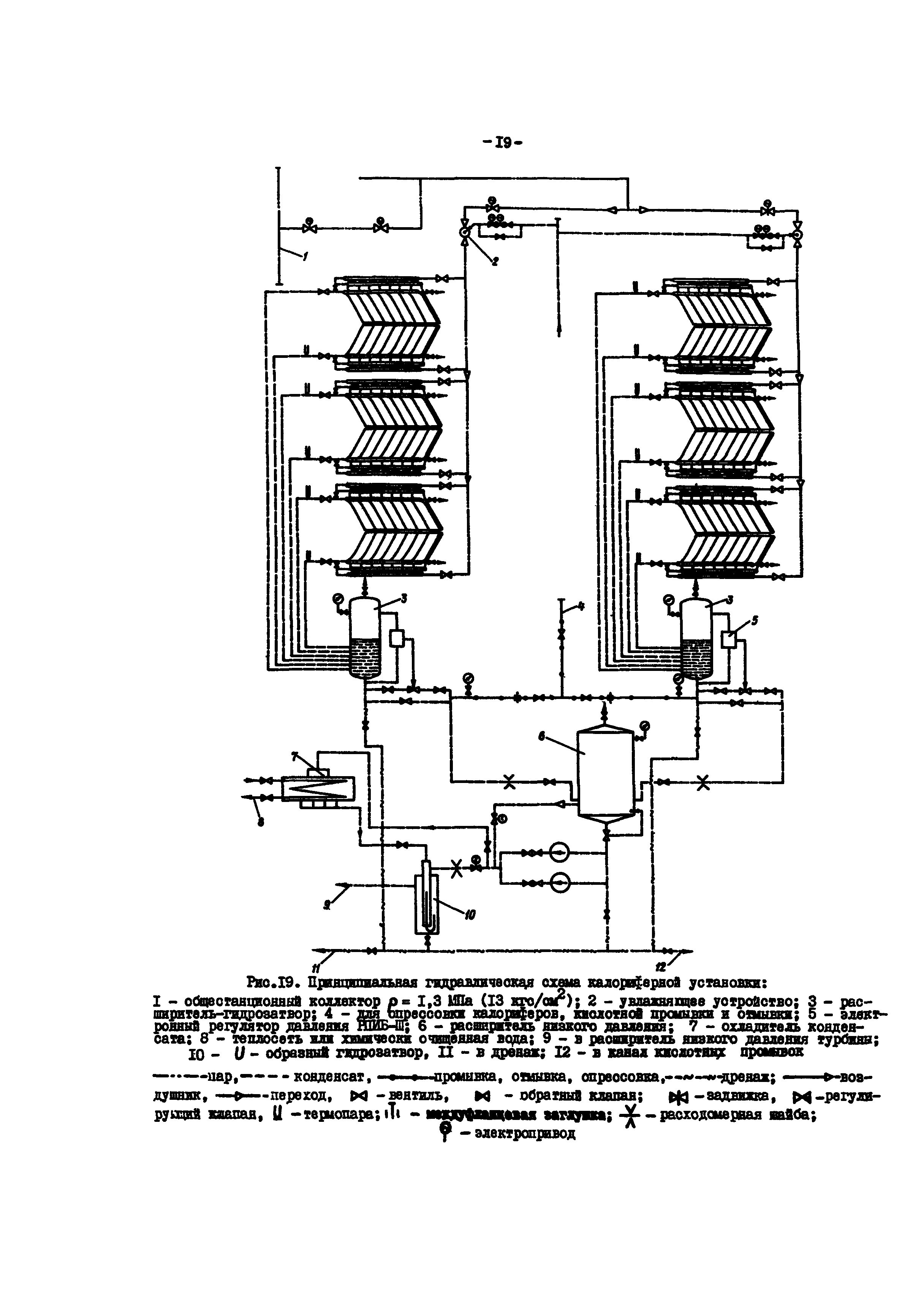
| Оглавление: | 1. Обще положения 2. Основные требования, предъявляемые к энергетическим калориферным установкам 3. Конструкции энергетических калориферов из труб с проволочным оребрением 4. Компоновки энергетических калориферных установок 5. Тепловые схемы калориферных установок 6. Воздушные тракты 7. Пароводные тракты установок ППВ 8. Выбор теплоносителя и оценка тепловой эффективности 9. Методика теплового расчета калориферных установок из труб с проволочным оребрением 10. Методика аэродинамического расчета 11. Методика гидравлического расчета 12. Выбор исходных данных для проектирования 13. Некоторые вопросы монтажа ремонта 14. Основные указания по эксплуатации установок ППВ Приложение. Данные по температурам наружного воздуха для ряда районов СССР |
| Разработан: | ВТИ |
| Утверждён: | 24.06.1980 Минэнерго СССР (USSR Minenergo ) |
| Издан: | СПО Союзтехэнерго (1981 г. ) |











































