Скачать РД 34.24.503-96 Типовая инструкция по эксплуатации индивидуальных систем пылеприготовления прямого вдувания со среднеходными мельницами типа МВСДата актуализации: 01.01.2021
|
| Обозначение: | РД 34.24.503-96 |
| Обозначение англ: | RD 34.24.503-96 |
| Статус: | действует |
| Название рус.: | Типовая инструкция по эксплуатации индивидуальных систем пылеприготовления прямого вдувания со среднеходными мельницами типа МВС |
| Название англ.: | Model Guidelines for Operation of Individual Direct-Injection Fuel Pulverizing Systems with Bowl Mills Type MVS |
| Дата добавления в базу: | 01.09.2013 |
| Дата актуализации: | 01.01.2021 |
| Дата введения: | 01.03.1998 |
| Область применения: | Инструкция устанавливает общий порядок и условия выполнения основных технологических операций при эксплуатации индивидуальных систем пылеприготовления прямого вдувания со среднеходными мельницами типа МВС производства Сызраньского завода тяжелого машиностроения, обеспечивающие их безаварийную работу. |
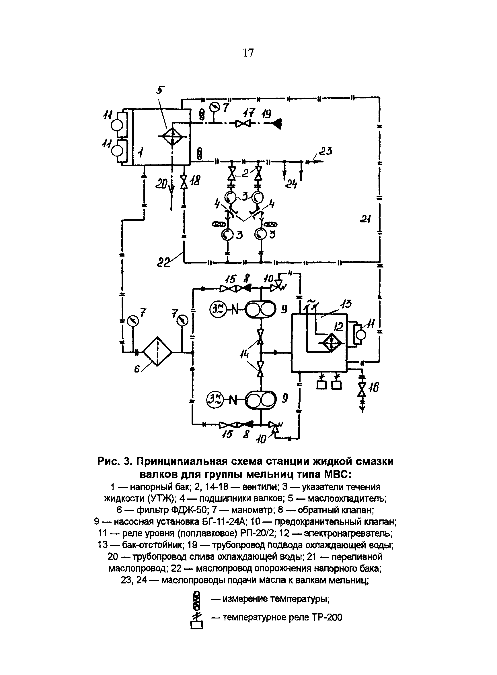
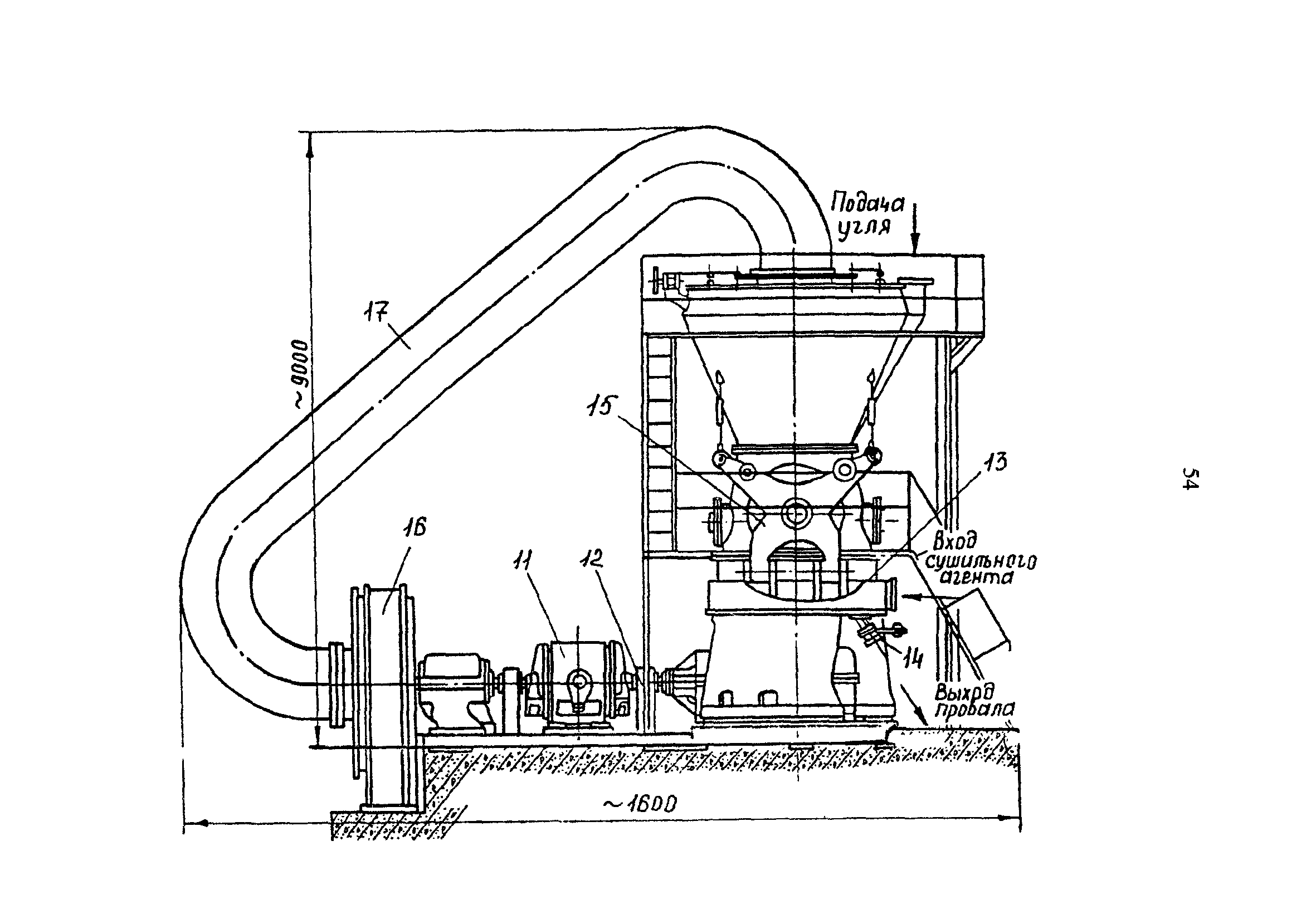
| Оглавление: | 1 Введение 2 Общие указания 3 Подготовка системы пылеприготовления к пуску 4 Включение системы пылеприготовления в работу 5 Управление системой пылеприготовления и контроль за режимом ее работы 6 Останов системы пылеприготовления 7 Характерные нарушения режима работы системы пылеприготовления и действия по их устранению Приложение 1 Краткие конструктивные сведения по оборудованию систем пылеприготовления со среднеходными мельницами типа МВС Приложение 2 Объем измерений в системах пылеприготовления с мельницами типа МВС Приложение 3 Сигнализация, защиты и блокировки, автоматизация в системах пылеприготовления с мельницами типа МВС |
| Разработан: | АО Фирма ОРГРЭС |
| Утверждён: | 02.10.1996 Департамент науки и техники РАО ЕЭС России (Department of Science and Technology, UES of Russia RAO ) |
| Издан: | СПО ОРГРЭС (1998 г. ) |
| Заменяет собой: |
|
| Нормативные ссылки: |
|













































































