Скачать РД 34.22.501 Методические указания по предотвращению образования минеральных и органических отложений в конденсаторах турбин и их очисткеДата актуализации: 01.01.2021
|
| Обозначение: | РД 34.22.501 |
| Обозначение англ: | RD 34.22.501 |
| Статус: | действует |
| Название рус.: | Методические указания по предотвращению образования минеральных и органических отложений в конденсаторах турбин и их очистке |
| Название англ.: | Procedural Guidelines for the Prevention and Removal of Mineral and Organic Deposits |
| Дата добавления в базу: | 01.11.2014 |
| Дата актуализации: | 01.01.2021 |
| Дата введения: | 01.01.1988 |
| Область применения: | Методические указания предназначены для оказания методической помощи эксплуатационному персоналу ТЭС, пуско-наладочных и проектных организаций в обеспечении номинальной работы конденсационной установки путем правильного выбора и внедрения способов предотвращения загрязнения конденсаторов турбин и их очистке. |
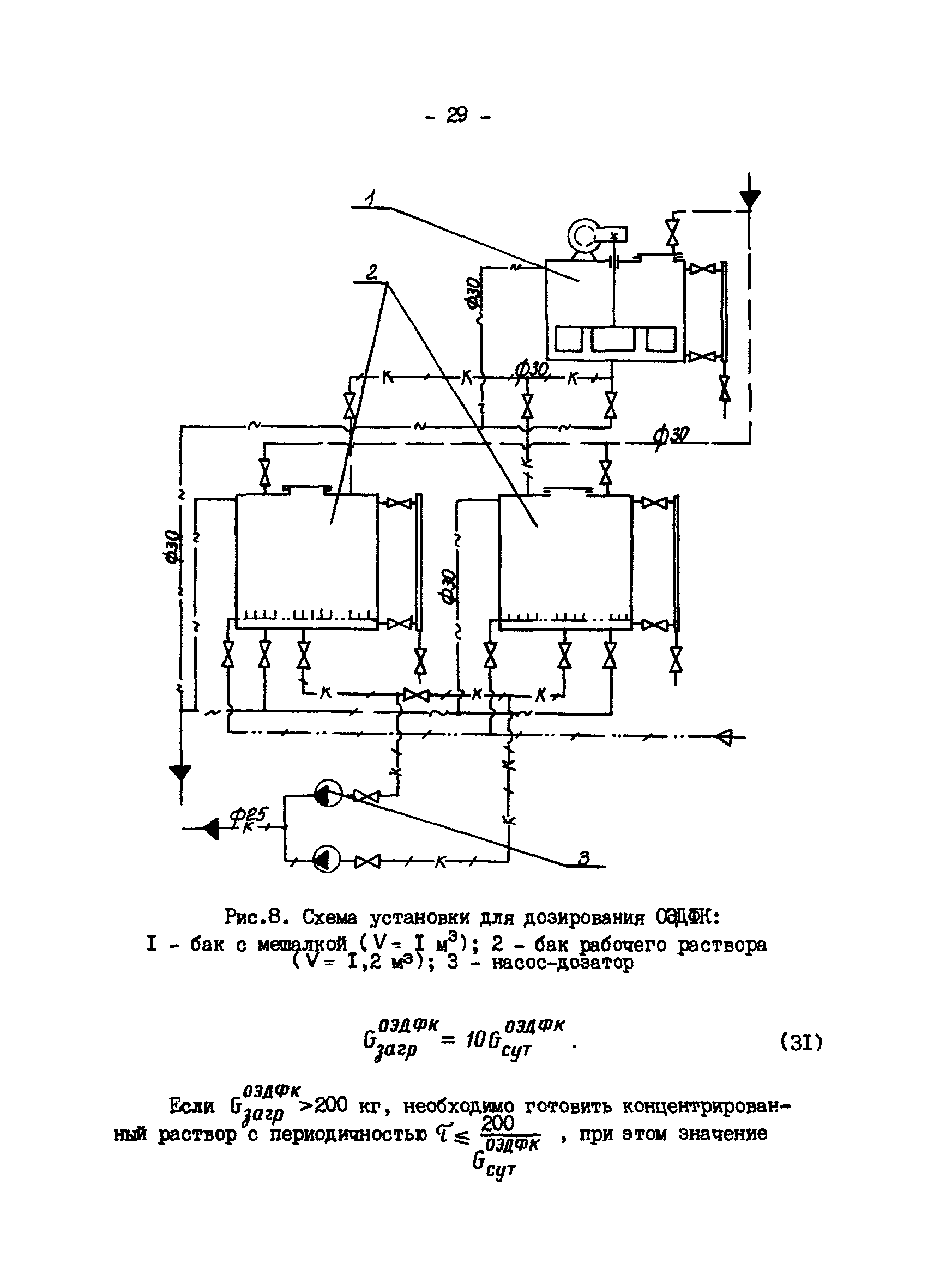
| Оглавление: | 1. Общая часть 2. Водный режим системы оборотного водоснабжения и определение накипеобразующей способности охлаждающей воды 3. Характеристика загрязнений конденсаторов турбин 4. Методы предотвращения загрязнения конденсаторов турбин карбонатными отложениями 5. Предотвращение образования органических отложений путем хлорирования воды 6. Очистка конденсаторов турбин от отложений Приложение 1. Примеры расчета режимов обработки воды Приложение 2. Методика определения стабильности воды |
| Разработан: | Южтехэнерго |
| Утверждён: | 28.12.1987 Минэнерго СССР (USSR Minenergo ) |
| Издан: | СПО Союзтехэнерго (1989 г. ) |
| Заменяет собой: |
|
| Нормативные ссылки: |










































































