Скачать Р 78.36.011-2000 Организация работы пунктов централизованной охраныДата актуализации: 01.01.2021
|
| Обозначение: | Р 78.36.011-2000 |
| Обозначение англ: | R 78.36.011-2000 |
| Статус: | утратил силу |
| Название рус.: | Организация работы пунктов централизованной охраны |
| Дата добавления в базу: | 01.09.2013 |
| Дата актуализации: | 01.01.2021 |
| Дата введения: | 12.09.2000 |
| Дата окончания срока действия: | 10.06.2014 |
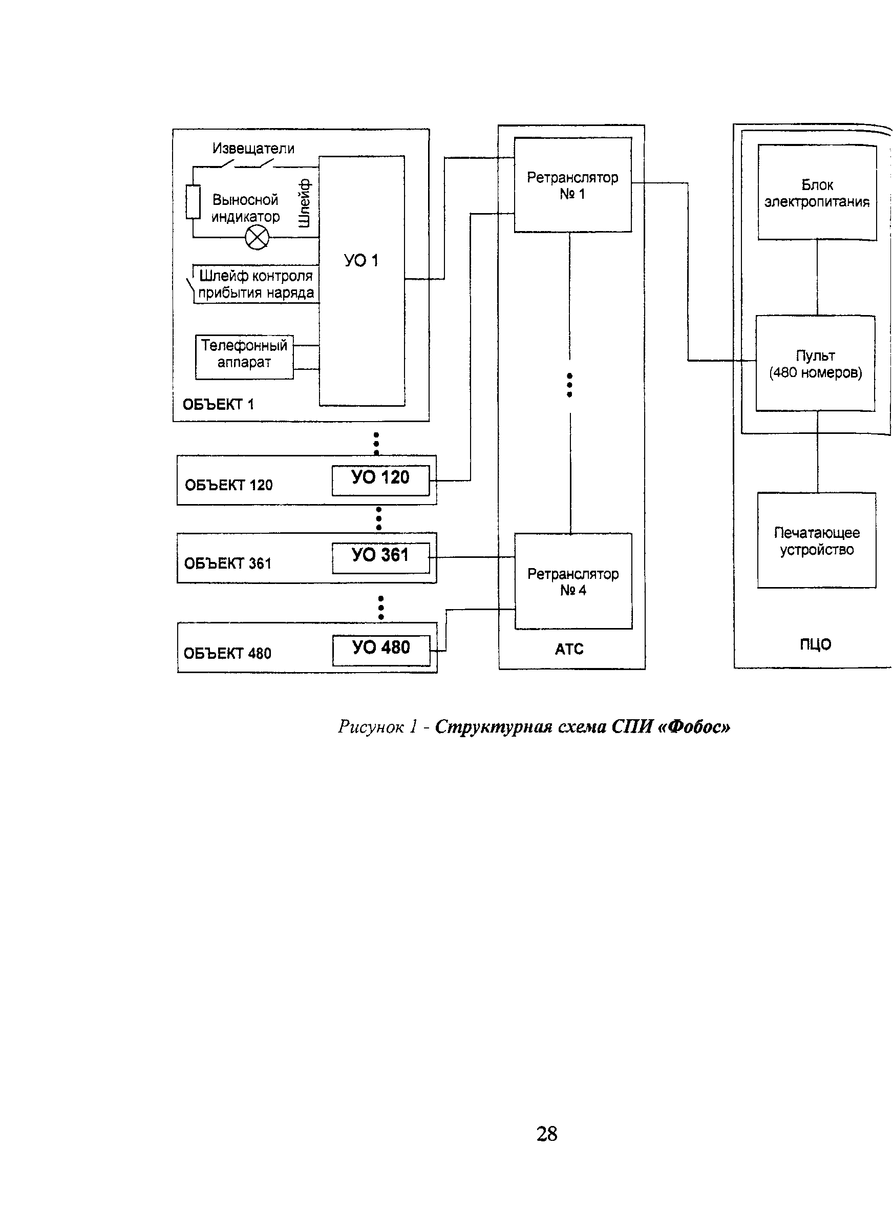
| Область применения: | Рассмотрены вопросы организации работы пунктов централизованной охраны (ПЦО), определены задачи ПЦО, должностные обязанности обслуживающего персонала, требования к помещениям (санитарные нормы, охрана и техническая укрепленность, требования к организации режима труда и отдыха при работе с компьютером). Приведены технические характеристики систем передачи извещений, используемых в ПЦО. Определен порядок организации и проведения технического обслуживания оборудования, размещенного в ПЦО, приведен рекомендуемый перечень документации учета и контроля выполняемых работ в ПЦО. Предназначены для руководящего и обслуживающего персонала ПЦО. |
| Оглавление: | 1 Общие положения 2 Термины и определения 3 Задачи пункта централизованной охраны 4 Должностные обязанности сотрудников пункта централизованной охраны 5 Требования к пункту централизованной охраны 6 Технические характеристики систем передачи извещений 7 Техническое обслуживание и ремонт систем передачи извещений 8 Энергоснабжение пункта централизованной охраны 9 Радиосвязь пункта централизованной охраны 10 Документация пункта централизованной охраны 11 Инструкции 12 Организация работы микро-ПЦО 13 Меры безопасности 14 Организация проведения производственных инструктажей и служебных занятий по повышению квалификации сотрудников ПЦО Список литературы Приложение А Примеры технологических карт проведения регламентных работ Приложение Б.1 Контрольный лист учета охраны объекта Приложение Б.2 Контрольный лист учета охраны квартир Приложение В Бортовой журнал |
| Разработан: | НИЦ Охрана ГУВО МВД России |
| Утверждён: | 12.09.2000 ГУВО МВД России (Security Guard Service Administration at the Russian Federation Ministry of Internal Affairs ) |
| Издан: | НИЦ Охрана ГУВО МВД России (2000 г. ) |
| Нормативные ссылки: |
|

































































































































