Скачать ГОСТ 1183-80 Ножи для рубанков. Технические условияДата актуализации: 01.01.2021
|
| Обозначение: | ГОСТ 1183-80 |
| Обозначение англ: | GOST 1183-80 |
| Статус: | отменен |
| Название рус.: | Ножи для рубанков. Технические условия |
| Название англ.: | Jacks for planes. Specifications |
| Дата добавления в базу: | 01.10.2014 |
| Дата актуализации: | 01.01.2021 |
| Дата введения: | 01.01.1982 |
| Дата окончания срока действия: | 01.11.1989 |
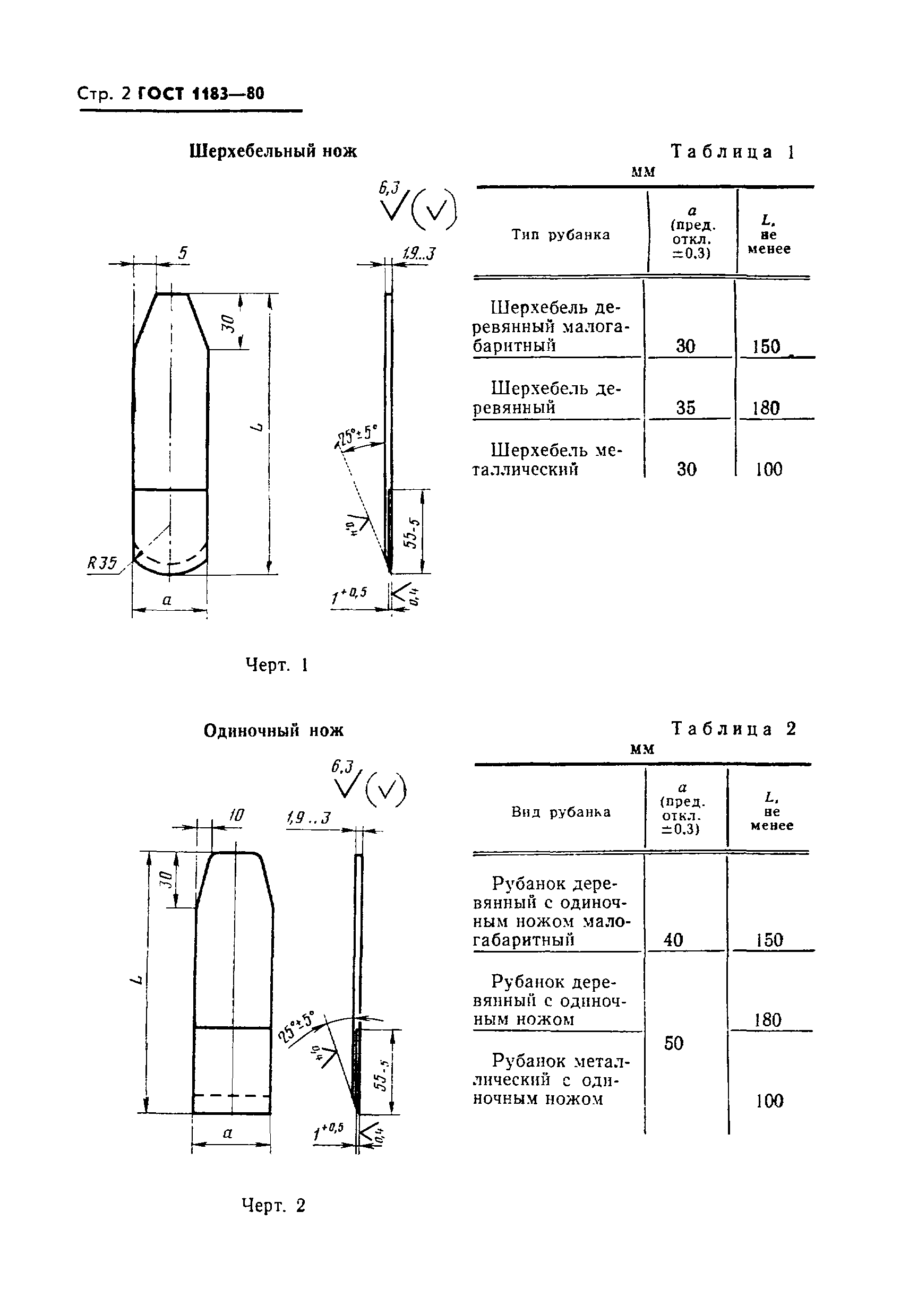
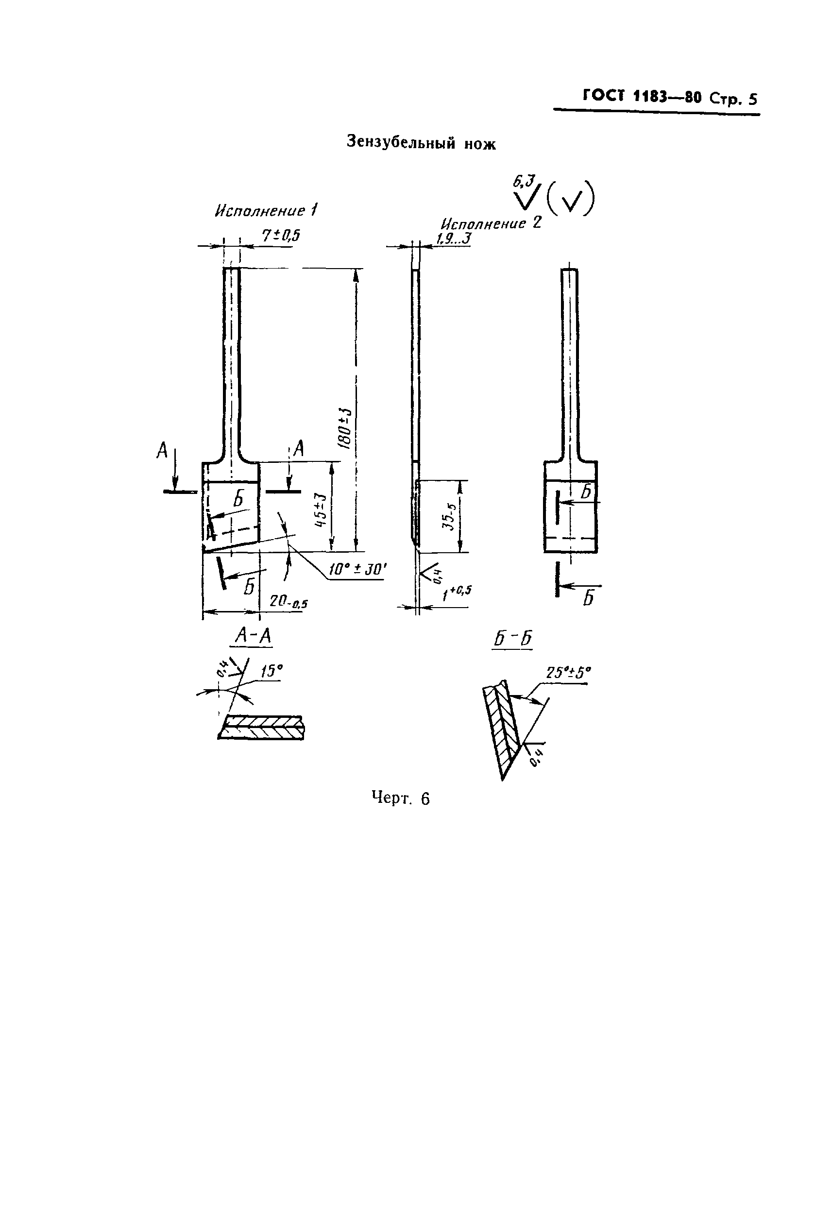
| Область применения: | Стандарт распространяется на ножи для рубанков шерхебельные, одиночные, двойные, цинубельные, зензубельные и фальцгебельные. |
| Оглавление: | 1. Основные размеры 2. Технические требования 3. Правила приемки 4. Методы испытаний 5. Маркировка, упаковка, транспортирование и хранение 6. Гарантии изготовителя Приложение (рекомендуемое) Конструктивные элементы деталей двойного ножа |
| Утверждён: | 13.05.1980 Государственный комитет СССР по стандартам (USSR National Committee on Standards 2088) |
| Издан: | Издательство стандартов (1984 г. ) |
| Список изменений: |
|
| Заменяет собой: |
|
| Нормативные ссылки: |
|











Текстовое изменение № 3 от 01.01.1988


