Скачать ГОСТ 18581-73 Клапаны обратные поворотные однодисковые из коррозионно-стойкой стали на Ру 4 МПа (40 кгс/см2). Технические условияДата актуализации: 01.01.2021
|
| Обозначение: | ГОСТ 18581-73 |
| Обозначение англ: | GOST 18581-73 |
| Статус: | отменен |
| Название рус.: | Клапаны обратные поворотные однодисковые из коррозионно-стойкой стали на Ру 4 МПа (40 кгс/см2). Технические условия |
| Название англ.: | Corrosion-resistant steel swing check valves with single disk for Pnom 4MPa ( 40 kgf/cm2). Specifications |
| Дата добавления в базу: | 01.10.2014 |
| Дата актуализации: | 01.01.2021 |
| Дата введения: | 01.01.1974 |
| Дата окончания срока действия: | 01.01.1989 |
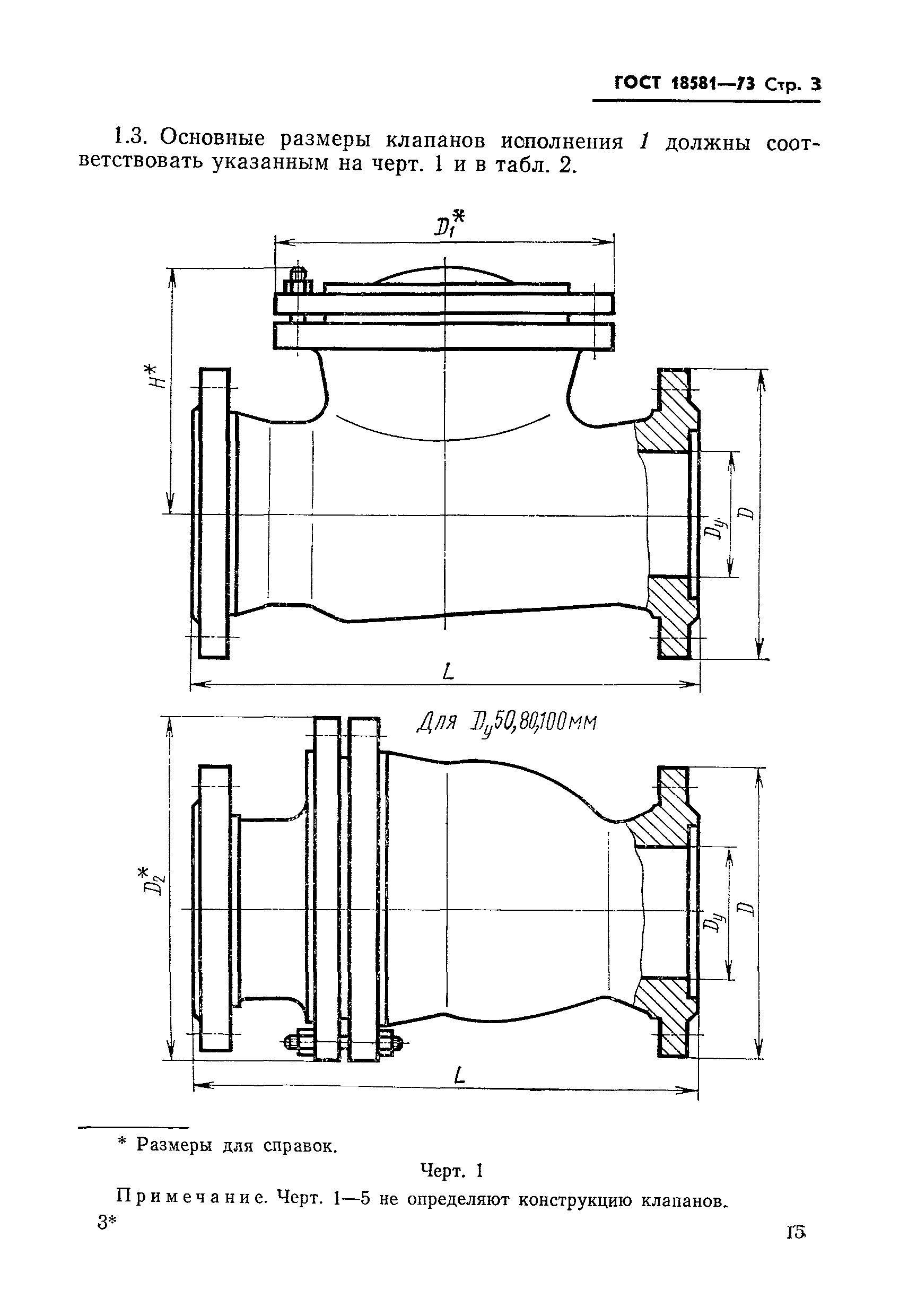
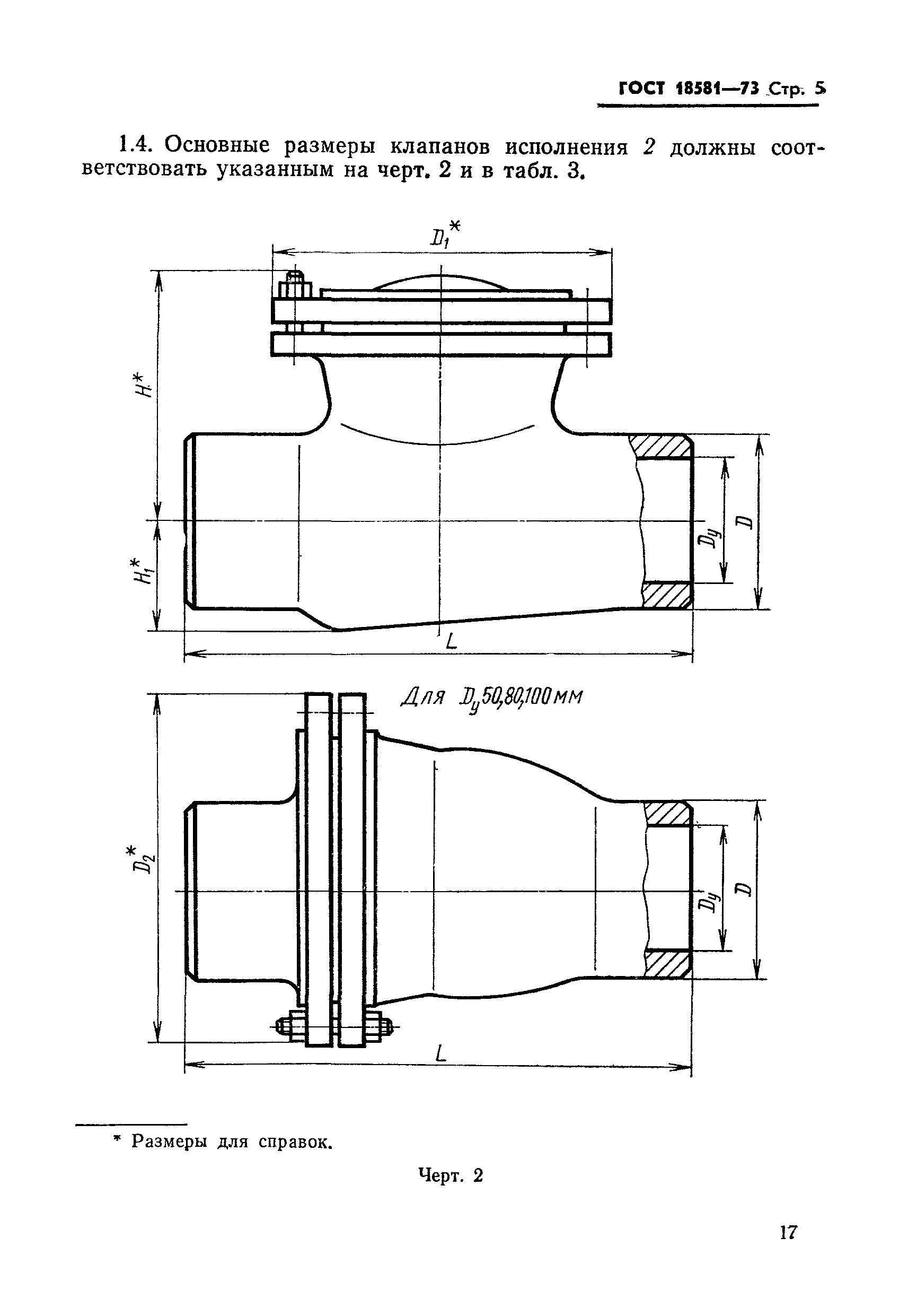
| Область применения: | Стандарт распространяется на обратные поворотные однодисковые фланцевые клапаны общепромышленного назначения из коррозионностойкой стали на Py 4 МПа. |
| Оглавление: | 1. Исполнение, основные параметры и размеры 2. Технические требования 3. Правила приемки 4. Методы испытаний 5. Маркировка, упаковка, транспортирование и хранение 6. Гарантии изготовителя |
| Разработан: | НПОА Знамя труда ЦКБА |
| Утверждён: | 30.03.1973 Государственный комитет стандартов Совета Министров СССР (USSR National Committee on Standards at the Cabinet of Ministers 794) 22.12.1972 Государственный комитет стандартов Совета Министров СССР (USSR National Committee on Standards at the Cabinet of Ministers 189) |
| Издан: | Издательство стандартов (1973 г. ) |
| Список изменений: |
|
| Заменяет собой: |
|
| Нормативные ссылки: |
|















Текстовое изменение № 2 от 01.07.1982
