Скачать ГОСТ 22779-77 Оборудование вертикальных цилиндрических резервуаров для нефтепродуктов. Краны сифонные. Основные параметры и размеры. Технические требования

Дата актуализации: 01.01.2021

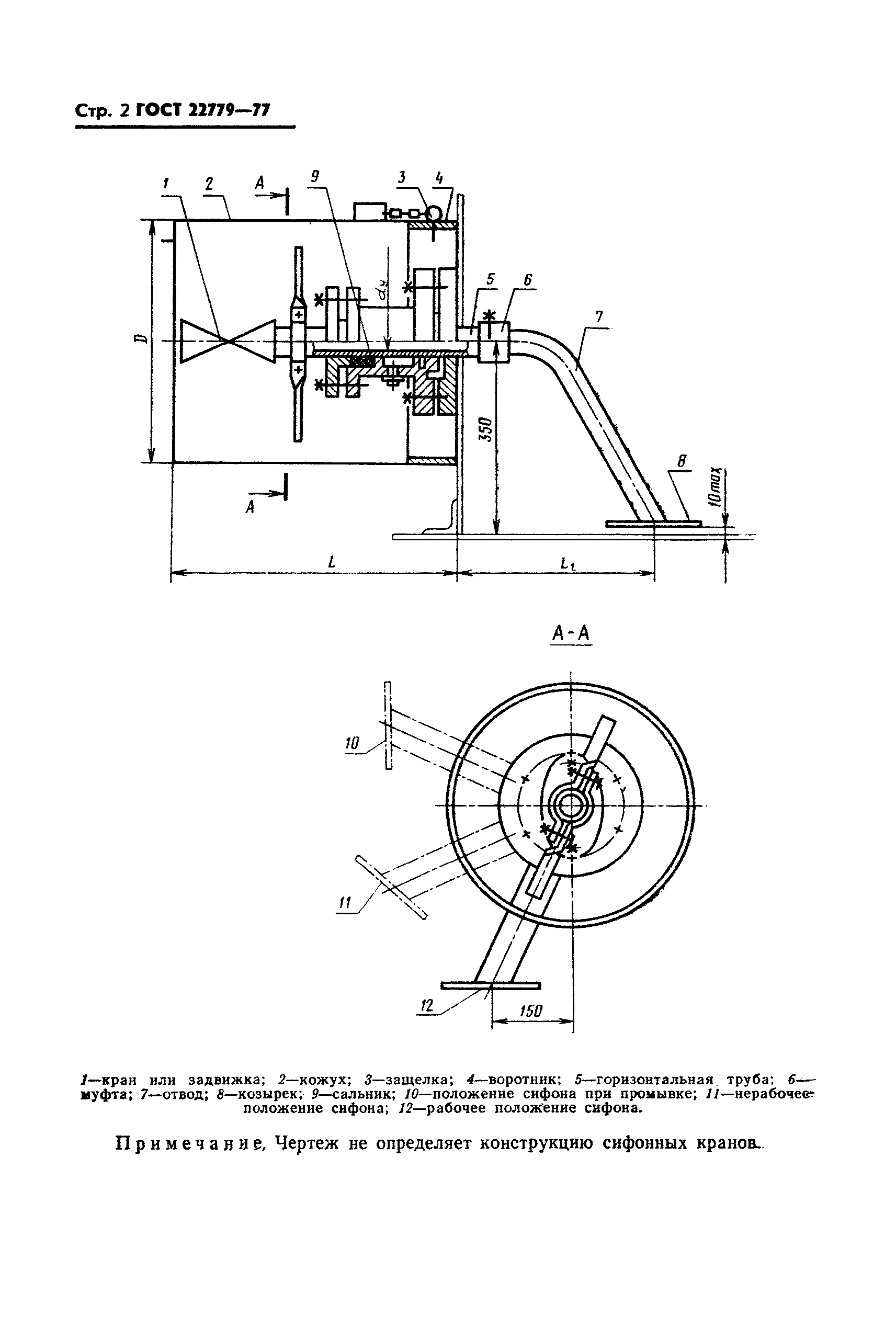
ГОСТ 22779-77

Оборудование вертикальных цилиндрических резервуаров для нефтепродуктов. Краны сифонные. Основные параметры и размеры. Технические требования

Обозначение: ГОСТ 22779-77
Обозначение англ: GOST 22779-77
Статус:отменен
Название рус.:Оборудование вертикальных цилиндрических резервуаров для нефтепродуктов. Краны сифонные. Основные параметры и размеры. Технические требования
Название англ.:Accessories for vertical cylindrical storage tanks for petroleum products. Siphon tupewater draw-Off Valves. Basic parameters and dimensions. Technical requirements
Дата добавления в базу:21.05.2015
Дата актуализации:01.01.2021
Дата введения:01.01.1980
Дата окончания срока действия:01.01.1987
Область применения:Стандарт распространяется на сифонные краны, предназначенные для забора и спуска подтоварной воды из резервуаров объемом от 100 до 20000 м3 со светлыми и темными нефтепродуктами.
Оглавление:1. Основные параметры и размеры
2. Технические требования
Утверждён:11.11.1977 Государственный комитет стандартов Совета Министров СССР (USSR National Committee on Standards at the Cabinet of Ministers 2631)
Издан: Издательство стандартов (1985 г. )
Заменяет собой:
Нормативные ссылки:
ГОСТ 22779-77ГОСТ 22779-77ГОСТ 22779-77ГОСТ 22779-77ГОСТ 22779-77ГОСТ 22779-77