Скачать ГОСТ 22956-83 Стропы цепные механизированные для крепления грузов на транспортных средствах. Технические условияДата актуализации: 01.01.2021
|
| Обозначение: | ГОСТ 22956-83 |
| Обозначение англ: | GOST 22956-83 |
| Статус: | отменен |
| Название рус.: | Стропы цепные механизированные для крепления грузов на транспортных средствах. Технические условия |
| Название англ.: | Mechanized chain slings for fixing loads on vehicles. Specifications |
| Дата добавления в базу: | 01.10.2014 |
| Дата актуализации: | 01.01.2021 |
| Дата введения: | 01.01.1984 |
| Дата окончания срока действия: | 01.01.1989 |
| Область применения: | Стандарт распространяется на цепные механизированные стропы, предназначенные для крепления грузов к увязочным устройствам железнодорожных платформ и полувагонов и работающие при температуре от плюс 50 град. Цельсия до минус 40 град. Цельсия. Допускается использовать стропы для крепления грузов на других транспортных средствах. |
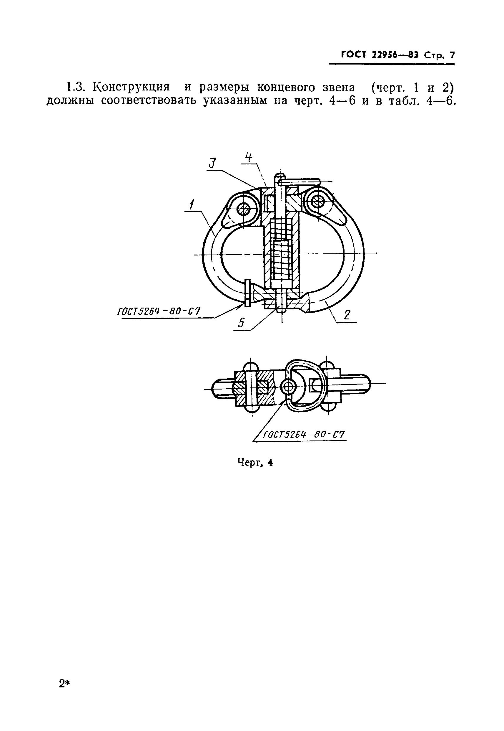
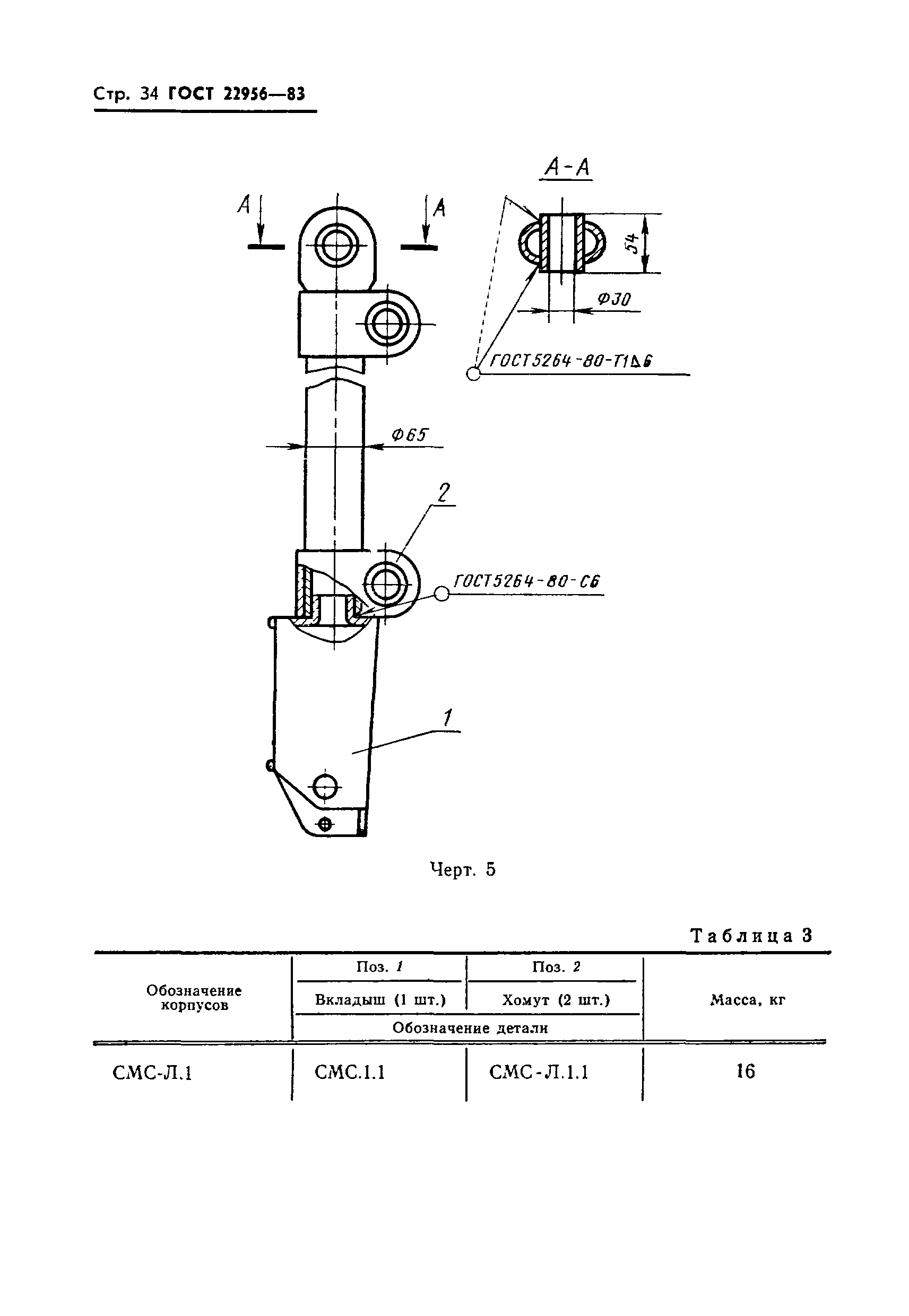
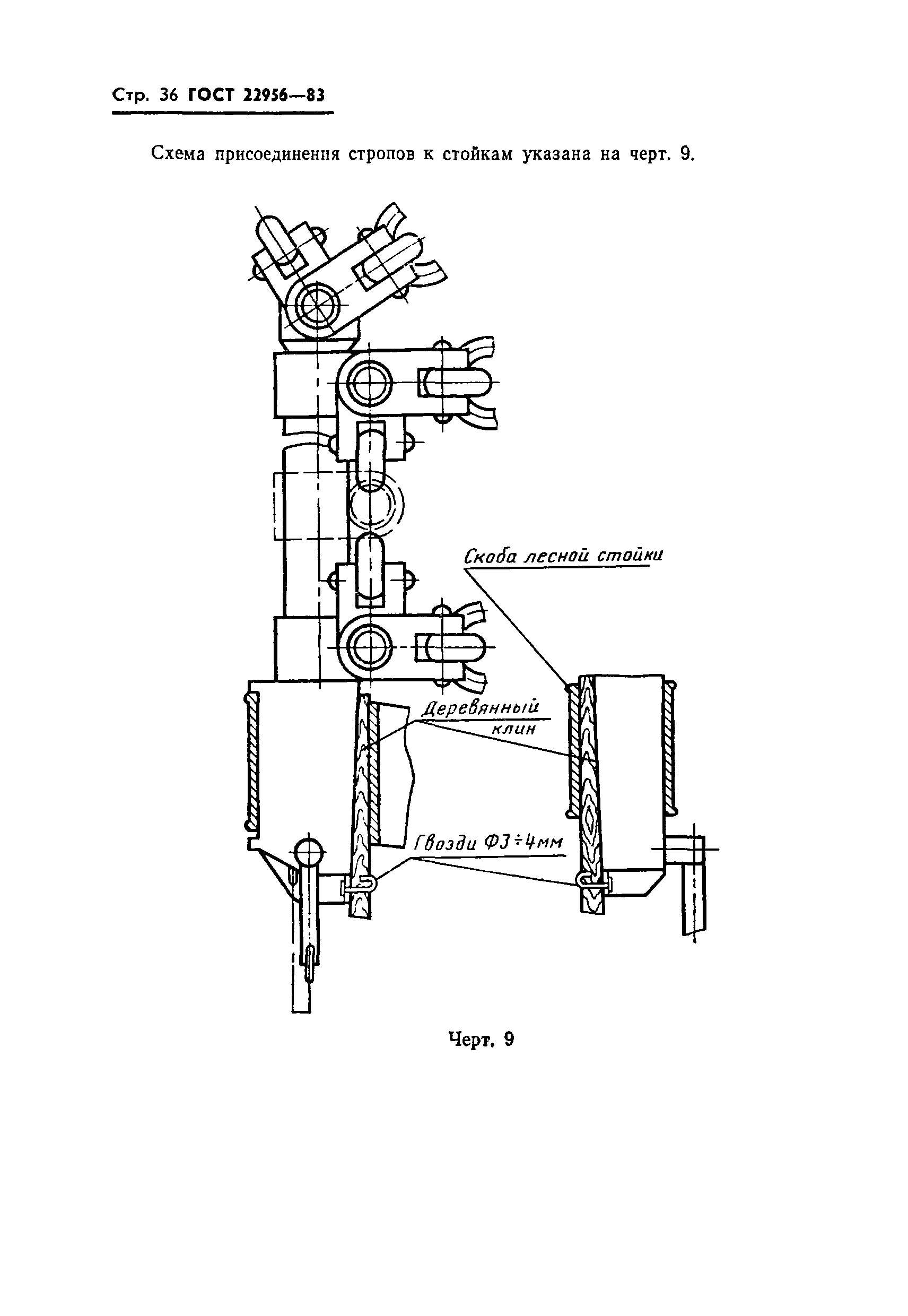
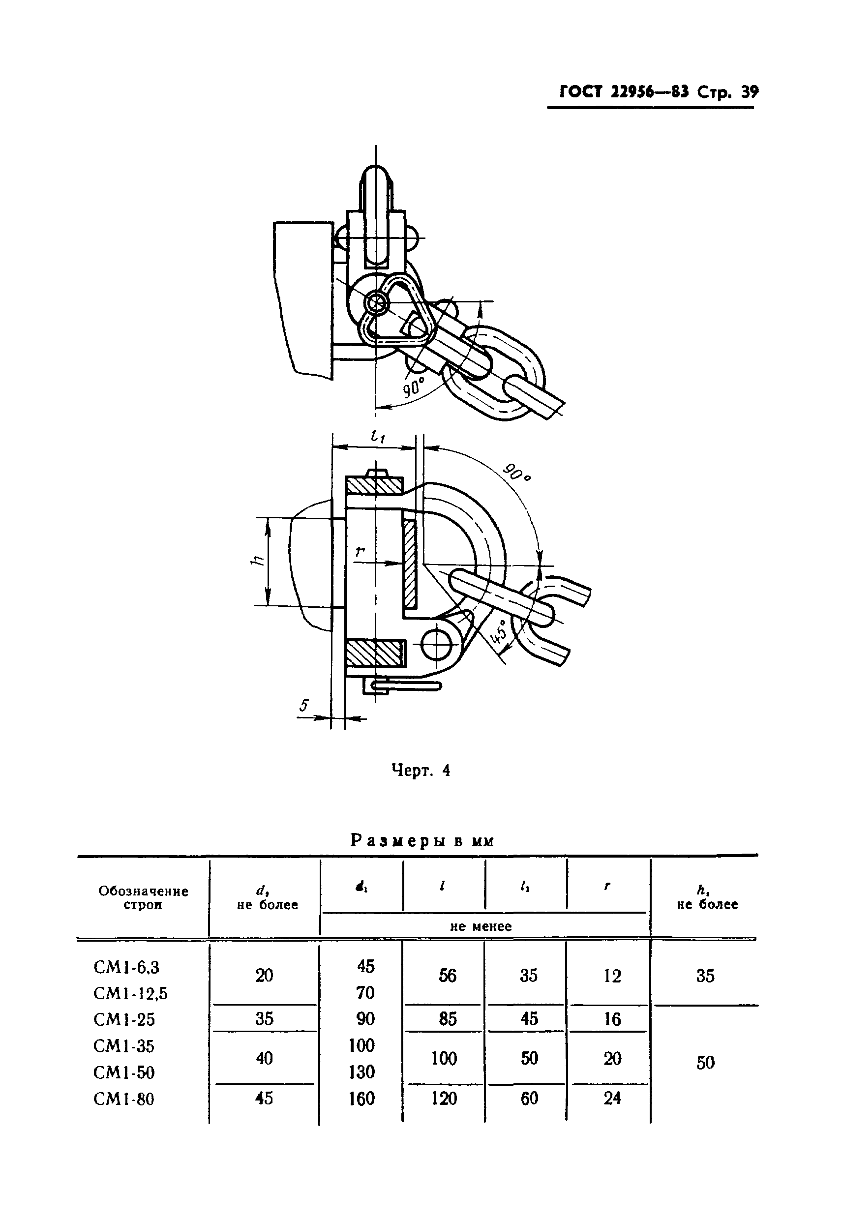
| Оглавление: | 1. Конструкция, основные параметры и размеры 2. Технические требования 3. Правила приемки 4. Методы испытаний 5. Маркировка, упаковка, транспортирование и хранение 6. Гарантии изготовителя Приложение 1 (справочное) Устройства крепления строп Приложение 2 (справочное) Способы крепления строп к увязочным устройствам и грузам |
| Утверждён: | 14.02.1983 Государственный комитет СССР по стандартам (USSR National Committee on Standards 927) |
| Издан: | Издательство стандартов (1983 г. ) |
| Заменяет собой: |
|
| Нормативные ссылки: |
|








































