Скачать ГОСТ 23052-78 Боксы кабельные телефонные. Технические условия

Дата актуализации: 01.01.2021

ГОСТ 23052-78

Боксы кабельные телефонные. Технические условия

Обозначение: ГОСТ 23052-78
Обозначение англ: GOST 23052-78
Статус:отменен
Название рус.:Боксы кабельные телефонные. Технические условия
Название англ.:Boxes cable telephone. Specification
Дата добавления в базу:01.11.2014
Дата актуализации:01.01.2021
Дата введения:01.07.1979
Дата окончания срока действия:01.07.1989
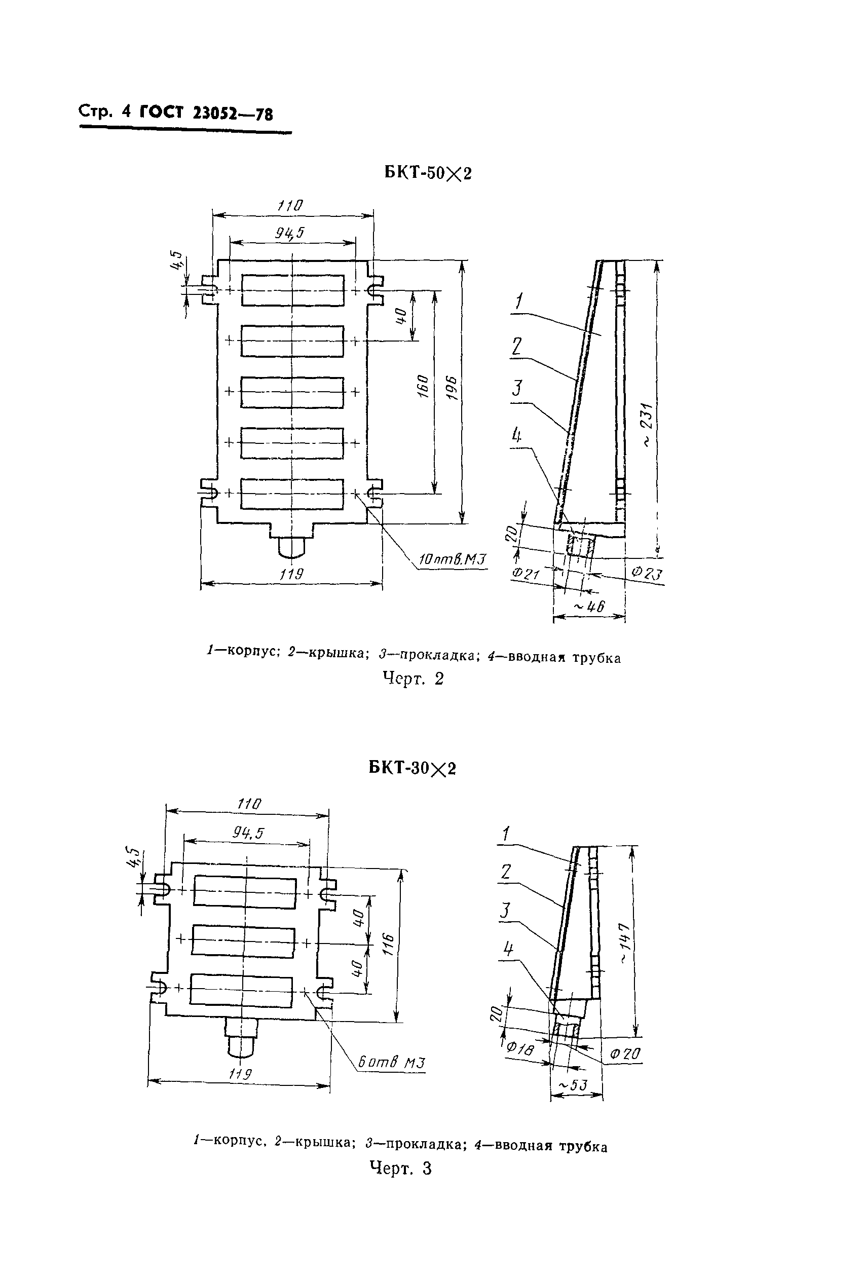
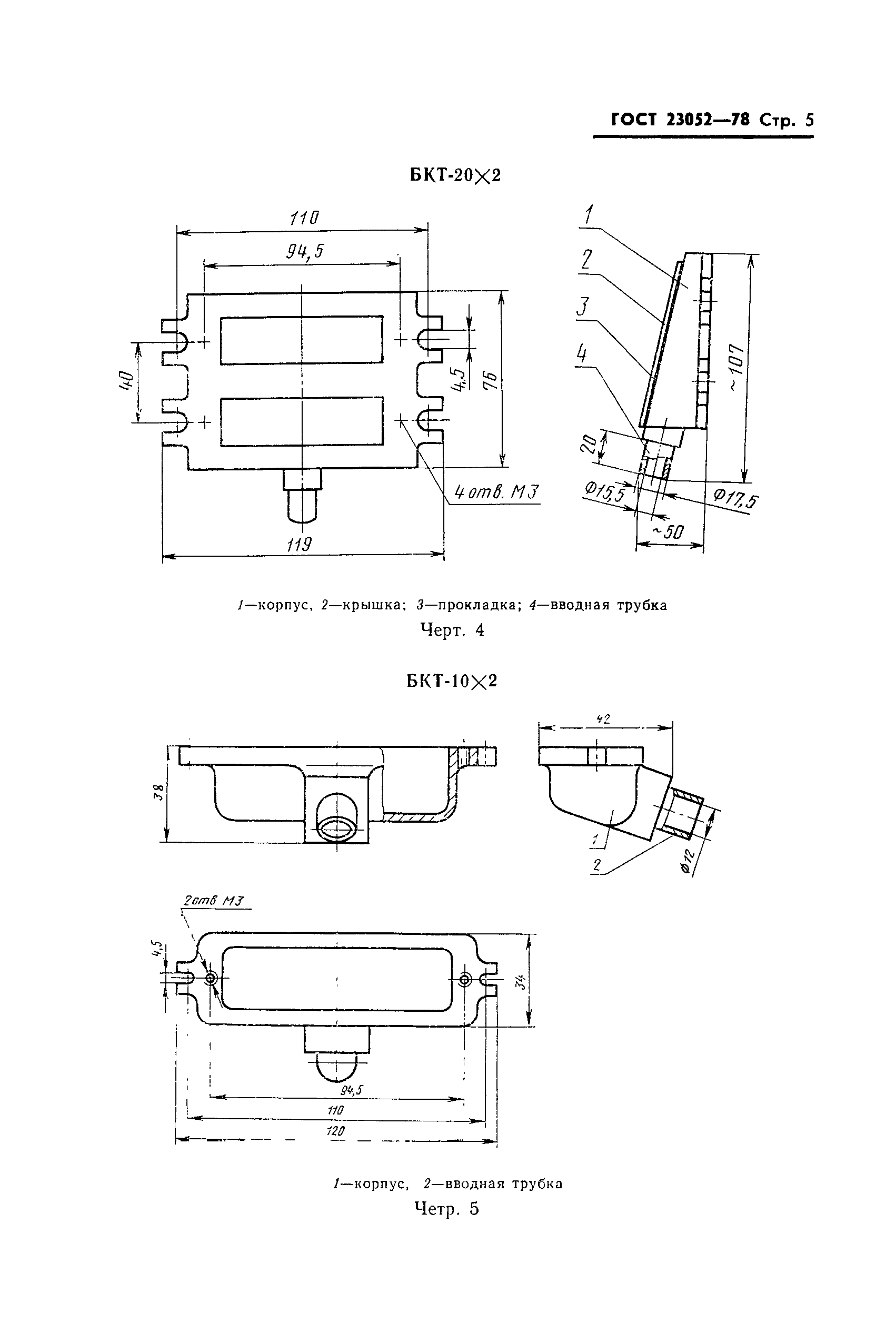
Область применения:Стандарт распространяется на телефонные кабельные боксы, предназначенные для включения кабелей (со свинцовой или пластмассовой оболочкой), установки плинтов и защиты элементов кабеля и плинтов от механических воздействий и влаги, изготавливаемые для нужд народного хозяйства и экспорта.
Оглавление:1. Типы и основные размеры
2. Технические требования
3. Правила приемки
4. Методы испытаний
5. Маркировка, упаковка, транспортирование и хранение
6. Гарантии изготовителя
Утверждён:05.04.1978 Государственный комитет стандартов Совета Министров СССР (USSR National Committee on Standards at the Cabinet of Ministers 945)
Издан: Издательство стандартов (1983 г. )
Заменяет собой:
  • ГОСТ 7651-67 «Боксы кабельные для городских телефонных сетей» (Сведения из перечня "Указатель государственных стандартов СССР 1980 г.", Издательство стандартов 1980)
  • ГОСТ 8108-67 «Боксы кабельные для распределительных телефонных шкафов» (Сведения из перечня "Указатель государственных стандартов СССР 1980 г.", Издательство стандартов 1980)
  • ГОСТ 9677-67 «Боксы кабельные междугородные» (Сведения из перечня "Указатель государственных стандартов СССР 1980 г.", Издательство стандартов 1980)
Нормативные ссылки:
ГОСТ 23052-78ГОСТ 23052-78ГОСТ 23052-78ГОСТ 23052-78ГОСТ 23052-78ГОСТ 23052-78ГОСТ 23052-78ГОСТ 23052-78ГОСТ 23052-78ГОСТ 23052-78ГОСТ 23052-78ГОСТ 23052-78ГОСТ 23052-78ГОСТ 23052-78ГОСТ 23052-78ГОСТ 23052-78ГОСТ 23052-78