Скачать ГОСТ 23995-80 Штуцера под манометры для присоединения к трубопроводам с врезающимся кольцом и шаровым ниппелем. Конструкция и размеры

Дата актуализации: 01.01.2021

ГОСТ 23995-80

Штуцера под манометры для присоединения к трубопроводам с врезающимся кольцом и шаровым ниппелем. Конструкция и размеры

Обозначение: ГОСТ 23995-80
Обозначение англ: GOST 23995-80
Статус:отменен
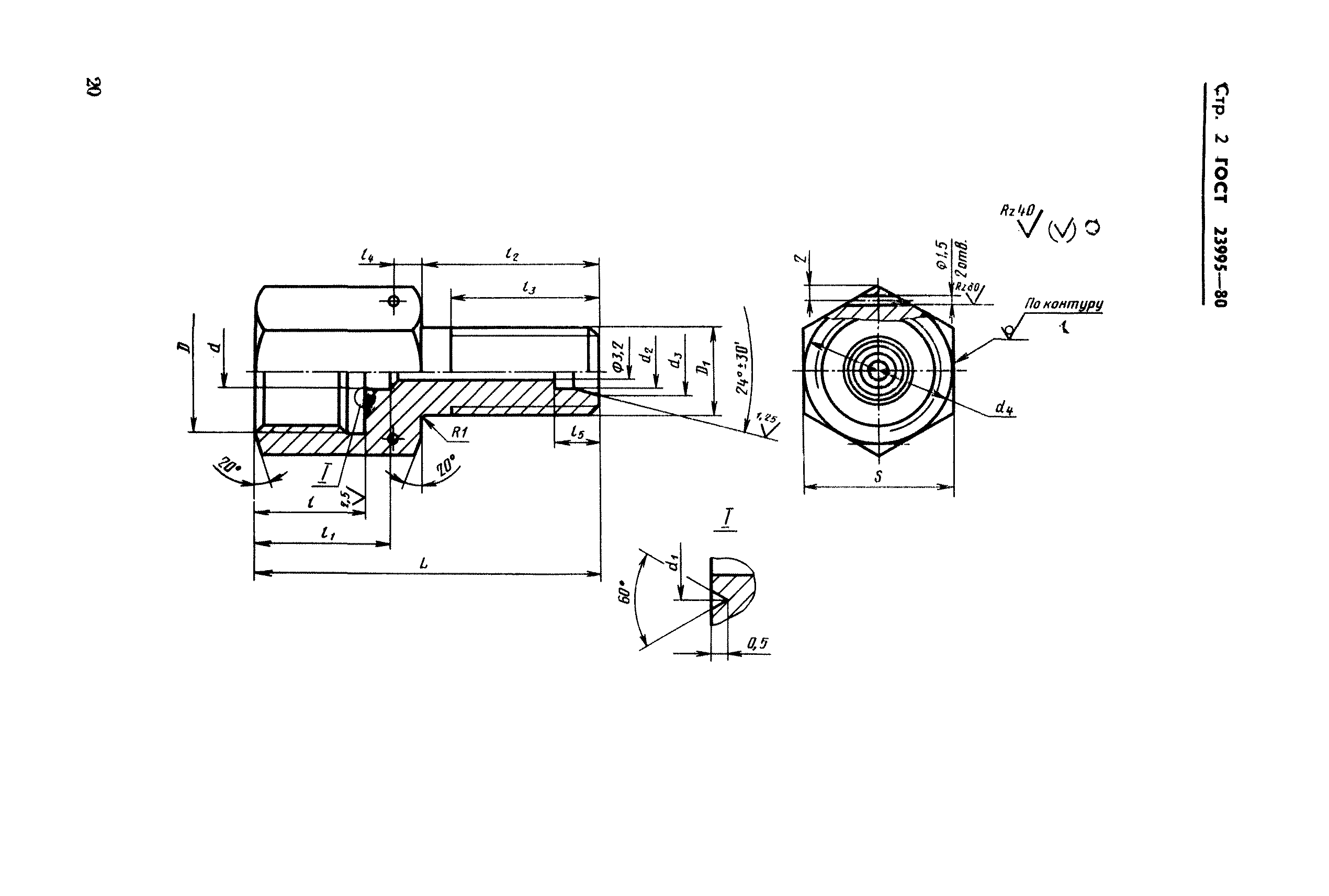
Название рус.:Штуцера под манометры для присоединения к трубопроводам с врезающимся кольцом и шаровым ниппелем. Конструкция и размеры
Название англ.:Fittings for connection of manometers to pipelines with cut ring and ball nipple. Construction and dimensions
Дата добавления в базу:21.05.2015
Дата актуализации:01.01.2021
Дата введения:01.01.1981
Дата окончания срока действия:01.01.1991
Область применения:Стандарт распространяется на штуцера под манометры для присоединения к трубопроводам с врезающимся кольцом по ГОСТ 15763-75 и с шаровыми ниппелями по ГОСТ 22525-77 и ГОСТ 23355-79.
Утверждён:18.02.1980 Государственный комитет СССР по стандартам (USSR National Committee on Standards 787)
Издан: Издательство стандартов (1980 г. )
Нормативные ссылки:
ГОСТ 23995-80ГОСТ 23995-80ГОСТ 23995-80ГОСТ 23995-80ГОСТ 23995-80ГОСТ 23995-80ГОСТ 23995-80