Скачать РД 45.051-99 Техническая эксплуатация сельских телефонных сетей. Основные положенияДата актуализации: 01.01.2021
|
| Обозначение: | РД 45.051-99 |
| Обозначение англ: | RD 45.051-99 |
| Статус: | действует |
| Название рус.: | Техническая эксплуатация сельских телефонных сетей. Основные положения |
| Дата добавления в базу: | 01.09.2013 |
| Дата актуализации: | 01.01.2021 |
| Дата введения: | 07.12.1999 |
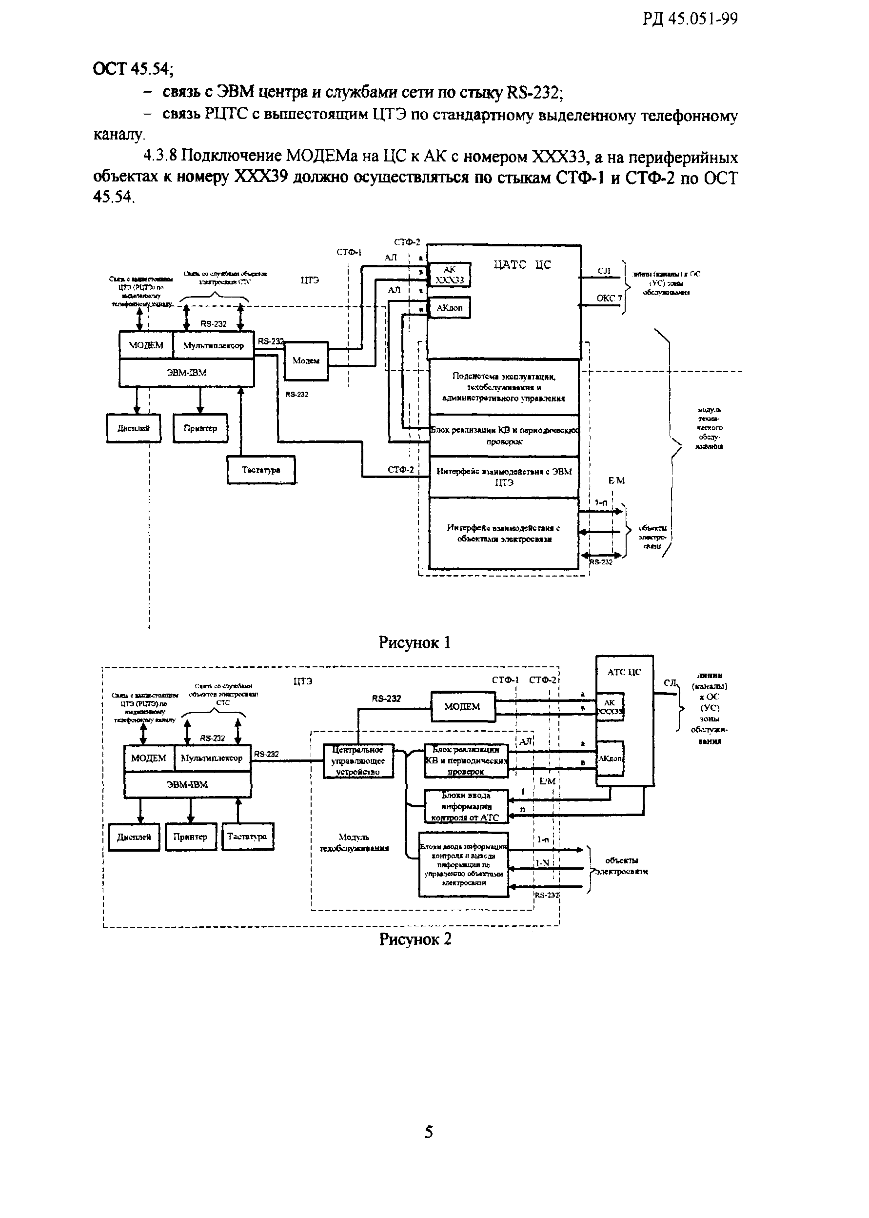
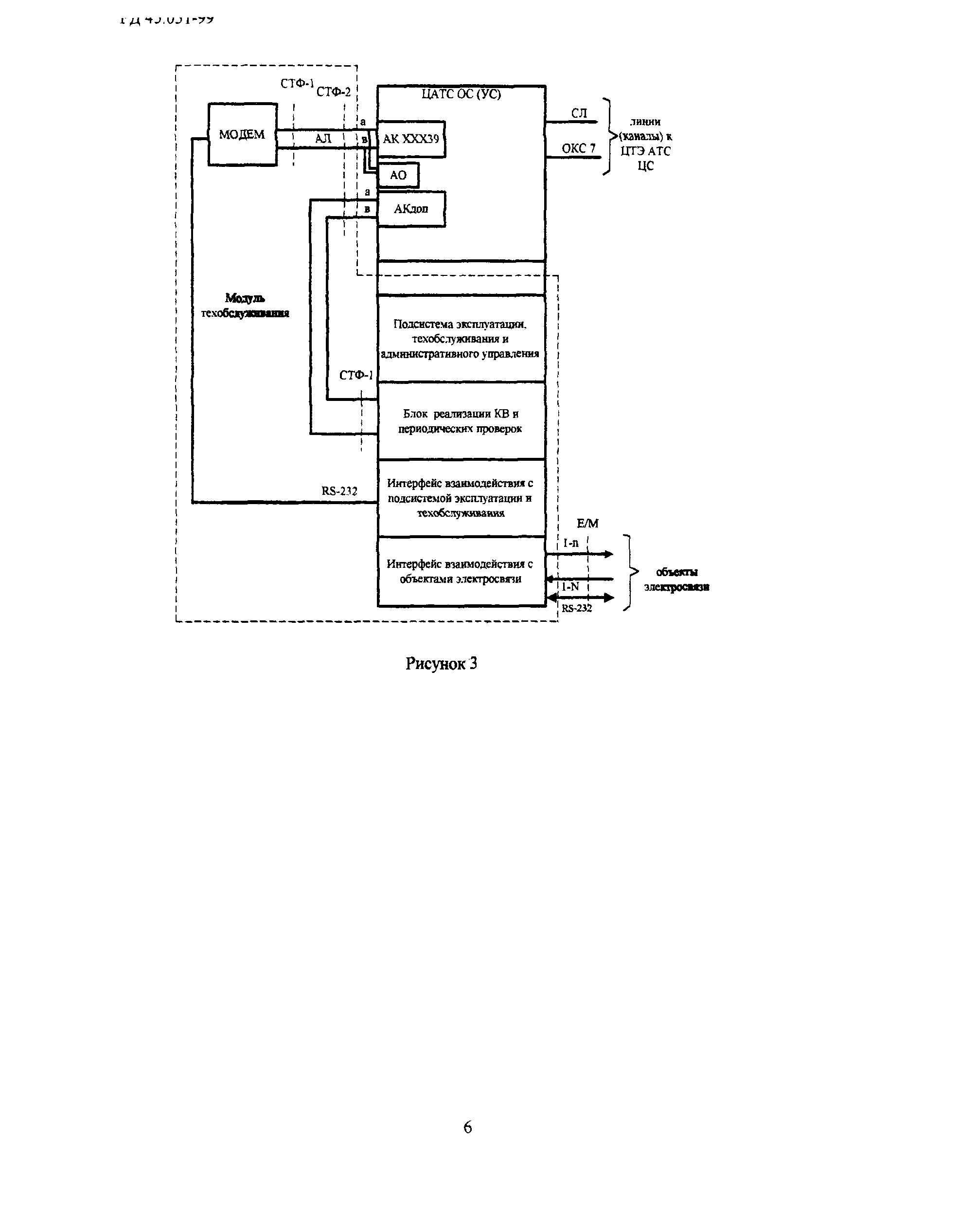
| Область применения: | Руководящий документ устанавливает требования к системе и средствам технического обслуживания, к отдельным функциям управления системой и ее конфигурации, к организации централизованной системы эксплуатации и определяет правила взаимодействия |
| Оглавление: | 1 Область применения 2 Нормативные ссылки 3 Определения, сокращения и обозначения 4 Система технической эксплуатации сельских телефонных сетей 5 Основные требования по техническому обслуживанию оборудования коммутации 6 Требования к отдельным функциям управления системой и ее конфигурацией 7 Общие требования по организации централизованной системы эксплуатации 8 Интерфейс и протокол обмена при взаимодействии ЦТЭ с оборудованием объектов электросвязи при техническом обслуживании 9 Структура формата и коды передаваемой информации 10 Требования к центру ремонта оборудования и программного обеспечения Приложение А Рекомендуемый вариант использования команд протокола LAPB Приложение Б Библиография |
| Разработан: | ЛОНИИС |
| Утверждён: | 07.12.1999 Гостелеком России (7480) |
| Издан: | ЦНТИ Информсвязь (1999 г. ) |
| Нормативные ссылки: |







































