
МИНИСТЕРСТВО РОССИЙСКОЙ ФЕДЕРАЦИИ
ПО СВЯЗИ И ИНФОРМАТИЗАЦИИ
РУКОВОДЯЩИЙ ДОКУМЕНТ ОТРАСЛИ
ТЕХНИЧЕСКАЯ
ЭКСПЛУАТАЦИЯ СЕЛЬСКИХ
ТЕЛЕФОННЫХ СЕТЕЙ
Основные положения
РД 45.051-99
ЦНТИ «ИНФОРМСВЯЗЬ»
Москва - 1999
Предисловие
1 РАЗРАБОТАН Ленинградским отраслевым научно-исследовательским институтом связи (ЛОНИИС)
ВНЕСЕН Научно-техническим управлением и охраны труда Гостелеком России
2 УТВЕРЖДЕН Гостелеком России
3 ВВЕДЕН В ДЕЙСТВИЕ информационным письмом от 07.12.99 г. № 7480
4 ВВЕДЕН ВПЕРВЫЕ
СОДЕРЖАНИЕ
РД 45.051-99
РУКОВОДЯЩИЙ ДОКУМЕНТ ОТРАСЛИ
ТЕХНИЧЕСКАЯ ЭКСПЛУАТАЦИЯ СЕЛЬСКИХ ТЕЛЕФОННЫХ СЕТЕЙ
Основные положения
Дата введения 01.01.2000 г.
Настоящий руководящий документ отрасли распространяется на системы технической эксплуатации средств электросвязи сельских телефонных сетей в части их технического обслуживания.
Руководящий документ отрасли устанавливает требования к системе и средствам технического обслуживания, к отдельным функциям управления системой и ее конфигурации, к организации централизованной системы эксплуатации и определяет правила взаимодействия.
При организации централизованной технической эксплуатации всех средств электросвязи СТС и создания ЦТЭ, который территориально расположен на центральной АТС, необходимо обеспечение совместной работы оборудования техобслуживания для цифровых АТС различных фирм-изготовителей, а также для существующих АТС.
Совместимость оборудования техобслуживания должна обеспечиваться на физическом, функциональном и информационном уровнях.
В руководящем документе стандартизованы требования к структуре построения ЦТЭ.
Требования руководящего документа отрасли являются обязательными для разработчиков технических средств СТС, проектировщиков, эксплуатационного персонала.
В настоящем руководящем документе использованы ссылки на следующие нормативные документы:
ГОСТ 18322-78 Система технического обслуживания и ремонта техники. Термины и определения
ГОСТ 25866-83 Эксплуатация техники. Термины и определения
ОСТ 45.54-95 Стыки оконечных абонентских телефонных устройств и автоматических телефонных станций
РД Основные положения развития Взаимоувязанной сети связи Российской Федерации на перспективу до 2005 года.
3.1 В настоящем руководящем документе используются следующие определения.
Система электросвязи - комплекс технических средств, обеспечивающих электросвязь определенного вида по РД «Основные положения развития».
Служба электросвязи - организационно-техническая структура на базе сети (или совокупности сетей) связи, обеспечивающая обслуживание пользователей с целью удовлетворения их потребностей в определенном наборе услуг электросвязи по РД «Основные положения развития».
Эксплуатация - стадия жизненного цикла изделия, на которой реализуется, поддерживается и восстанавливается его качество.
Примечание - Эксплуатация изделия включает в себя, в общем случае, использование по назначению, транспортирование, хранение, техническое обслуживание и ремонт по ГОСТ 25866.
Система эксплуатации - совокупность изделий, средств эксплуатации, исполнителей и устанавливающей правила их взаимодействия документации, необходимых и достаточных для выполнения задач эксплуатации по ГОСТ 25866.
Техническая эксплуатация - часть эксплуатации, включающая транспортирование, хранение, техническое обслуживание и ремонт изделия по ГОСТ 25866.
Система технического обслуживания и ремонта техники - совокупность взаимосвязанных средств, документации технического обслуживания, административно-технических мероприятий и организации ремонта и исполнителей, необходимых для поддержания и восстановления качества изделия, входящих в эту систему по ГОСТ 18322.
Система технической эксплуатации сельских телефонных сетей - совокупность технических средств контроля оборудования объектов электросвязи.
Техническое обслуживание - комплекс операций или операция при использовании по назначению и по поддержанию работоспособности или исправности изделия по ГОСТ 18322.
3.2 В настоящем руководящем документе используются следующие сокращения:
АЛ - абонентская линия.
АО - автоответчик.
АМТС - автоматическая междугородная телефонная станция.
АОН - аппаратура определения номера.
АПК - аппаратно-программный комплекс.
АТС ОС - оконечная АТС.
АК - абонентский комплект.
АК доп. - дополнительно выделяемый номер АК для выполнения режима контрольных вызовов и других режимов при работе оператора.
АТС ЦС - центральная АТС.
ВИП - вторичный источник питания.
ЗСЛ, СЛ - заказно-соединительная линия, соединительная линия.
КПВ - контроль посылки вызова.
tи - длительность импульса.
tп - длительность паузы.
КВ - контрольные вызовы.
КИ - канальный интервал.
МОДЕМ - устройство модуляции/демодуляции сигнала.
ОКС - общий канал сигнализации.
ОАТУ - оконечная абонентская телефонная установка.
САСС - служба контроля и анализа качества связи на сети.
СТФ1 - стык абонентской линии с оконечным абонентским устройством.
СТФ2 - стык абонентской линии с АТС.
СТС - сельская телефонная сеть.
ТЭЗ - технологический элемент замены.
ТО - служба технического обслуживания.
ЦАТС ЦС, УС, ОС - цифровая АТС центральная, узловая, оконечная.
ЦТЭ, РЦТЭ - центр технической эксплуатации, районный центр технической эксплуатации.
ЭПУ - электропитающая установка.
ЭВМ - электронно-вычислительная машина.
4.1 Комплекс аппаратных и программных средств системы технической эксплуатации подразделяется на аппаратные и программные средства ЦТЭ и на аппаратные и программные средства периферии, размещаемых совместно с оборудованием средств электросвязи, расположенных на территории сельского района. При этом к оборудованию АТС ЦС, ОС (УС) предъявляются дополнительные требования по обеспечению сбора, передачи и приему, обработки соответствующей информации, а также требования по диагностике, качеству работы сельской телефонной сети в целом и управлению оборудованием средств электросвязи.
4.2.1 Система централизованной технической эксплуатации должна обеспечивать такую организацию технического обслуживания средств связи сельского района, при которой оперативное управление осуществляется из общего центра технической эксплуатации.
4.2.2 Система технического обслуживания сельских телефонных сетей представляет собой совокупность технических средств, размещаемых в центре технической эксплуатации и на периферийных объектах зоны обслуживания, с централизованным методом организации технического обслуживания.
4.2.3 Комплекс технических средств системы технической эксплуатации выполняет следующие основные функции:
- обслуживание и управление абонентскими линиями;
- обслуживание и управление линиями с таксофонами;
- управление маршрутизацией;
- обслуживание и управление межстанционными каналами;
- управление учетом трафика;
- обслуживание и управление функцией учета стоимости разговоров;
- обслуживание и управление коммутационными системами и отдельными модулями;
- взаимодействие с контрольными устройствами различных объектов электросвязи (телеграфа, радиовещания и др.);
- управление конфигурацией программных средств;
- контроль качества связи;
- управление сетью;
- осуществление процедуры взаимодействия ЦТЭ с объектами связи.
4.3 Структурные схемы построения системы технической эксплуатации
4.3.1 ЦТЭ выполняют функции сбора информации, накопления, обработки, анализа, индикации, формирования отчетов, общения оператора с системой.
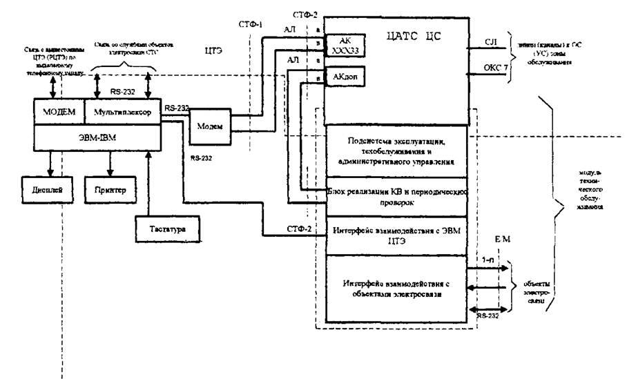
4.3.2 Комплекс оборудования ЦТЭ, построенного на базе цифровой ЦС АТС, содержащей модуль технического обслуживания, выполняющий функции согласования, управления, контроля и обслуживания (рисунок 1).
4.3.3 Комплекс оборудования ЦТЭ, построенного на базе самостоятельного модуля технического обслуживания, который может взаимодействовать с оборудованием любой центральной АТС, в том числе и с аналоговыми центральными станциями, например, с координатными (рисунок 2).
4.3.4 Комплекс оборудования для технического обслуживания периферийных цифровых АТС ОС (УС) состоит из МОДЕМа и модуля технического обслуживания, входящего в спецификацию ЦАТС. Функции, выполняемые модулем технического обслуживания, а также внешние стыки подключения к контрольным точкам аналогичны функциям и стыкам оборудования ЦТЭ (рисунок 3).
4.3.5 Комплекс оборудования для технического обслуживания периферийных аналоговых АТС ОС (УС) состоит из МОДЕМа и самостоятельных блоков модуля технического обслуживания. В отличие от аналогичного оборудования, размещаемого на ЦТЭ, для оборудования периферии возможны различные варианты применения тех или иных блоков в зависимости от конкретных условий: типа АТС ОС (УС), ее емкости, состава оборудования и состава объектов электросвязи (рисунок 4).
4.3.6 Применяемые асинхронные МОДЕМы, выполненные по Рекомендациям серии V, должны обеспечивать подстройку скорости передачи от 300 до 9600 бит/с и поддерживать протокол, базирующийся на HDLC с процедурой доступа к звену для МОДЕМа LAPM и соответствующий [1]. Канальный уровень должен соответствовать протоколу доступа LAPB [2].
4.3.7 Нормированные связи и стыки показаны на рисунках 1, 2, 3, 4.
- связь с контрольными устройствами объектов электросвязи, осуществляемая по стыку Е/М или по стыку RS-232;
Рисунок 3
Рисунок 4
- связь с АК и другим видом оборудования АТС по стыкам СТФ-1 и СТФ-2 по ОСТ 45.54;
- связь с ЭВМ центра и службами сети по стыку RS-232;
- связь РЦТС с вышестоящим ЦТЭ по стандартному выделенному телефонному каналу.
4.3.8 Подключение МОДЕМа на ЦС к АХ с номером ХХХ33, а на периферийных объектах к номеру ХХХ39 должно осуществляться по стыкам СТФ-1 и СТФ-2 по ОСТ 45.54.
5.1 В качестве основного способа организации технического обслуживания средств сельских сетей электросвязи следует использовать централизованный способ, в основу которого положена совокупность комплекса оборудования и организационных мероприятий и создание при этом единого ЦТЭ.
5.2 Создание системы централизованной технической эксплуатации должно основываться на постоянном автоматическом контроле качества обслуживания и на разработке алгоритмов проведения восстановительных работ, при которых вмешательство в работу оборудования телефонной сети осуществляется лишь после того, как ухудшение качества обслуживания достигло заданного предела.
5.3 Задачи, выполняемые ЦТЭ при техническом обслуживании:
- оперативный контроль функционирования оборудования телефонной сети;
- прием, отображение и статистическая обработка сигналов технической сигнализации объектов электросвязи;
- организация устранения повреждений и контроль их устранения;
- сбор, обработка и анализ информации о качестве функционирования оборудования и принятие необходимых решений;
- планирование и управление работами по усовершенствованию сети;
- ведение технической отчетности;
- сбор тарификационных данных и данных о трафике.
5.4 Централизованная система обслуживания основывается на обеспечении непрерывного и периодического контроля качества работы технических средств электросвязи.
5.5 Режим непрерывного контроля основан на текущем контроле и диагностике оборудования. Глубина диагностики должна охватывать 100 % оборудования и определять место повреждения с точностью до одного ТЭЗа в 90 % случаев, с точностью до двух ТЭЗов в 95 %, а остальные случаи должны определяться с точностью до модуля (узел оборудования, выполняющего определенную функцию и имеющее законченное конструктивное оформление).
Результатом непрерывного контроля должно являться оперативное информирование центра об аварийных ситуациях различной степени важности на каждом объекте электросвязи.
5.6 Периодический контроль должен обеспечивать получение различного вида дополнительной информации о состоянии оборудования, позволяющей более точно оценить качество обслуживания абонентов и дополнить глубину диагностики оборудования, охваченного непрерывным контролем.
5.7 Контроль качества обслуживания абонентов должен обеспечиваться путем наблюдения за реальными вызовами, за контрольными вызовами и анализа параметров, за телефонной нагрузкой.
5.8 Контроль технического состояния оборудования телефонной сети должен включать:
- непрерывный контроль аварийных и предаварийных состояний всех видов оборудования и контроль качества функционирования оборудования с использованием статистических методов;
- периодический контроль тестовых проверок с целью диагностики повреждений.
5.9 Восстановление работоспособности всех видов оборудования в системе централизованной технической эксплуатации должно осуществляться централизованно (персоналом бригад цехов или центра) на основе обобщенных оценок. Обобщенные оценки должны формироваться центром технической эксплуатации по данным контроля качества обслуживания абонентов с учетом данных об аварийных состояниях. Обобщенные оценки используются для определения очередности проведения восстановительных работ с учетом срочности и влияния отказов оборудования на качество обслуживания.
5.10 В зависимости от объема контролируемых объектов связи (емкости зоны обслуживания ЦТЭ) и других факторов в составе центра должны быть рекомендованы следующие службы (участки, цеха):
- оперативно-диспетчерский участок по организации устранения аварийных состояний;
- служба контроля и анализа качества связи сети (САСС);
- службы технического обслуживания (ТО) различного типа коммутационных систем: служба ТО АТС цифровых систем с программным управлением, служба ТО АТС аналоговых систем и др.;
- служба ТО систем передачи различного типа;
- служба ТО электропитающих устройств;
- служба централизованного технического обслуживания абонентов, включая ТО таксофонов;
- служба ТО линейно-кабельных сооружений;
- служба обслуживания технических средств и программного обеспечения комплекса оборудования ЦТЭ;
- служба ТО аппаратуры систем передачи телеграфирования;
- служба ТО аппаратуры проводного радиовещания.
Примечания
1 Перечень служб допускается сокращать или расширять при проектировании ЦТЭ для конкретной телефонной сети.
2 Вопрос о ТО средств вычислительной техники ЦТЭ должен решаться в конкретной ситуации внедрения системы. Возможно использование услуг специализированных предприятий конкретного района по обслуживанию вычислительной техники и терминального оборудования.
6.1 Обслуживание и управление абонентскими линиями
6.1.1 Управление абонентскими линиями должно обеспечивать выполнение следующих задач:
- включение в обслуживание новой абонентской линии или группы абонентских линий;
- выключение из обслуживания одной или нескольких абонентских линий, группы линий;
- блокировка и разблокировка абонентской линии;
- изменение категории обслуживания абонентской линии;
- введение, изменение или исключение перечня дополнительных услуг, на которые имеет право абонент;
- изменение списочного номера абонентской линии;
- получение информации о номере вызывающего абонента.
6.1.2 Функции обслуживания абонентских линий
6.1.2.1 Ответ на запрос ЦТЭ о состоянии (блокировка, отключение и другие) одной абонентской линии или группы абонентских линий и их категорийности.
6.1.2.2 Обеспечение возможности автоматической проверки группы абонентских линий, которую задает обслуживающий персонал ЦТЭ, а также выборочная проверка параметров заданной линии. Оба режима выполняются при дистанционном управлении.
6.1.3 Проверка абонентских линий должна включать:
а) проверку наличия посторонних напряжений на линейных проводах;
б) измерение средствами оборудования ЦТЭ величины сопротивления изоляции между проводами и между проводами и землей, которое не должно быть меньше 150 кОм;
в) определение целостности проводов абонентской линии по признаку наличия емкости звонковой цепи по следующим значениям величин емкости:
С < 10 нФ - обрыв в пределах АТС;
10 нФ < С < 0,8 мкФ - обрыв линии или отсутствие ОАТУ;
0,8 мкФ < С < 1,2 мкФ - ОАТУ имеется, вызывная цепь исправна;
Примечание Емкость электрических цепей вызывного прибора ОАТУ или штепсельной розетки (при отключенном ОАТУ) должна быть 1 мкФ ± 20 % по ОСТ 45.54.
1,2 мкФ < С < 4,5 мкФ - подключен параллельно ОАТУ со звонковой цепью;
г) измерение длительности шлейфных импульсов набора номера, принимаемых со стороны ОАТУ;
д) выдачу в сторону ОАТУ в течение 20 сек тонального сигнала повышенного уровня при зафиксированном состоянии блокировки линии в состоянии снятой трубки длительное время.
6.1.4 Проверка абонентских комплектов должна включать:
а) контроль поступления зуммерных сигналов при установлении соединения со стороны АК;
б) измерение напряжения проводов в сторону станции;
в) измерение входного сопротивления АК.
6.2 Обслуживание и управление линиями с таксофонами
6.2.1 Управление, контроль и измерение абонентской линии, в которую включен таксофон, выполняется по 6.1.
6.2.2 Дополнительно к требованиям 6.1 обеспечивается:
Контроль целостности линии по сопротивлению контрольной цепи:
R = 56 к ± 2,8 % + Rл и R последовательно включенного диода в прямом направлении по ОСТ 45.54.
Контроль изменения сопротивления контрольной цепи от 20 до 5,1 кОм при извлечении копилки из таксофона.
Определение незанимаемости таксофона в течение 24 часов.
Определение безотбойности таксофона в течение 1 - 5 часов (задается исходными данными).
Определение неисправности по кратковременным следующим подряд занятиям по 6.7.5.3в либо по средней длительности занятий при заданном числе занятий.
Проверка передачи в линию со стороны станции сигнала «Ответ» в виде переполюсовки полярностей питания проводов абонентской линии.
6.3 Задачи при управлении маршрутизацией
а) Изменение данных, относящихся к пучку линий (включение новой канальной группы, формирование направлений, добавление и исключение канала в группе).
б) Изменение кода линейной сигнализации.
в) Включение нового направления и выключение направления.
г) Изменение использования линии: исходящая, входящая, двусторонняя.
д) Изменение порядка поиска свободной линии.
е) Изменение данных маршрутизации и анализа принимаемой информации о номере абонентов и категории вызова (изменение таблицы кодов направлений, определение начала выдачи цифр и числа выдаваемых цифр, контроль цифр, отсутствующих в нумерации и т.д.).
ж) Запрос данных, касающихся маршрутизации определенного соединения по номеру абонента или канала (исходящего или входящего).
з) Установление соединения между двумя конечными заданными точками (между заданной абонентской линией и заданным каналом; между двумя заданными каналами).
6.4 Требования к обслуживанию и управлению межстанционными каналами
6.4.1 Соединительные линии и каналы должны контролироваться по методу непрерывного контроля по критериям, отмеченным в 6.7.5.3 и 6.7.5.4.
При выходе из строя одной линии в пучках емкостью до 5 линий и двух линий в пучках емкостью от 5 до 12 линий выдается предупредительный сигнал.
Контроль аналоговых систем передач осуществляется техническими средствами систем передачи с выдачей информации в ЦТЭ.
6.4.2 Контроль трактов ИКМ должен осуществляться согласно [3] и обеспечивать обнаружение следующих неисправностей и аварийных состояний согласно [4]:
а) пропадание входного сигнала;
б) потеря цикловой синхронизации;
в) повышенный коэффициент ошибок;
г) прием сигнала индикации аварийного состояния с противоположного конца линии связи;
д) в принимаемом ИКМ сигнале обнаружение сигнала индикации аварии;
е) нарушение сверхцикловой синхронизации.
6.4.2.1 Вероятность обнаружения состояния «Повышенный коэффициент ошибок» в течение 5 с должна быть:
- меньше 10-6 при коэффициенте ошибок ≤ 10-4;
- больше 0,95 при коэффициенте ошибок ≥ 10-3.
6.4.2.2 Вероятность обнаружения выключения индикации аварийного состояния «Повышенный коэффициент ошибок» в течение 5 с должна быть:
- больше 0,95 при коэффициенте ошибок ≤ 10-4;
- не более 0,05 при коэффициенте ошибок ≥ 10-3.
6.4.2.3 С целью получения статистических данных в системе должна быть обеспечена возможность накопления в течение 24 часов и вывода по директиве обслуживающего персонала информации о количестве кратковременных аварийных состояний длительностью 10 - 50 мс, 50 - 200 мс, 200 - 1000 мс, более 1000 мс по следующим видам аварий:
- при потере цикловой синхронизации;
- отсутствие принимаемого сигнала;
- сигнал индикации аварии;
- аварийный сигнал с противоположного конца линии связи;
- данные о количестве кратковременных аварийных состояний заданной длительности;
- данные о количестве потерь циклового синхросигнала в течение 5 с заданной длительности.
6.4.2.4 Обработка аварийных сигналов в системе технического обслуживания должна начинаться после распознавания его в течение 100 мс.
6.4.2.5 Передача сигнала индикации аварийного состояния на вход 64 кбит/с 16-го КИ осуществляется не позднее, чем через 2 мс после обнаружения состояния неисправности или аварии, и снимается не позднее, чем через 2 мс после обнаружения выключения индикации состояния аварии.
6.4.2.6 Сигнал индикации аварийного состояния должен быть передан системой ИКМ в коммутационную систему и систему контроля не позднее, чем через 2 мс после обнаружения соответствующего аварийного состояния. Сигнал индикации аварии снимается после обнаружения снятия состояния неисправности или аварии, но не позднее, чем через 2 мс.
6.4.3 При выполнении функций управления должна обеспечиваться возможность:
а) исключения канала или группы каналов из пучка;
б) образования или ликвидации пучка каналов;
в) передачи по запросу характеристик пучка и перечня линий в нем.
6.4.4 Функции по управлению каналами и линиями выполняются по директиве обслуживающего персонала (возможно - дистанционно).
6.5 Управление учетом трафика
6.5.1 Измерение и регистрация нагрузки должны соответствовать [6]. Спецификация задаваемого трафика для цифровых АТС должна соответствовать [7]. При этом должна обеспечиваться возможность измерения и вывода результата выборочно по расписанию, задаваемому обслуживающим персоналом ЦТЭ, измерения средней длительности занятий и следующих нагрузок и потерь:
- исходящей абонентской нагрузки;
- исходящей общей нагрузки;
- исходящей нагрузки по отдельным направлениям;
- входящей нагрузки по отдельным направлениям и пучкам;
- входящей общей нагрузки;
- внутренней нагрузки;
- транзитной нагрузки;
- потерь по техническим причинам по направлениям и пучкам;
- потерь из-за отсутствия свободных линий по направлениям и пучкам;
- суммарных потерь по направлениям и пучкам;
- потерь по техническим причинам непосредственно на цифровой АТС.
6.5.2 Выдаваемая на ЦТЭ информация должна содержать общее число вызовов с указанием доли вызовов, окончившихся ответом, неответом, занятостью и другими причинами отказов. Расчетные нормы для цифровых АТС должны соответствовать [4].
6.5.3 Форма выводимых на ЦТЭ результатов измерений должна быть представлена в виде отчетов по отдельным видам оборудования, направлениям (пучкам) и с учетом данных статистики по заданному расписанию один раз в месяц. Отчеты должны содержать информацию, необходимую для оценки качества обслуживания вызовов и для оценки параметров трафика. Должна предусматриваться возможность вывода промежуточных отчетов по отдельной директиве. Должно обеспечиваться хранение отчетов в течение года.
6.5.4 Должно быть предусмотрено управление техническими выдержками времени при выполнении различных операций.
6.6 Управление системой учета стоимости разговоров должно обеспечивать:
- изменение времени льготного тарифа, категории записи, видов учета и тарифов;
- поиск и считывание информации о начислении платы;
- установку абонента на контроль правильности оплаты;
- тарификацию новых видов дополнительных услуг.
6.7 Требования к техобслуживанию коммутационной системы и отдельных модулей
6.7.1 Методы контроля коммутационной системы:
а) обработка вызовов с выдачей соответствующих сигналов;
б) инициализация прослеживания вызовов;
в) инициализация периодических испытательных операций и тестирования после восстановительных работ;
г) постоянный контроль технических характеристик оборудования.
Должна обеспечиваться возможность удержания контрольного соединения.
6.7.2 Модули оборудования системы техобслуживания источников электропитания, генераторного оборудования, всех типов приемников и другого оборудования должны содержать устройства контроля их работоспособности и выдачу соответствующих сигналов в модуль системы эксплуатации.
6.7.3 Минимальный состав технических сигналов, который должен выдаваться со стороны ЭПУ следующий:
- сигнал «сеть» - отключение внешнего электроснабжения;
- сигнал «напряжение» - отклонение напряжения питания АТС от допустимых норм;
- сигнал «авария выпрямителей» - аварийное отключение любого из выпрямителей;
- сигнал «остановка станции» - перегорание предохранителя хотя бы одного выхода нагрузки ЭПУ, предохранителя в цепи аккумуляторной батареи или полный разряд аккумуляторной батареи.
6.7.4 Требования к функциям техобслуживания модулей управления:
- выдача сообщений о исправности (неисправности) системы;
- выдача сообщений об отказах;
- тестирование для определения неисправностей и проверка после восстановления;
- выполнение рестарта;
- изменение конфигурации станции в случае «вывода модуля из эксплуатации» или «передачи модуля на испытание», а также управление параметрами в случае перегрузки;
- изменение содержимого базы данных;
- управление параметрами оборудования и пучками каналов (линий).
6.7.5 Контроль работы отдельных видов оборудования и их групп по пороговому или временному принципу
6.7.5.1 Режим непрерывного контроля оборудования управления по порогу числа отказов за определенный (заданный) промежуток времени. При этом должны быть установлены следующие диапазоны для оценки:
а) время продолжительности сеанса контроля должно задаваться целыми числами часов от 1 до 6;
б) число порогов должно быть от 1 до 9 со значением диапазона числа отказов от 4 до 20 с градацией через 2;
в) определение незанимаемости прибора (признак отказа) в течение 12 часов.
Примечание - Контролируемое оборудование должно подразделяться на группы, имеющие один общий порог.
6.7.5.2 Режим контроля по заданному порогу потерь (отношение числа отказов к числу занятий). При этом должны быть учтены следующие критерии:
а) должна обеспечиваться возможность записи числа занятий до 212;
б) должна обеспечиваться возможность записи числа отказов до 28.
а) вход должен отмечаться безотбойным, если он занят более 5 часов;
б) вход должен отмечаться незанимаемым, если отсутствовало занятие в течение 20 часов;
в) вход должен отмечаться поврежденным, если последовательно 8 (16) раз подряд имели место короткие занятия (менее 10, 20 или 30 с).
6.7.5.4 Режим контроля по средней длительности занятия.
а) для режима контроля по порогу числа отказов за определенный промежуток времени неисправный прибор реабилитируется, если в любых последующих двух подряд сеансах контроля прибор не превысит заданный порог непрохождений или при поступлении первого же сигнала занятия от прибора, который был забракован по незанимаемости;
б) для режима контроля по заданному порогу потерь прибор реабилитируется, если в любом цикле контроля окажется, что по достижении заданного числа вызовов число непрохождений окажется ниже заданного числа;
в) для режима контроля по длительности занятия прибор реабилитируется, если устанавливается не менее двух нормальных соединений подряд.
6.7.6 Требования по взаимодействию ЦТЭ с контрольными устройствами оборудования других объектов электросвязи
6.7.6.1 Должна обеспечиваться возможность приема от контрольных устройств технических сигналов и их обработка, а также передача сигналов (команд) в контрольные устройства.
6.7.6.2 Стык ЦТЭ с контрольными устройствами оборудования объектов электросвязи осуществляется через интерфейс RS-232 или через интерфейс по физическим проводам (Е/М).
6.7.6.3 При использовании интерфейса Е/М параметры передаваемых и принимаемых сигналов должны быть:
- по передаче:
а) Uсигнала от 0 до минус 2 В;
б) Rнагрузки ≥ 2000 Ом;
в) Uограничения ≤ 90 В;
г) Uнагрузка от минус 12 до минус 72 В.
- по приему:
а) Uсигнала от минус 3 до плюс 2 В;
б) Rлинии ≤ 400 Ом;
в) Uнагрузки от минус 12 до минус 72 В;
г) tпомехи ≤ 20 мс;
д) Uограничения ≤ 120 В;
е) tсигнала ≥ 40 мс;
и) Iнагрузки ≤ 40 мА.
6.7.6.4 При индивидуальном использовании проводов интерфейса Е/М должна быть обеспечена возможность приема от объектов электросвязи не менее 20 технических сигналов и передачи не менее 10 сигналов управления.
В случае увеличения числа принимаемых сигналов от объектов электросвязи и передаваемых сигналов управления должно быть предусмотрено кодированное использование проводов интерфейса соответствующее контрольному оборудованию соответствующего объекта электросвязи.
6.8 Управление конфигурацией программных средств включает выполнение следующих функций:
- установка и чтение календаря;
- управление терминалами;
- загрузка программ;
- запуск нового программного модуля;
- ввод и вывод из обслуживания функциональных модулей и компьютерных модулей. Должны обеспечиваться автоматическое выключение неисправного модуля и включение его в работу после устранения причины неисправности без нарушения работы других модулей станции;
- управление порогом перегрузки и параметром контроля порога качества обслуживания;
- инициализация рестарта.
6.9 Методы контроля качества связи
6.9.1 Контроль качества связи обеспечивается методом контрольных вызовов или наблюдением за реальными вызовами
6.9.2 Метод наблюдения за реальными вызовами
6.9.2.1 Метод наблюдения за реальными вызовами должен обеспечивать получение оперативных оценок качества обслуживания и определение участков телефонной сети, в наибольшей степени влияющих на снижение качества.
6.9.2.2 Метод наблюдения за реальными вызовами должен осуществляться на станциях и узлах систем коммутации по единой группе параметров.
6.9.2.3 В состав группы параметров должны входить:
- потери по различным направлениям (целесообразна раздельная фиксация потерь из-за отсутствия соединительных трактов и по техническим причинам);
- потери по участкам сети;
- средняя длительность занятия отдельных линий, приборов или групп однотипных приборов в направлениях связи, пороговая оценка которой должна обеспечивать оперативный контроль исправности.
6.9.2.4 Результаты контроля по указанным параметрам должны накапливаться на объекте и обрабатываться по пороговому принципу.
Оценка уровня потерь по направлениям вырабатывается при заданном числе занятий: 4500, 2200, 1500, 700, 400 и устанавливаемым значениям потерь: 0,01; 0,025; 0,03; 0,06; 0,1.
Передача информации в центр должна обеспечиваться при превышении заданного порогового значения.
6.9.2.5 Должна обеспечиваться реабилитация оборудования, отмеченного пороговым контролем в соответствии с 6.7.5.5.
6.9.2.6 Должно обеспечиваться путем директив изменение критериев порогового контроля.
6.9.2.7 Должно обеспечиваться изменение задержек обработки вызовов по [8] для контроля качества обслуживания.
6.9.3 Метод контрольных вызовов
6.9.3.1 Метод контрольных вызовов должен обеспечивать получение оценок качества обслуживания и дополнительно получение информации для диагностики повреждений.
При организации системой контрольных вызовов их выполнение должно обеспечиваться по задаваемым видам связи каждой АТС данной зоны обслуживания (района). При этом вызовы должны устанавливаться к автоответчикам (АО).
Контрольные вызовы на СТС, если они реализуются в полном объеме, должны выполняться по следующим видам связи:
- внутристанционной;
- исходящей местной;
- исходящей по ЗСЛ к АМТС;
- входящей междугородной к абонентам по СЛМ.
Примечание - Если система не реализует контрольные вызовы, а оценка качества обслуживания осуществляется по контролю за реальной нагрузкой, то данные должны выдаваться с учетом видов связи, указанных в данном пункте.
6.9.3.2 Требования к организации контрольных вызовов
6.9.3.2.1 Установление внутристанционных, местных исходящих и исходящих по ЗСЛ к АМТС вызовов должно осуществляться с использованием абонентских испытательных номеров АК. Испытательные номера: - на ЦС - ХХХХХ99, ХХХХ99, ХХХ99, на ОС и УС - ХХХ39. Число задаваемых исходящих и входящих номеров от 1 до 10 (десять сотен одной тысячи).
6.9.3.2.2 Исходящие вызовы к АМТС устанавливаются путем выдачи цифры «8» и после получения зуммерного сигнала «ответ станции» выдачи двух или трех цифр номера автоответчика АМТС, задаваемого исходными данными.
6.9.3.2.3 Установление входящих междугородных вызовов должно обеспечиваться через специально выделенный для этой цели входящий междугородный прибор (канал), обеспечивающий преимущества междугородного вызова.
6.9.3.2.4 При выполнении контрольных вызовов должна обеспечиваться коммутация исходящих и входящих испытательных номеров (АК99) с подключением автоответчика (АО) к входящим испытательным номерам.
6.9.3.2.5 Основной цикл контрольных вызовов должен предусматривать поочередную проверку направлений по заданным видам связи.
6.9.3.2.6 Число вызовов по каждому виду связи в каждом направлении задается исходными данными, вводимыми с дисплея (от одного вызова и более).
6.9.3.2.7 Число направлений, проверяемых в одном цикле, определяется системой контроля. При этом должна обеспечиваться возможность проверки одного направления в одном цикле на разные виды связи этого направления.
6.9.3.2.8 Должен производиться отсчет числа произведенных вызовов и числа непрохождений по каждому виду связи.
6.9.3.2.9 При непрохождении должен быть осуществлен вывод и запись на печать следующей информации: вид связи, входящий номер, исходящий номер, код этапа непрохождения, код датчика параметров импульсов набора номера.
6.9.3.3 Контроль вызова должен осуществляться по следующим этапам установления соединений:
6.9.3.3.1 Поступление зуммерного сигнала «ответ станции» в течение 20 с после выдачи индекса «8» при установлении исходящей связи к АМТС и в течение 8 с при установлении в остальных случаях. Время контроля может изменяться исходными данными.
6.9.3.3.2 Поступление первой посылки сигнала КПВ длительностью не менее 100 мс с временем ожидания его 20 с. Время контроля может изменяться исходными данными.
6.9.3.3.3 Поступление второй посылки сигнала КПВ длительностью 0,6 - 1,2 с в режиме ожидания ее до 5 с (Число фиксируемых КПВ задается исходными данными).
6.9.3.3.4 Поступление сигнала ответа контрольной частотой 700 Гц с временем ожидания 7 с и контролем его длительности в течение 2,6 - 4 с. Время контроля может изменяться исходными данными.
6.9.3.3.5 Поступление зуммера «занято» с длительностью посылки и паузы 0,27 -0,44 с на этапе отбоя вызываемого абонента для местных соединений. Время ожидания сигнала 8 - 10 с.
6.9.3.3.6 Проверка наличия зуммера «занято» на этапе набора номера (контроль в межсерийный интервал), а также на других этапах. Распознавание зуммерного сигнала «занято» должно происходить при поступлении третьей посылки.
6.9.3.4 Дополнительные этапы контроля для междугородной связи от ЦС к ОС, УС
6.9.3.4.1 Поступление сигнала «Абонент свободен» после набора номера.
6.9.3.4.2 Поступление линейного сигнала «Ответ абонента» после подачи двух посылок вызова.
6.9.3.4.3 Поступление сигнала «Абонент свободен» (Отбой вызываемого абонента) после приема частотного сигнала f = 700 Гц.
6.9.3.5 Кодировка этапов непрохождений должна быть следующей:
отсутствие сигнала «Ответ станции» - 01;
отсутствие сигнала «Ответ станции» после набора индекса 8 в режиме ЗСЛ - 02;
отсутствие первой посылки контроля вызова при местной связи или несоответствие коду при междугородной связи (неправильный сигнал «Абонент свободен») - 03;
отсутствие второй посылки контроля вызова при местной связи или несоответствие коду при междугородной связи (неправильный сигнал «Абонент свободен») - 04;
отсутствие частотного сигнала 700 Гц - 05;
отсутствие сигнала «Отбой вызванного абонента» - 06;
отсутствует сигнал «Абонент свободен» при междугородной связи - 07;
отсутствует линейный сигнал ответа при междугородной связи - 08;
зуммер «Занято» на этапе контроля «Ответ станции» при подключении к АК - 09;
зуммер «Занято» на этапе контроля «Ответ станции» после выдачи индекса «8» - 11;
зуммер «Занято» на этапе набора номера - 12;
зуммер «Занято» на этапе контроля КТО - 13;
первая КПВ менее 100 мс - 14.
6.9.3.6 Должен обеспечиваться прием зуммерных сигналов частотой 450 ± 50 Гц при уровне от минус 34 до минус 28 дБ и неприем зуммерных сигналов частот более 650 Гц и менее 300 Гц при уровне минус 4 дБ.
Время срабатывания приемника должно быть 50 ± 10 мс.
6.9.3.7 Параметры приемника частоты 700 Гц:
6.9.3.7.1 Прием сигнала при fсиг = 700 ± 35 Гц, с уровнем минус 22 дБ и tсиг ≥ 150 мс.
6.9.3.7.2 Неприем сигнала при:
- fсиг = 500 Гц и уровне минус 3 дБ;
- fсиг = 1 кГц и уровне минус 3 дБ;
- fсиг = 700 Гц с уровнем минус 30 дБ;
- fсиг = 700 Гц, уровнем 0 дБ и tсиг = 40 мс.
6.9.3.7.3 Распознавание снятия сигнала за время 60 мс, который передавался с уровнем 0 дБ и fсиг = 700 Гц
6.9.3.8 После приема частотного контрольного сигнала из АО и окончания его поступления должна обеспечиваться выдача контрольного сигнала частотой 700 ± 15 Гц и уровнем минус 4 ± 1 дБ длительностью не менее 200 мс.
6.9.3.9 Признаком окончания установления соединения является поступление тонального сигнала «занято» после выдачи контрольного сигнала 700 Гц.
6.9.3.10 После окончания проверок по всем заданным видам связи каждого направления должна передаваться информация в ЦТЭ в следующей последовательности - код АТС, число произведенных вызовов, вид связи, число непрохождений.
6.9.3.11 Выдача номера автоответчика должна производиться шлейфными (декадными) импульсами с параметрами:
- tи = 40 мс, tп = 60 мс.
- tи = 30 мс, tп = 120 мс.
- tи = 120 мс, tп = 30 мс.
6.9.3.11.1 Коды, присеваемые параметрам импульсов набора номера:
- tи = 40 мс, tп = 60 мс - код 1;
- tи = 120 мс, tп = 30 мс - код 2;
- tи = 30 мс, tп = 120 мс - код 3.
6.9.3.11.2 Параметры импульсов номера автоответчика, выдаваемых многочастотным кодом, должны соответствовать ОСТ 45.54.
6.9.3.12 Особенности контроля при входящих междугородных вызовах:
а) Прием линейного сигнала «Абонент свободен» после выдачи номера АО.
б) Выдача последовательно двух посылок вызова в сторону вызываемого АО с параметрами tи = tп = 1 с.
в) Прием линейного сигнала «Ответ».
г) Прием частотного сигнала f = 700 Гц.
д) Выдача в сторону АО частотного сигнала f = 700 Гц.
е) Повторный прием линейного сигнала «Абонент свободен».
ж) Разъединение установленного соединения - снятие занятия.
з) При установлении исходящего вызова по ЗСЛ к АМТС контроль поступления частотного сигнала должен осуществляться после выдачи информации о номере АО АМТС (тональный сигнал КПВ не посылается).
6.10 Требования по управлению сетью
6.10.1.1 Управление сетью - это осуществление необходимых действий по управлению потоком нагрузки по результатам контроля за работой сети для максимального использования межстанционных трактов и действий по перераспределению нагрузки в случае отказа каналов отдельных направлений.
6.10.1.2 В целях управления сетью станция должна взаимодействовать с другими станциями и центром управления сетью.
6.10.1.3 Центральная станция (ЦС) при совмещении функций ЦТЭ выполняет и функции управления сетью.
6.10.1.4 В функции ЦТЭ по управлению сетью входит:
- сбор информации о состоянии и показателях работы сети;
- передача станциям команд по управлению сетью.
При стабилизации номинальных значений показателей должна производиться отмена управляющего действия (автоматически внутри АТС и по сигналу из ЦТЭ).
6.10.1.5 Должна быть предусмотрена возможность отключения автоматического управления сетью и изменения критериев (порогов) перегрузки.
6.10.1.6 Действия по управлению сетью должны в ЦТЭ фиксироваться и документироваться.
6.10.2 Функции АТС, выполняемые по управлению сетью.
6.10.2.1 Контроль превышения порога отказов в определенном направлении.
6.10.2.2 Обеспечение блокировки определенных каналов по исходящей связи для перераспределения нагрузки при технической неисправности, для увеличения нагрузки обратного направления двухсторонних каналов и по другим причинам.
6.10.2.3 По команде из ЦТЭ переключение каналов в определенном цифровом тракте из одной выделенной группы (направления) в другую.
6.10.2.4 Запрет по команде из ЦТЭ исходящей связи в определенном направлении с сообщением абонентам о временном отсутствии связи в данном направлении.
6.10.2.5 Выдача по команде из ЦТЭ абонентам соответствующих сообщений при наборе ими определенных направлений.
Сообщения могут быть следующими:
«Направление выключено по техническим причинам до XX часов»;
«Код направления изменился - вместо XXX набирайте УУУ» и др.
Должна обеспечиваться возможность выбора не менее десяти вариантов сообщений.
6.10.2.6 Возможность включения (выключения) обходного направления.
При включении обходного направления обеспечивается снижение нагрузки в направлении, отмеченном перегрузкой. Часть нагрузки направляется по обходному направлению.
6.10.2.7 При осуществлении порогового контроля по направлениям АТС должна обеспечивать:
- передачу по запросу из ЦТЭ значений порогов контроля по всем направлениям.
Коды критериев порогового контроля, соответствующие им потери и число вызовов для определения потерь, приведены в таблице 1.
Таблица 1
|
Потери в % |
Число вызовов |
|
|
01 |
1 |
4500 |
|
02 |
2 |
2200 |
|
03 |
3 |
1500 |
|
06 |
6 |
700 |
|
10 |
10 |
400 |
|
15 |
15 |
200 |
- возможность по команде из ЦТЭ изменения (задания) значения порога.
7.1 При реализации централизованной системы технической эксплуатации обеспечивается от технических средств объектов электросвязи сбор, передача, прием и обработка информации о техническом состоянии средств электросвязи района.
7.2 Сбор информации обеспечивается непосредственно от коммутационного оборудования и объектов электросвязи в соответствии с требованиями данного раздела. Эти функции может выполнять специальный модуль техобслуживания. Обработка информации обеспечивается ЭВМ, которая получает информацию от управляющего комплекса центральной АТС и от управляющих устройств периферийных объектов. Данная ЭВМ должна выполнять функции ЦТЭ.
7.3 Информация должна передаваться в соответствии с форматами, приведенными в данном разделе.
7.4 Интервал времени с момента появления сигнала на объекте до получения его в ЦТЭ не должен превышать 15 мин (с учетом 4 - 5-кратных попыток передачи).
7.5 Центр обработки данных в ЦТЭ должен быть рассчитан на взаимодействие не менее чем с 40 периферийными объектами.
7.6 Взаимодействие ЦТЭ с периферийными объектами должно осуществляться с учетом следующих режимов:
- по инициативе персонала ЦТЭ путем запроса имеющейся на периферийных объектах информации или путем передачи команд, обеспечивающих выполнение на объектах соответствующих проверок и измерений;
- по инициативе ЦТЭ по расписанию автоматически с целью контроля работоспособности объектов, определения качества связи, проведения проверок и дистанционного управления;
- по инициативе периферийных объектов путем вызова ЦТЭ для передачи информации о возникновении и снятии аварийных ситуаций, результатов проверок и измерений.
7.7 Информация, поступающая в ЦТЭ, должна обрабатываться с учетом выполнения следующих функций:
- хранение информации в течение определенного времени, определяемого инструкцией по эксплуатации (не более года);
- секретность управления доступом к считыванию или изменению информации;
- поиск информации;
- анализ и обработка информации, по каждому объекту и с учетом категории информации.
7.7.1 Выполнение функций пользователя, который обеспечивает ввод/вывод информации на экран или печать с возможностью включения звуковой сигнализации, в том числе:
1) по каждому объекту - сравнение принятой информации с информацией, имевшейся ранее;
2) по каждому объекту (АТС) - перечень повреждений с указанием времени возникновения;
3) по каждому объекту - перечень действующих повреждений на данный момент с указанием времени поступления;
4) по всем объектам - перечень повреждений по видам оборудования за указанный интервал времени;
5) по каждой АТС, по каждому направлению, по видам связи - качественные показатели (число вызовов, число отказов, потери).
7.7.2 Информация, поступающая в ЦТЭ от различных объектов, характеризует выполнение различных прикладных функций и должна различаться категориями, которые должны определять классификацию, например, информация о качестве работы, информация о технических повреждениях АТС, линейных сооружений, систем передачи, систем ЭПУ и других объектов электросвязи, информация о стоимости разговоров и др. Эта информация переменного характера и должна группироваться по исходным данным.
7.8 Связь «человек-машина» должна использоваться в соответствии с [9] (язык MML).
8.1 Процедура взаимодействия ЦТЭ с оборудованием техобслуживания объектов электросвязи при наличии сигнализации ОКС № 7 должна использовать технические спецификации на подсистему технической эксплуатации системы сигнализации ОКС № 7.
8.2 При взаимодействии ЦТЭ с оборудованием техобслуживания объектов электросвязи с использованием телефонных каналов со стандартными типами линейной сигнализации необходимо использование МОДЕМов.
При этом:
8.2.1 Физический стык на уровне 1 должен соответствовать ISO 2110 [11] с использованием цепей согласно МСЭ-Т [12], указанных в таблице 2. Данный стык может использоваться при наличии модема в виде самостоятельного модуля. Процедуры, необходимые для автоматического подключения модемов, должны учитывать [1].
8.2.2 Протокол должен соответствовать п. F4 [10].
Таблица 2
|
ЦепьV.24 [12] |
Описание |
Примечание |
|
|
1 |
101 |
Защитная земля |
Основные цепи взаимообмена |
|
6 |
102 |
Сигнальная земля |
|
|
2 |
103 |
Передаваемые данные |
|
|
3 |
104 |
Принимаемые данные |
|
|
4 |
105 |
Запрос передачи |
|
|
5 |
106 |
Готов к передаче |
|
|
6 |
107 |
Аппаратура передачи данных готова |
|
|
20 |
108 |
Оконечное оборудование данных готово |
|
|
22 |
125 |
Индикатор вызова |
8.2.3 Канальный уровень (уровень 2) передачи информационных сообщений должен соответствовать протоколу доступа LAPB согласно МСЭ-Т [2]. При этом обеспечивается соединение с оборудованием техобслуживания по коммутируемым каналам.
8.2.4 Передача ведется кадрами, соответствующими формату, представленному в таблице 3.
Таблица 3
|
16 1 |
N 1 |
8 1 |
8 1 |
8 1 |
|
|
Флаг |
Проверочная последовательность кадра |
Информация |
Управление |
Адрес |
Флаг |
|
F 01111110 |
FCS 16 бит |
1 N бит |
С 8 бит |
А 8 бит |
F 01111110 |
|
---------------------------------------------------------------------------------------------------------------------------------------- → Начало передачи |
|||||
8.2.5 Кадры должны начинаться и заканчиваться флаг-последовательностью (F), имеющей структуру 01111110. Один и тот же флаг может быть одновременно использован в качестве закрывающего флага одного кадра и открывающего флага следующего за ним кадра.
В процессе выполнения процедур по установлению соединения кадр не должен содержать информационное поле, которое рассматривается в разделе 9.
8.2.6 Адресное поле (А) состоит из одного октета и кодируется следующим образом:
Адрес
А 11000000
В 10000000
Стороне (станции), по инициативе которой осуществляется связь со встречной стороной (станцией), присваивается адрес А, а встречной - адрес В.
Для разделения кадров на команды и ответы используются адреса А и В согласно правилу: станция с адресом А передает в направлении станции с адресом В кадр-команду, если адресное поле кадра содержит адрес В, и передает кадр-ответ, если адресное поле кадра содержит адрес А.
8.2.7 Управляющее поле (С) должно состоять из одного октета и, в зависимости от своего назначения, в процедуре управления информационным каналом подразделяются на три класса:
а) класс I - информационные кадры;
б) класс S - супервизорные (управляющие) кадры;
в) класс U - ненумерованные кадры.
При этом должны использоваться следующие команды и ответы, представленные в таблице 4.
Таблица 4 - Типы кадров команд и ответов поля управления
|
Тип кадра |
Команда |
Ответ |
Идентификатор кадра № битов |
|||||||||
|
1 |
2 |
3 |
4 |
5 |
6 |
7 |
8 |
|||||
|
I |
Информационный кадр |
да |
- |
0 |
N (S) |
Р = 0 |
N (R) |
|||||
|
S |
RR - готов к приему |
- |
да |
1 |
0 |
0 |
0 |
F = 1 |
N (R) |
|||
|
RNR - не готов к приему |
- |
да |
1 |
0 |
1 |
0 |
F = 1 |
N (R) |
||||
|
REJ - переспрос |
- |
да |
I |
0 |
0 |
1 |
F = 1 |
N (R) |
||||
|
U |
SABM - установить асинхронный балансный режим (является сигналом занятия) |
да |
|
1 |
1 |
1 |
1 |
Р = 0 |
1 |
0 |
0 |
|
|
DISC - разъединить |
да |
- |
1 |
1 |
0 |
0 |
Р = 0 |
0 |
1 |
0 |
||
|
UA - ненумерованное подтверждение |
- |
да |
1 |
1 |
0 |
1 |
F = 1 |
1 |
1 |
0 |
||
|
DM - отключенный режим |
|
|
1 |
1 |
1 |
1 |
F = 1 |
0 |
0 |
0 |
||
Вариант использования команд согласно таблице 4 приведен в Приложении А.
9.1 Структура формата информационного поля, передаваемого сообщения от АТС в ЦТЭ (табл. 3), представлена в таблице 5. Каждый символ передается одним октетом.
Таблица 5 - 1-ая строка
|
Индекс срочности сообщения |
Код АТС |
Дата: месяц, день |
Время: часы, минуты |
|
|
А, Д, П, Н, К, Х и др. |
А, Т, Д, П |
АТСХХХ |
ХХ-ХХ |
ХХ-ХХ |
Продолжение таблицы 5 - 2-ая строка
|
Вид оборудования |
Вид проверки |
Результат проверки |
Повреждение (восстановление) |
Адрес поврежденного прибора или № АК |
||||||||
|
Инд. |
Код |
Инд. |
Код |
Инд. |
Код |
Инд. |
Код |
Инд. |
Ряд |
Статив |
Кассета |
№ ТЭЗа, прибора |
|
А |
XX |
B |
XX |
С |
XX |
П (К) |
XX |
Т |
ХХ |
XX (ХХХХХ) |
X |
XX |
Продолжение таблицы 5 - продолжение 2-строки
|
Адрес параметра |
Контрольные вызовы |
||||||||
|
Инд. |
1-ая ступ. |
Инд. |
2-ая ступ. |
Инд. |
3-ья ступ. |
Инд. |
Число вызовов |
Инд. |
Число непрох. |
|
Г M |
XXX XX |
И |
XX |
Е. |
XX |
Ц |
ХХХХ |
Н |
XX |
Окончание таблицы 5 - продолжение 2-ой строки
|
Контрольные вызовы |
Параметр измерения |
||||||
|
Инд. |
Парам. датч. |
Инд. |
№ аб. А |
Инд. |
№ аб. Б |
Инд. |
Значение |
|
Д |
X |
Л |
ХХХХХ |
Б |
ХХХХХ |
Ф |
Х.ХХХ ХХ.ХХ ХХХ.Х ХХХХ |
9.1.1 Информация о времени (дата и время) поступления технической информации вводится от таймера на ЦТЭ.
9.1.2 Индексы передаваемой информации должны быть:
А - информация о технической сигнализации,
Д - информация о результатах контрольных вызовов,
П - информация о номере поврежденного прибора или о коде повреждения (выдается по запросу из ЦТЭ),
Н - информация по непрохождениям при выполнении контрольных вызовов,
М - информация, выдаваемая при готовности АТС работать в режиме директив,
К - резерв,
X - информация по тарификации переговоров,
Т - информация по трафику,
В - информация по контролю таксофонов,
Л - информация по линейно-кабельным сооружениям,
С - информация по системам передачи,
И - информация по источникам электропитания,
Ф - информация по аппаратуре контроля,
Р - информация по радиовещанию,
Б - информация по охранно-пожарной сигнализации.
9.1.3 Индексы, характеризующие категорию срочности сообщения:
А - авария - 1-я категория,
Т - технический сигнал (повреждение) - 2-я категория,
П - предупредительный сигнал - 3-я категория,
Д - вывод информации на экран ЭВМ.
9.2 Структура формата информационного поля, вводимого от ЦТЭ, представлена в таблице 6.
Таблица 6
|
Вид оборудования |
Вид проверки |
Адрес прибора или № АК |
|||||||
|
Инд. |
Код |
Инд. |
Код |
Инд. |
Ряд |
Статив |
Кассета |
№ ТЭЗа |
|
|
ХХХХ (ХХХ) |
А |
XX |
В |
XX |
Т |
XX |
XX |
X |
XX |
|
ХХХХХ |
|||||||||
Окончание таблицы 6
|
Адрес параметра |
|||||
|
Инд. |
1-ая ступ. |
Инд. |
2-ая ступ. |
Инд. |
3-ья ступ. |
|
М |
ХХХХХ |
И |
XX |
Е. |
XX |
При проверке абонентских комплектов в графе «Индекс номера прибора» задается номер проверяемого АК с числом знаков равным пяти.
9.3 Текст сообщения, передаваемый на периферийные объекты при запросе ЦТЭ, и, получаемый на ЦТЭ от периферийных объектов, имеет переменную длину, зависящую от характера запрашиваемой и принимаемой информации.
При этом, отдельные позиции внутри одного индекса при отсутствии по ним информации должны передаваться символом «X».
Повторяющиеся данные одного индекса или позиции внутри этого индекса для данного вида оборудования разделяются запятой.
Указанный в графе «Код АТС» код АТС в таблице 6 на периферийную АТС не передается, а используется на ЦТЭ для установления соединения с заданной АТС.
9.4 Адрес команды, передаваемой под символом «Т», содержит четыре позиции и задает адрес, указывающий на конкретный прибор или конкретный номер АК.
9.5 Адрес параметров коммутационного оборудования может содержать до трех ступеней. При этом, первая ступень адресуется буквенным символом «Г», содержащим 3-значную информацию, вторая - символом «И», содержащим 2-значную информацию и третья - символом Е с 2-значной информацией.
При двухступенчатой адресации отсутствует информация символа Е.
Одноступенчатая адресация управляется информацией символа Г или 2-значной информацией символа М.
Одна команда для одного вида оборудования может содержать повторяющуюся информацию. В этом случае она отделяется запятой без повторения буквенного символа.
9.6 Оборудованию АТС и оборудованию объектов электросвязи, совмещенных с АТС, присваиваются следующие коды и коды вида проверок, которые представлены в таблице 7.
Таблица 7
|
Наименование |
Код вида оборудования (А) |
Код команд и вида проверки (В) |
|
|
|
1 |
2 |
3 |
|
1 |
Резерв |
00 - 05 |
|
|
2 |
Проверка аппаратуры проводного радиовещания* |
06 |
01 - 10 |
|
3 |
Запрос данных о наличии сигналов повреждения от оборудования АТС, учета и объектов электросвязи |
07 |
02 |
|
4 |
Проверка аппаратуры систем передачи* |
08 |
01 - 10 |
|
5 |
Проверка аппаратуры телеграфирования* |
09 |
01 - 10 |
|
6 |
Проверка аппаратуры электропитающих устройств* |
10 |
01 - 10 |
|
7 |
Резерв |
11 - 15 |
|
|
8 |
Проверка линейно-кабельных сооружений* |
16 |
01 - 10 |
|
9 |
Резерв |
17 |
|
|
10 |
Климатические датчики |
18 |
- |
|
11 |
Резерв |
19 |
|
|
12 |
Охранная сигнализация |
20 |
- |
|
13 |
Резерв |
21 - 30 |
|
|
14 |
Проверка станции по инструкции оператора |
31 |
Согласно инструкции оператора |
|
15 |
Регистровое оборудование*** |
32 |
01 - 10 |
|
16 |
Изменение нумерации: |
33 |
|
|
- изменение номера АК; |
|
01 |
|
|
- изменение кода направления. |
|
02 |
|
|
17. |
Оборудование шнуровых комплектов и соединительных линий* |
34 |
01 - 10 |
|
18 |
Маркерное оборудование** |
35 |
01 |
|
19 |
Проверка монетных автоматов* |
36 |
01 - 10 |
|
20 |
Центральный процессор* |
37 |
01 - 10 |
|
21 |
Проверка генераторного оборудования и оборудования тактовой частоты* |
38 |
01 - 10 |
|
22 |
Резерв |
39 |
|
|
23 |
Включение (выключение) специальных речевых сообщений |
40 |
01 (02) |
|
24 |
Блокировка (разблокировка) межстанционных каналов: |
41 |
|
|
- по исходящей связи; |
|
01 (02) |
|
|
- по входящей связи. |
|
03 (04) |
|
|
25 |
Переключение каналов из одной выделенной группы (направления) в другую |
41 |
05 |
|
26 |
Запрос о заблокированных межстанционных каналах |
41 |
06 |
|
27 |
Включение в работу и исключение из работы неисправных модулей* |
42 |
01 - 10 |
|
28 |
Вторичные источники питания |
43 |
- |
|
29 |
Предохранители: общий, стативный, рядовой, индивидуальный |
43 |
|
|
30 |
Управление системой и ее конфигурацией |
44 |
|
|
- блокировка абонентских линий; |
|
01 |
|
|
- разблокировка абонентских линий; |
|
02 |
|
|
- изменение категорий абонентских линий; |
|
03 |
|
|
31 |
Проверка индивидуальных приборов: |
|
|
|
|
- проверка работоспособности абонентских комплектов или исправности абонентских линий |
44 |
05 |
|
32 |
Запрос данных о номерах заблокированных АК |
44 |
14 |
|
33 |
Коммутационное поле АИ, ГИ* |
45 |
01 - 10 |
|
34 |
Ввод и вывод данных о маршруте по заданному соединению* |
45 |
11 - 20 |
|
35 |
Контрольно-диагностическое оборудование* |
46 |
01 - 10 |
|
36 |
Вывод диагностической информации* |
47 |
01 - 10 |
|
37 |
Вывод тарификационной информации по учету переговоров: |
48 |
|
|
- запрос информации по общему учету; |
|
01 |
|
|
- запрос информации по подробному учету; |
|
02 |
|
|
- запрос информации по междугородным переговорам; |
|
03 |
|
|
- запрос информации по общему учету местных переговоров; |
|
04 |
|
|
- команда по изменению времени действия тарифа. |
|
05 |
|
|
38 |
Измерения и вывод результатов по телетрафику: |
49 |
|
|
- исходящей абонентской нагрузки; |
|
01 |
|
|
- исходящей общей нагрузки; |
|
02 |
|
|
- исходящей нагрузки по отдельным направлениям; |
|
03 |
|
|
- входящей нагрузки по отдельным направлениям и пучкам; |
|
04 |
|
|
- входящей общей нагрузки; |
|
05 |
|
|
- внутренней нагрузки; |
|
06 |
|
|
- транзитной нагрузки; |
|
07 |
|
|
- потерь по техническим причинам по направлениям и пучкам; |
|
08 |
|
|
- потерь из-за отсутствия свободных линий по направлениям и пучкам; |
|
09 |
|
|
- суммарных потерь по направлениям и пучкам; |
|
10 |
|
|
39 |
Включение (выключение) обходных направлений. Номера направлений кодируются двухзначным числом XX |
50 |
01 (02) |
|
40 |
Устройство синхронизации* |
51 |
01 - 10 |
|
41 |
Проверка АОН* |
52 |
01 - 10 |
|
42 |
Зуммерно-индукторные устройства* |
53 |
01 - 10 |
|
43 |
Общий канал сигнализации (ОКС)* |
54 |
01 - 10 |
|
44 |
Резерв |
55 |
|
|
45 |
Проверка АТС в режиме контрольных вызовов* |
56 |
01 - 10 |
|
46 |
Наблюдение за реальными вызовами* |
57 |
01 - 10 |
|
47 |
Резерв |
58 - 67 |
|
|
48 |
Включить и выключить испытательный шлейф по переданному номеру* |
68 |
01 - 10 |
|
49 |
Резерв |
69 - 98 |
|
|
|
Изменение порогов перегрузки по заданному коду направления* |
99 |
01 - 10 |
|
51 |
Запрос данных о номерах направлений, в которых имело место превышение порога потерь |
99 |
12 |
|
52 |
Запрос данных о номерах поврежденных ТЭЗов, приборов |
99 |
13 |
|
53 |
Запрет (снятие запрета) обслуживания вызовов по исходящей связи заданного направления и обеспечение сообщения абонентам о временном отключении |
99 |
16 (17) |
|
* Коды команд и проверок устанавливаются на этапе разработки оборудования ** Оборудование аналоговых АТС |
|||
9.7 Коды аварийных сигналов для разного оборудования, передаваемых АТС на ЦТЭ, приведены в таблице 8.
Таблица 8
|
Код аварийного или предупредительного сигнала |
Код оборудования (А) |
||
|
1 |
2 |
3 |
|
|
1 |
Перегорание общего, рядового, стативного и наиболее важного предохранителя (аварийное состояние из-за пропадания) |
|
|
|
- 60 В; + 5 В; + 12 В |
01 |
43 |
|
|
- повреждение вторичных источников питания (ВИП) (аварийное состояние) |
01 |
43 |
|
|
- повреждение вторичных источников питания (предупредительный сигнал) |
04 |
43 |
|
|
2 |
Перегорание индивидуального предохранителя (предупредительный сигнал) |
03 |
43 |
|
3 |
Повреждение прибора, группы приборов, превышение порога отказов в направлении (аварийное состояние) |
06 |
|
|
- повреждение АОН |
|
52 |
|
|
- повреждение ЭВМ (центрального процессора) внутрисистемного канала |
|
37 |
|
|
- повреждение канала общей сигнализации |
|
54 |
|
|
- повреждение устройства сопряжения с периферийным устройством |
|
41 |
|
|
- повреждение аппаратуры синхронизации |
|
51 |
|
|
- повреждение процессора коммутационного поля |
|
42 |
|
|
- повреждение генератора тактовой частоты |
|
38 |
|
|
- повреждение управляющих устройств (функции «маркеров») при введении непрерывного контроля дополнительно присваивается код): |
|
35 |
|
|
- пороговый контроль по потерям или по времени |
04 |
48 |
|
|
- повреждение устройств учета разговоров |
06 |
|
|
|
4 |
Повреждение отдельных приборов телефонной периферии (предупредительное состояние) |
04 |
|
|
- ЗИУ |
|
53 |
|
|
- управляющих устройств с функцией регистра |
|
32 |
|
|
- устройства сопряжения с периферийным оборудованием (межстанционными каналами) |
|
41 |
|
|
- коммутационного поля |
|
45 |
|
|
- контрольно-диагностического оборудования |
|
46 |
|
|
- интерфейсы линейной сигнализации (при введении непрерывного контроля присваиваются дополнительно коды повреждений): |
|
34 |
|
|
а) короткое занятие канала |
01 |
|
|
|
б) безотбойное состояние канала |
02 |
|
|
|
в) незанимаемость канала |
03 |
|
|
|
- модулей по телетрафику |
04 |
49 |
|
|
5 |
Блокировка АК, повреждение абонентской линии (предупредительное состояние) (аналоговых и цифровых) |
05 |
44 |
|
6 |
Повреждение монетных автоматов (предупредительное состояние). При введении непрерывного контроля присваиваются |
08 |
36 |
|
а) короткое занятие таксофона на этапе ОТВЕТА |
01 |
|
|
|
б) безотбойное состояние таксофона на этапе ОТВЕТА |
02 |
|
|
|
в) незанимаемость таксофона |
03 |
|
|
|
г) переполнение монетосборника таксофона |
05 |
|
|
|
7 |
Повреждение электропитающего устройства (ЭПУ): |
|
10 |
|
- авария |
09 |
|
|
|
- повреждение (предупредительное состояние) |
10 |
|
|
|
- пропадание сети (аварийное состояние) |
11 |
|
|
|
8 |
Повреждение систем передачи: |
|
08 |
|
- авария |
13 |
|
|
|
- повреждение (предупредительный сигнал) |
12 |
|
|
|
9 |
Повреждение аппаратуры проводного вещания: |
|
06 |
|
- авария |
15 |
|
|
|
- повреждение (предупредительное состояние) |
14 |
|
|
|
10 |
Повреждение: |
|
|
|
- линейно-кабельных сооружений* |
01-10 |
16 |
|
|
- кросса |
16 |
16 |
|
|
11 |
Повреждение аппаратуры телеграфирования: |
|
09 |
|
- авария |
19 |
|
|
|
- повреждение (предупредительное состояние) |
17 |
|
|
|
12 |
Климатические датчики (при контроле нескольких параметров вводятся дополнительные коды): |
18 |
18 |
|
а) отклонение температуры от нормы* |
01 - 04 |
|
|
|
б) отклонение относительной влажности от нормы* |
05 - 10 |
|
|
|
13 |
Охранная сигнализация (срабатывание по любой причине, в том числе и пожарной) |
20 |
20 |
|
14 |
Повреждение АПК на разных этапах: |
|
07 |
|
- сбой датчика импульсов набора номера на этапе выдачи импульса |
71 |
|
|
|
- сбой датчика импульсов набора номера на этапе выдачи паузы |
72 |
|
|
|
- нет остановки датчика импульсов набора номера |
73 74 |
|
|
|
- нарушение процедуры подключения МОДЕМа |
75 |
|
|
|
- отказ на этапе работы с МОДЕМом |
99 |
|
|
|
- отсутствие информации от ОС в режиме «Проверка» |
76 |
|
|
|
- повреждение АПК центра (отсутствие информации от десяти подряд ОС в режиме «Проверка») |
44 |
|
|
|
- нет готовности МОДЕМа к передаче |
45 |
|
|
|
- нет подключения МОДЕМа |
46 47 |
|
|
|
- нет перехода МОДЕМа в режим приема |
|
|
|
|
- поступление зуммера ЗАНЯТО на этапе перехода в режим приема данных |
31 38 |
|
|
|
- отсутствует связь с трактом МОДЕМа |
32 - 37 |
|
|
|
- отсутствует связь с трактом ЭВМ |
|
|
|
|
- отсутствует связь по трактам 2 - 7 с другими источниками информации (объектами электросвязи) |
|
|
|
|
* Коды сигналов устанавливаются на этапе разработки оборудования |
|||
10.1 Ремонт оборудования коммутации представляет собой комплекс операций по восстановлению его исправности и работоспособности.
10.2 Решение проблем по созданию центров ремонта и программирования должна быть возложена в значительной степени на фирмы-производителей АТС, которые имеют соответствующие технические средства и квалифицированный технический персонал.
10.3 Центры ремонта и программирования должны рассматриваться как самостоятельные единицы.
10.2 Ремонт различного вида оборудования сети: оборудование различных систем передачи, электропитающих устройств, аппаратуры факсимильной связи, передачи данных и других средств электросвязи целесообразно производить централизованно.
(справочное)
А.1 Функция информационной (I) команды заключается в передаче по звену данных последовательно пронумерованных кадров. I-кадр может принимать значение от 0 до 7. Порядковые номера кадров циклически проходят весь диапазон чисел по заданному модулю (8).
N (S) - порядковый номер передачи выдаваемых кадров и содержится только в I-кадре.
N (R) - ожидаемый порядковый номер следующего принимаемого I кадра. Все I и S кадры содержат поле N (R).
Допускается покадровая передача информации с постоянным номером 1.
Бит P/F в кадрах команд называется P-битом, а в кадрах ответов - F-битом. Кадры класса I имеют бит Р = 0 и характеризуются битом I, когда он равен 0.
А.2 Виды кадров класса S, характеризующиеся равенством битов 1 и 2 (соответственно 10) и предлагаемые для их использования только в качестве Ответа (Подтверждения)
А.2.1 Ответ «RR» - «Готов к приему» - используется для указания на готовность к приему I-кадра или подтверждения принятых I-кадров с номерами до N (R)-I включительно. Использует бит Р = 1.
А.2.2 Ответ «RNR» - «Не готов к приему» - используется для указания состояния занятости и временной неготовности воспринимать входящие I-кадры. Использует бит F = 1. Исходящая сторона временно прекращает передачу до получения RR, REY, VA, SABM.
А.2.3 Ответ «REJ» - «Переспрос» - используется для запроса повторной передачи I-кадров, начиная с кадра с номером N (R). Использует бит F = 1.
А.3 Виды кадров класса U, характеризующиеся равенством битов 1 и 2 (соответственно 11) и согласно таблице 3 и используемые в качестве команд и в качестве ответа (Подтверждения)
А.3.1 Команда «Установить асинхронный балансный режим» (SABM). В ответ на прием этой команды выдается подтверждение Ответа «UA».
А.3.2 Команда «DISC» - «Разъединить» - используется в случае, когда станция А прекращает работу. До выполнения этой команды станция В, получившая ее, подтверждает прием передачей ответа «DM», после чего станция А переходит в фазу разъединения.
А.3.3 Ответ «Ненумерованное подтверждение» (UA) используется для подтверждения получения команд U-формата. Полученные команды U-формата не выполняются пока не будет передан подтверждающий ответ.
А.3.4 Ответ «Отключенный режим» (DM) используется для сообщения о состоянии логического разъединения, когда станция логически отключена от информационного канала. Ответ DM также посылается на принятую команду SABM, в случае невозможности ее выполнения или на любую другую команду, полученную с битом F - 1. Выдача ответа DM требует выполнить процедуру разъединения и начать соединение сначала.
А.4 Рекомендуется для определения состояния отсутствия или потери ответа использовать таймер повторных передач Т, который запускается в случае отсутствия подтверждения на команду. Время ожидания рекомендуется определять по суммарному времени, равному времени передачи кадров команд и приема подтверждения.
А.5 Поле «Проверочная последовательность кадра» (FSC) состоит из двух октетов (16 бит) и состоит из контрольной двоичной суммы, переданных октетов, без учета переноса, получаемого в старшем бите.
А.6 Информационное поле может иметь переменную длину и содержать целое число байт. Максимальная длина блока данных равна 250 октетов (байт).
А.7 Сигнал «REJ» - «Переспрос» повторять до трех раз, после третьей попытки выдается ответ DM и с исходящей стороны должно последовать разъединение и повторная попытка нового соединения.
А.8 Должна обеспечиваться возможность изменения временных параметров цикла протокола канального уровня в условиях эксплуатации (время разъединения, ожидание подтверждения, задержка ответа и др.).
(справочное)
[1] Рекомендация Оборудование автоматического вызова и/или ответа
МСЭ-Т V.25 в общей коммутируемой телефонной сети, включающее эхо-подавители при ручном управлении соединений
[2] Рекомендация Интерфейс между оконечным оборудованием данных
МСЭ-Т Х.25 (ООД) и аппаратурой передачи данных (АКД) для терминалов, работающих в пакетном режиме и подключаемых к сетям передачи данных общего пользования
[3] Рекомендация Характеристики аппаратуры первичной системы
МСЭ-Т G.732 ИКМ со скоростью передачи 2048 кбит/с
[4] Рекомендация Расчетные нормы для цифровой станции –
МСЭ-Т Q.542 эксплуатация и техническое обслуживание
[5] Рекомендация Нормы на частоту управляемых проскальзываний в
МСЭ-Т G.822 международном цифровом соединении
[6] Рекомендация МСЭ-Т Е.500 Измерение и регистрация трафика
[7] Рекомендация МСЭ-Т Е.502 Спецификации трафика и эксплуатации, касающихся станций, управляемых по записанной программе (ЗРС) электросвязи
[8] Рекомендация МСЭ-Т Q.543 Расчетные нормы на качество работы цифровых станций
[9] Рекомендация МСЭ-Т Z.331 Спецификация интерфейса человек-машина
[10] Рекомендация МСЭ-Т G.771 Стыки Q и связанные с ними протоколы для аппаратуры передачи в сети управления электросвязью
[11] MOC-ISO 2110 Передача данных. 25-контактный интерфейсный разъем ООД/АКД и обозначения контактов
[12] Рекомендация МСЭ-Т V.24 Перечень обозначений цепей обмена между оконечным оборудованием данных (ООД) и аппаратурой передачи данных (АКД)
Ключевые слова: система технической эксплуатации и обслуживания, центр технической эксплуатации, непрерывный и периодический контроль, пороговый контроль, управление, стык, параметры, контрольные вызовы, сельская телефонная сеть