Скачать РД 31.74.04-2002 Технология промерных работ при производстве дноуглубительных работ и при контроле глубин для безопасности плавания судов в морских портах и на подходах к нимДата актуализации: 01.01.2021
|
| Обозначение: | РД 31.74.04-2002 |
| Обозначение англ: | RD 31.74.04-2002 |
| Статус: | действует |
| Название рус.: | Технология промерных работ при производстве дноуглубительных работ и при контроле глубин для безопасности плавания судов в морских портах и на подходах к ним |
| Дата добавления в базу: | 01.09.2013 |
| Дата актуализации: | 01.01.2021 |
| Дата введения: | 17.06.2004 |
| Область применения: | Устанавливает организационно-технические нормы, технологические способы, методы производства промера, нормативные требования по точности и срокам его выполнения при производстве дноуглубительных работ и при контроле габаритов морских каналов, фарватеров и акваторий портов. РД является рекомендательным для всех организаций (предприятий), независимо от ведомственной принадлежности и форм собственности, занимающихся промерными работами при производстве дноуглубительных работ и контроле глубин для безопасного плавания судов в морских портах и на подходах к ним. |
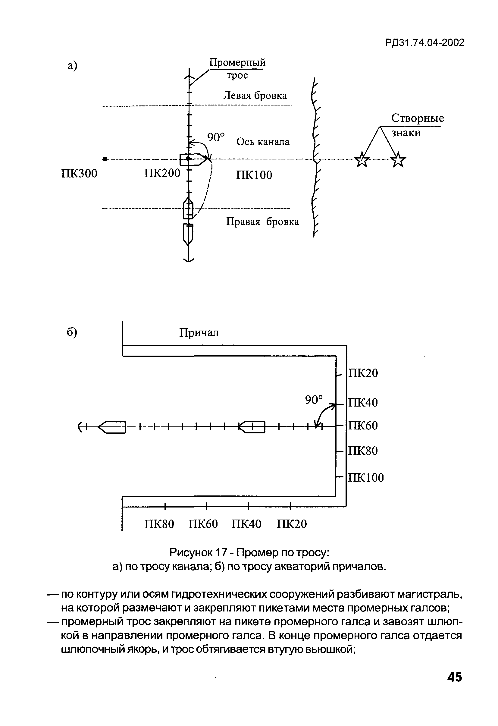
| Оглавление: | 1 Область применения 2 Общие положения 2.1 Задачи промера 2.2 Виды промеров и их назначение, сроки проведения промерных работ 2.3 Подробность промера 2.4 Последовательность проведения и планово-высотное обеспечение промерных работ 2.5 Ведение рабочей документации 3 Плановая и высотная основы промера 3.1 Общие требования 3.2 Опорные и съемочные геодезические сети 3.3 Плановая разбивка пикетов и расположение промерных галсов 3.4 Установка постоянного и временного уровенных постов 3.5 Организация уровенных наблюдений 4 Выполнение промера 4.1 Общие требования 4.2 Способы определения места при промере 4.3 Способы измерения глубин 5 Обслуживание земснарядов 5.1 Общие требования 5.2 Разбивка и закрепление на местности границ рабочей прорези 5.3 Ограждение рабочей прорези 5.4 Подготовка мест отвала (свалок) грунта 5.5 Траление участка дноуглубительных работ, отвалов (свалок) грунта и подходов к ним 5.6 Предварительный промер с определением объема дноуглубительных работ 5.7 Контроль за качеством дноуглубительных работ 5.8 Прием дноуглубительных работ 6 Обработка материалов промеров 6.1 Общие требования 6.2 Вычисление координат пунктов опорных и съемочных геодезических сетей 6.3 Исправление измеренных глубин 6.4 Прокладка точек определения места измерения глубин 6.5 Разбивка эхограмм и расстояний между точками определения места на планшете 6.6 Обработка промерных материалов 6.7 Составление промерных планов и чертежей Приложение А. Основные элементы трассы и поперечного сечения канала Приложение Б. Составление таблиц для определения мест пикетов на оси створа Приложение В. Геометрическое нивелирование водомерной рейки Приложение Г. Образец записи в журнале уровенных наблюдений Приложение Д. Технические характеристики эхолотов Приложение Е. Формулы и примеры расчета площадей и объемов выемки Приложение Ж. Информация о состоянии габаритов Приложение З. Таблица величин Р для вычисления поправок на центровку и редукцию Приложение И. Уравнивание цепи треугольников, проложенных между двумя исходными створами Приложение К. Уравнивание вставки треугольников в угол с исходными сторонами Приложение Л. Уравнивание центральной системы Приложение М. Вычисление полигонометрического хода Приложение Н. Вычисление координат пунктов триангуляционных сетей Приложение О. Вычисление обратной засечки по двум несмежным углам Приложение П. Вычисление обратной засечки Приложение Р. Интерполяционная палетка |
| Разработан: | ОАО РЦПКБ Стапель |
| Утверждён: | 17.06.2004 ТК 318 Морфлот (16) |
| Принят: | Дирекция государственного заказчика по реализации программ развития морского транспорта 13.08.2002 ГУГП (2611-42) 03.07.2002 ФГУП Азовское управление морских путей (262-42) 30.07.2002 Морская администрация порта Архангельск (11-07-02) 12.08.2002 Морская администрация порта Астрахань (835) 23.07.2002 Морская администрация порта Калининград (6972-10/02) |
| Издан: | ОАО РЦПКБ Стапель (2004 г. ) |
| Заменяет собой: | |
| Нормативные ссылки: |
































































































































































