Скачать ОСТ 108.462.21-82 Патрубки блоков с соплами для паропроводов ТЭС. Конструкция и размеры

Дата актуализации: 01.01.2021

ОСТ 108.462.21-82

Патрубки блоков с соплами для паропроводов ТЭС. Конструкция и размеры

Обозначение: ОСТ 108.462.21-82
Обозначение англ: OST 108.462.21-82
Статус:заменен
Название рус.:Патрубки блоков с соплами для паропроводов ТЭС. Конструкция и размеры
Дата добавления в базу:01.09.2013
Дата актуализации:01.01.2021
Дата введения:01.01.1985
Дата окончания срока действия:01.02.2012
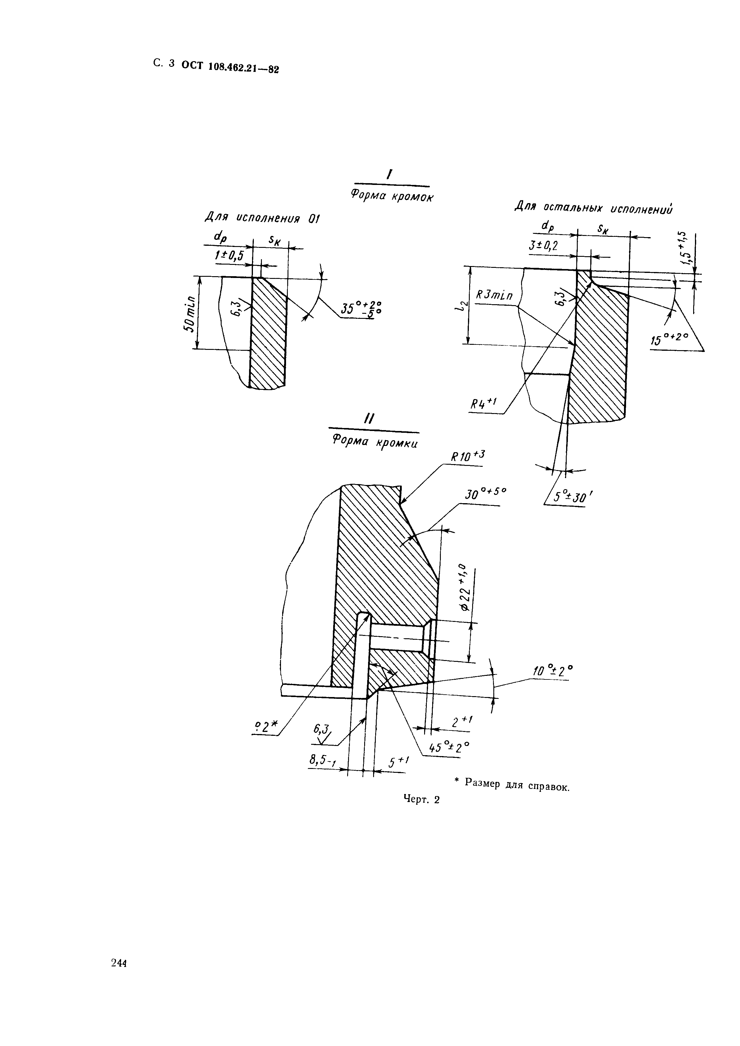
Область применения:Стандарт распространяется на патрубки блоков с соплами, устанавливаемые на паропроводах тепловых электростанций с абсолютным давлением пара р=9,81 МПа (100 кгс/см2) и температурой t=540° C.
Утверждён:04.06.1982 Министерство энергетического машиностроения (Ministry of Energy Machinery Manufacturing ВВ-002/4628)
Принят: Министерство энергетики и электрификации СССР (USSR Ministry of Energy and Electrical Power )
Издан: НПО ЦКТИ (1993 г. )
Список изменений:
Заменяет собой:
  • ОСТ 24.462.26-72
Нормативные ссылки:
ОСТ 108.462.21-82ОСТ 108.462.21-82ОСТ 108.462.21-82ОСТ 108.462.21-82ОСТ 108.462.21-82ОСТ 108.462.21-82ОСТ 108.462.21-82ОСТ 108.462.21-82ОСТ 108.462.21-82ОСТ 108.462.21-82

Текстовое изменение № от 15.02.1994

№ № № №