Скачать ОСТ 108.318.12-82 Переходы для трубопроводовТЭС. Конструкция и размеры

Дата актуализации: 01.01.2021

ОСТ 108.318.12-82

Переходы для трубопроводовТЭС. Конструкция и размеры

Обозначение: ОСТ 108.318.12-82
Обозначение англ: OST 108.318.12-82
Статус:заменен
Название рус.:Переходы для трубопроводовТЭС. Конструкция и размеры
Дата добавления в базу:01.09.2013
Дата актуализации:01.01.2021
Дата введения:01.01.1985
Дата окончания срока действия:01.05.2010
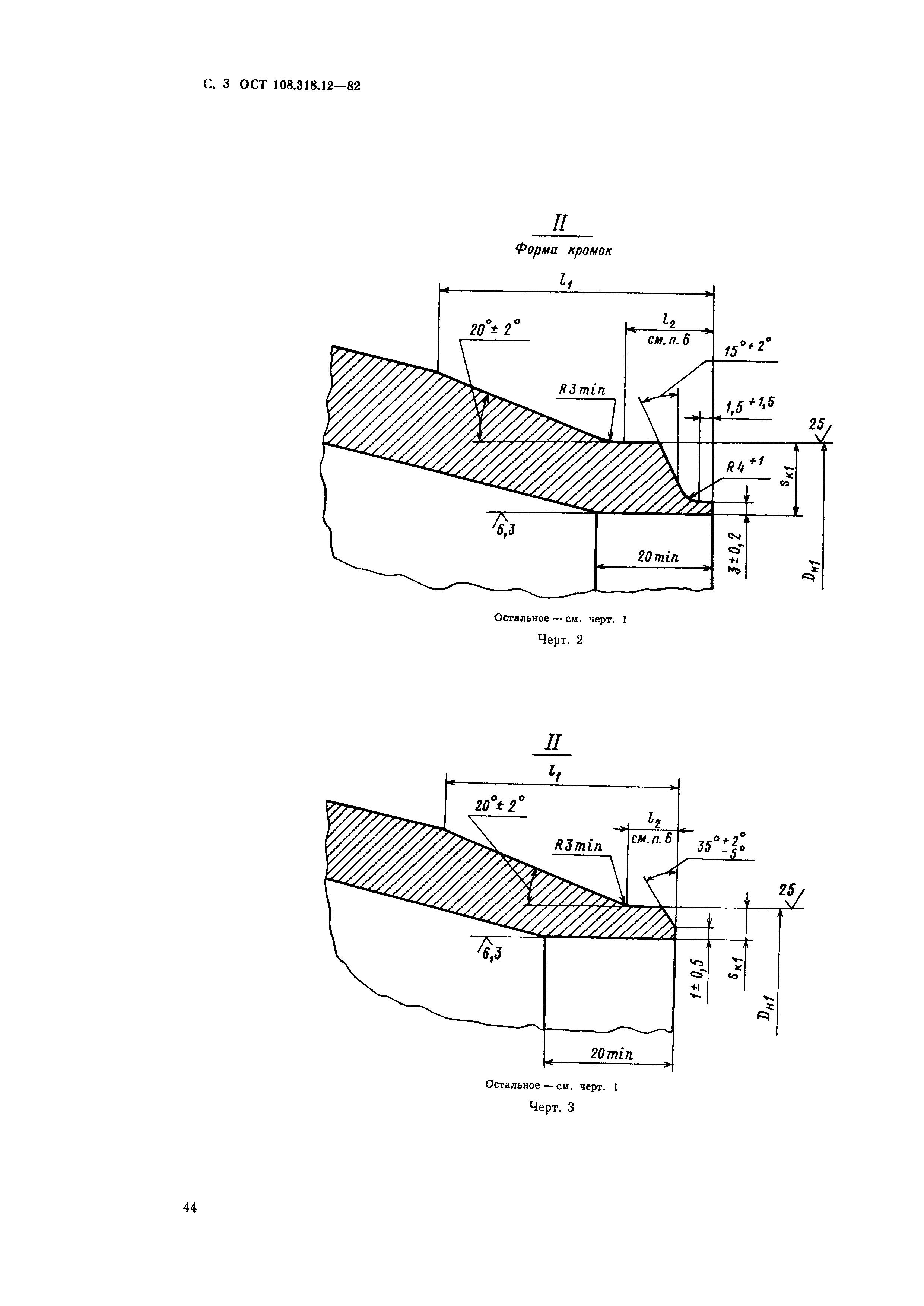
Область применения:Стандарт распространяется наобжатые переходы, изготовляемые из труб по ТУ 14-3-460 и ТУ 14-3-420, для трубопроводов питаттельной воды тепловых электростанций. Стандарт устанавливает конструкцию и основные размеры обжатых переходов для трубопроводов с абсолютным давлением р=37,27МПа (380 кгс/см2) и температурой t=280° C.
Утверждён:04.06.1982 Министерство энергетического машиностроения (Ministry of Energy Machinery Manufacturing ВВ-002/4628)
Принят: Министерство энергетики и электрификации СССР (USSR Ministry of Energy and Electrical Power )
Издан: НПО ЦКТИ (1993 г. )
Список изменений:
Заменяет собой:
  • ОСТ 24.318.05
  • ОСТ 24.318.18 (в части )
  • НО 774-66
Нормативные ссылки:
ОСТ 108.318.12-82ОСТ 108.318.12-82ОСТ 108.318.12-82ОСТ 108.318.12-82ОСТ 108.318.12-82ОСТ 108.318.12-82ОСТ 108.318.12-82ОСТ 108.318.12-82ОСТ 108.318.12-82

Текстовое изменение № от 15.02.1994

№ № № №

Текстовое изменение № 1 от 01.01.1984

№ 1