Скачать ГОСТ Р МЭК 60269-3-1-2004 Предохранители плавкие низковольтные. Часть 3-1. Дополнительные требования к плавким предохранителям для эксплуатации неквалифицированным персоналом (плавкие предохранители бытового и аналогичного назначения). Разделы I-IVДата актуализации: 01.01.2021
|
| Обозначение: | ГОСТ Р МЭК 60269-3-1-2004 |
| Обозначение англ: | GOST R IEC 60269-3-1-2004 |
| Статус: | отменен |
| Название рус.: | Предохранители плавкие низковольтные. Часть 3-1. Дополнительные требования к плавким предохранителям для эксплуатации неквалифицированным персоналом (плавкие предохранители бытового и аналогичного назначения). Разделы I-IV |
| Название англ.: | Low-voltage fuses. Part 3-1. Supplementary reguirements for fuses for use by unskilled persons (fuses mainly for household and similar applications). Sections I to IV |
| Дата добавления в базу: | 01.09.2013 |
| Дата актуализации: | 01.01.2021 |
| Дата введения: | 01.07.2005 |
| Дата окончания срока действия: | 01.01.2013 |
| Область применения: | Стандарт распространяется на низковольтные плавкие предохранители бытового и аналогичного назначения, предназначенные для эксплуатации неквалифицированным персоналом, и устанавливает характеристики, требования к конструкции и методы испытаний, которые дополняют или изменяют соответтсвующие разделы и (или) пункты МЭК 60269-1 и МЭК 60269-3. |
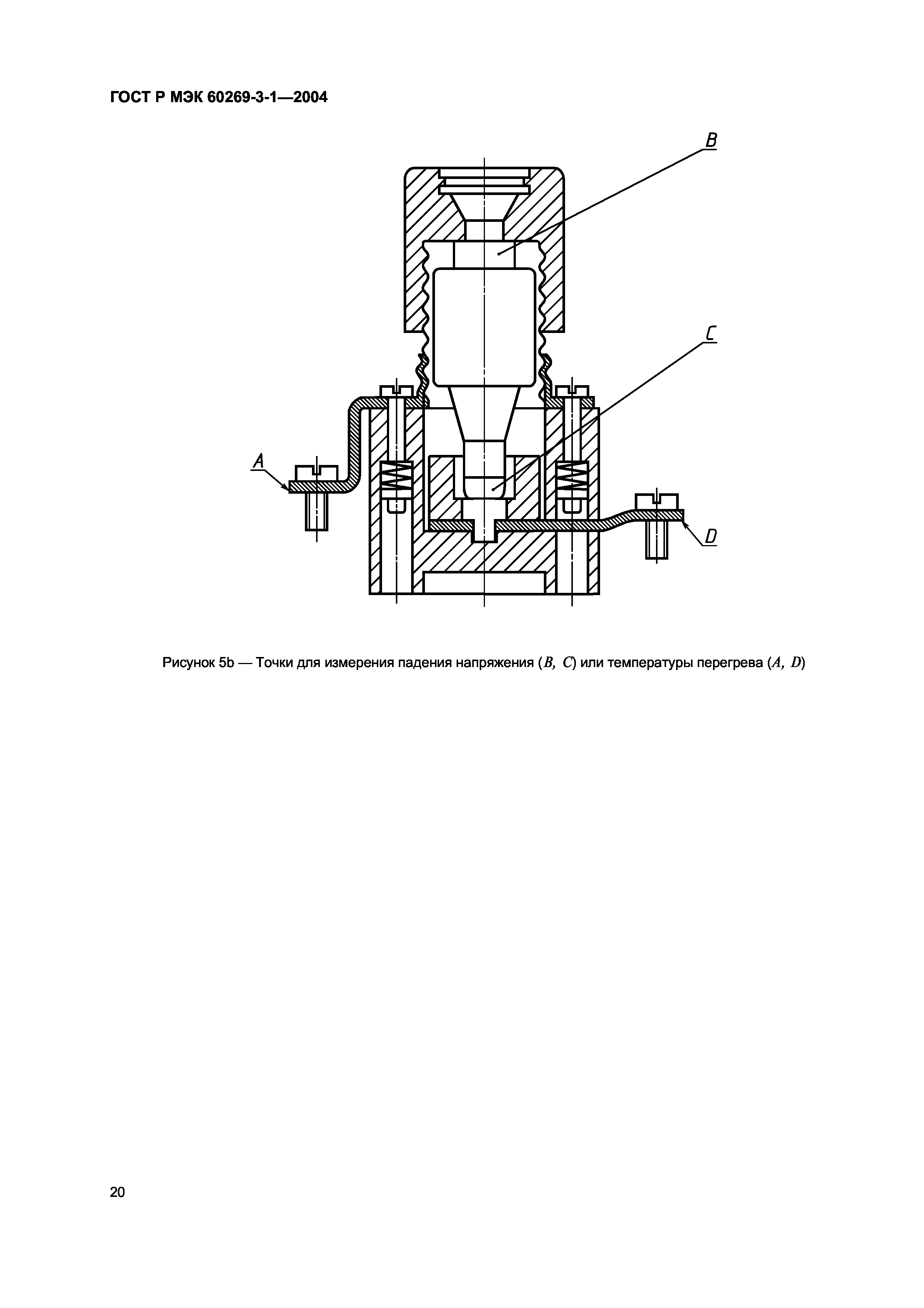
| Оглавление: | 1 Общие положения 1.0 Нормативные ссылки Раздел I Плавкие предохранители типа D 1.1 Область применения 5 Характеристики плавких предохранителей 5.2 Номинальное напряжение 5.3.1 Номинальный ток плавкой вставки 5.3.2 Номинальный ток держателя плавкого предохранителя 5.5 Номинальные потери мощности плавкой вставки и номинальная рассеиваемая мощность держателя плавкого предохранителя 5.6 Пределы времятоковых характеристик 5.6.1 Времятоковые характеристики, времятоковые зоны и перегрузочные характеристики 5.6.2 Условные время и ток 5.6.3 Разбросы 5.7 Диапазон отключения и отключающая способность 5.7.2 Номинальная отключающая способность 6 Маркировка 7 Стандартные требования к конструкции 7.1 Механическая часть 7.1.2 Соединения, в том числе выводы 7.1.3 Контакты плавкого предохранителя 7.1.4 Невзаимозаменяемость 7.1.5 Конструкция основания плавкого предохранителя 7.1.6 Конструкция держателя плавкого предохранителя 7.1.7 Конструкция плавкой вставки 7.1.8 Конструкция калибровочной втулки 7.2 Изоляционные свойства 7.3 Температура перегрева, потери мощности плавкой вставки и рассеиваемая мощность держателя плавкого предохранителя 7.7 Характеристики 7.7.1 Значения преддугового 7.7.2 Значения отключения 7.8 Селективность при сверхтоках плавких вставок типа gG 7.9 Защита от электрического удара 8 Испытания 8.2 Проверка изоляционных свойств 8.2.1 Установка держателя плавкого предохранителя 8.2.6 Пути утечки, зазоры и расстояния по герметизирующему компаунду 8.3 Проверка температуры перегрева и потерь мощности 8.3.1 Установка плавкого предохранителя 8.3.3 Измерение потерь мощности плавкой вставки 8.3.5 Требуемые результаты испытания 8.5.2 Характеристики испытательной цепи 8.5.8 Требуемые результаты испытаний 8.7.4 Проверка селективности по сверхтокам 8.9 Проверка теплостойкости 8.9.1 Основания плавких предохранителей 8.9.2 Держатель плавкой вставки 8.10 Проверка целостности контактов 8.10.1 Установка плавкого предохранителя 8.10.2 Метод испытания 8.10.3 Требуемые результаты испытаний 8.11 Механическая прочность и прочие испытания 8.11.1 Механическая прочность Рисунки 1 - 9 Раздел IIА Цилиндрические плавкие предохранители типа А 1.1 Область применения 2 Определения 2.1.12 Вывод под винт 2.1.13 Столбиковый вывод 5 Характеристики плавких предохранителей 5.2 Номинальное напряжение 5.3.1 Номинальный ток плавкой вставки 5.3.2 Номинальный ток держателя плавкого предохранителя 5.5 Номинальные потери мощности плавкой вставки и номинальная рассеиваемая мощность держателя плавкого предохранителя 5.6.2 Условные время и ток 5.6.3 Разбросы 7 Стандартные требования к конструкции 7.1 Механическая часть 7.1.2 Соединения, в том числе выводы 7.2 Изоляционные свойства 7.7 Характеристики 7.7.1 Значения преддугового 7.7.2 Значения срабатывания 7.8 Селективность при сверхтоках плавких вставок типа gG 7.9 Защита от электрического удара 8 Испытания 8.1.5.1 Полные испытания 8.1.6 Испытание держателей плавких предохранителей 8.3.1 Установка плавкого предохранителя 8.3.3 Измерение потерь мощности плавкой вставки 8.3.4.1 Температура перегрева держателя плавкого предохранителя 8.4 Проверка срабатывания 8.4.1 Установка плавкого предохранителя 8.4.3.6 Срабатывание указателей и бойков при их наличии 8.5 Проверка отключающей способности 8.5.1 Установка плавкого предохранителя 8.5.8 Требуемые результаты испытаний 8.7.4 Проверка селективности по сверхтокам 8.8 Проверка степени защиты оболочек 8.8.1 Проверка защиты от электрического удара 8.9 Проверка теплостойкости 8.10 Проверка целостности контактов 8.10.1 Установка плавкого предохранителя 8.10.2 Метод испытания 8.10.3 Требуемые результаты испытания 8.11.1.1 Механическая прочность держателя плавкого предохранителя 8.11.1.1.1 Проверка ударостойкости 8.11.1.1.1.1 Испытательная установка 8.11.1.1.1.2 Методика испытания 8.11.1.1.2 Проверка требований к конструкции 8.12 Проверка износоустойчивости контактов Рисунки 10 - 16 Раздел llВ Цилиндрические плавкие предохранители типа В 1.1 Область применения 5 Характеристики плавких предохранителей 5.3 Номинальные токи 5.3.1 Номинальный ток плавкой вставки 5.3.2 Номинальный ток держателя плавкого предохранителя 5.5 Номинальные потери мощности плавкой вставки и номинальная рассеиваемая мощность держателя плавкого предохранителя 5.6 Пределы времятоковых характеристик 5.6.1 Времятоковые характеристики, времятоковые зоны и перегрузочные характеристики 5.6.2 Условные время и токи 5.7 Диапазон отключения и отключающая способность 5.7.2 Номинальная отключающая способность 7 Стандартные требования к конструкции 7.1 Механическая часть 7.1.2 Соединения, в том числе выводы 7.9 Защита от электрического удара 8 Испытания 8.1 Общие положения 8.1.4 Установка плавкого предохранителя 8.3 Проверка температуры перегрева и потерь мощности 8.3.1 Установка плавкого предохранителя 8.3.3 Измерение потерь мощности плавких вставок 8.4 Проверка срабатывания 8.4.1 Установка плавкого предохранителя 8.5 Проверка отключающей способности 8.5.1 Установка плавкого предохранителя 8.5.8 Требуемые результаты испытания 8.10 Проверка целостности контактов 8.10.1 Установка плавкого предохранителя 8.10.2 Метод испытания 8.10.3 Требуемые результаты испытания Рисунки 17 - 22 Раздел llС Цилиндрические плавкие предохранители типа С 1.1 Область применения 5 Характеристики плавких предохранителей 5.3.1 Номинальный ток плавких вставок 5.3.2 Номинальный ток держателя плавкого предохранителя 5.5 Номинальные потери мощности плавкой вставки и номинальная рассеиваемая мощность держателя плавкого предохранителя 5.6 Пределы времятоковых характеристик 5.6.1 Времятоковые характеристики, времятоковые зоны и перегрузочные характеристики 5.6.2 Условные время и токи 5.6.3 Разбросы 7 Стандартные требования к конструкции 7.1 Механическая часть 7.1.2 Соединения, в том числе выводы 7.2 Изоляционные свойства 7.3 Температура перегрева, потери мощности плавкой вставки и рассеиваемая мощность держателя плавкого предохранителя 7.7 Характеристики 7.7.1 Минимальные значения преддугового за 0,01 с 7.7.2 Максимальные значения срабатывания за 0,01 с 8 Испытания 8.1.6 Испытания держателей плавких предохранителей 8.3 Проверка температуры перегрева и потерь мощности 8.3.1 Установка плавкого предохранителя 8.3.3. Измерение потерь мощности плавкой вставки 8.3.4.1 Температура перегрева держателя плавкого предохранителя 8.4 Проверка срабатывания 8.4.1 Установка плавкого предохранителя 8.5 Проверка отключающей способности 8.5.1 Установка плавкого предохранителя 8.5.8 Требуемые результаты испытания 8.7.4 Проверка избирательности 8.9 Проверка теплостойкости 8.9.1 Испытание в камере тепла 8.9.2 Испытание вдавливанием шарика 8.9.2.1 Испытательное устройство 8.9.2.2 Методика испытания 8.10 Проверка целостности контактов 8.10.1 Установка плавкого предохранителя 8.10.2 Метод испытания 8.10.3 Требуемые результаты испытания 8.11 Механические и прочие испытания 8.11.1.6 Механическая прочность держателя плавкого предохранителя 8.11.1.6.1 Испытание на удар 8.11.1.6.2 Конструкция держателя плавкой вставки 8.11.1.6.3 Механическая прочность держателя плавкого предохранителя с резьбой Рисунки 23 - 28 Раздел III Плавкие предохранители со штырьковыми выводами 1.1 Область применения 2 Определения 2.3 Характеристики и параметры 2.3.25 Эквивалентное сечение основания плавкого предохранителя 2.3.26 Типоразмер основания плавкого предохранителя 5 Характеристики плавких предохранителей 5.5 Номинальные потери мощности плавкой вставки 5.6 Пределы времятоковых характеристик 5.6.2 Условные время и токи 5.6.3 Разбросы 6 Маркировка 6.1 Маркировка держателей плавких предохранителей 6.2 Маркировка плавких вставок 6.4 Маркировка калибровочных втулок 7 Стандартные требования к конструкции 7.1 Механическая часть 7.1.8 Конструкция калибровочной втулки 7.3 Температура перегрева, потери мощности плавкой вставки и рассеиваемая мощность держателя плавкого предохранителя 8 Испытания 8.3 Проверка температуры перегрева и потерь мощности 8.3.1 Установка плавкого предохранителя 8.3.3 Измерение потерь мощности плавкой вставки 8.3.4 Метод испытания 8.3.4.1 Измерение температуры перегрева держателя плавкого предохранителя 8.10 Проверка целостности контактов 8.10.1 Установка плавкого предохранителя 8.10.2 Метод испытания 8.10.3 Требуемые результаты испытания Рисунки 29 - 32 Раздел IV Цилиндрические плавкие вставки для применения в предохранителях штепсельного типа (пробках) 1.1 Область применения 5 Характеристики плавких предохранителей 5.2 Номинальное напряжение 5.3.1 Номинальный ток плавкой вставки 5.5 Номинальные потери мощности плавкой вставки и рассеиваемая мощность держателя плавкого предохранителя 5.6.1 Времятоковые характеристики, времятоковые зоны и перегрузочные характеристики 5.6.2 Условные время и токи 5.6.3 Разбросы 7 Стандартные требования к конструкции 7.7 Характеристики 7.7.1 Значения преддугового 8 Испытания 8.1.4 Установка плавкой вставки 8.1.5 Испытание плавкой вставки 8.2.5 Требуемые результаты испытания 8.3 Проверка температуры перегрева и потерь мощности 8.3.1 Установка плавкого предохранителя 8.3.4 Метод испытания 8.3.5 Требуемые результаты испытания 8.4 Проверка срабатывания 8.4.1 Установка плавкого предохранителя 8.4.3.1 Проверка условного тока неплавления и плавления 8.4.3.2 Проверка номинального тока плавких вставок типа gG 8.5 Проверка отключающей способности 8.5.1 Установка плавкого предохранителя 8.5.2 Характеристика испытательной схемы 8.5.4 Калибровка испытательной схемы 8.5.8 Требуемые результаты испытания 8.7 Проверка характеристики и избирательности по сверхтокам 8.10 Проверка целостности контактов 8.11.1 Механическая прочность Рисунки 33 - 36 Приложение А |
| Разработан: | ТК 303 Изделия электронной техники, материалы и оборудование |
| Утверждён: | 16.11.2004 Федеральное агентство по техническому регулированию и метрологии (76-ст) |
| Издан: | ИПК Издательство стандартов (2005 г. ) |
| Нормативные ссылки: |
|
































































































