Скачать Технологическая карта Технологическая карта на строительство подземных сетей закрытым способомДата актуализации: 01.01.2021
|
| Обозначение: | Технологическая карта |
| Статус: | не установлен срок действия |
| Название рус.: | Технологическая карта на строительство подземных сетей закрытым способом |
| Дата добавления в базу: | 01.09.2013 |
| Дата актуализации: | 01.01.2021 |
| Дата введения: | 01.01.1983 |
| Область применения: | Технологическая карта составлена на производство работ по устройству подземных сетей закрытым способом на строительных объектах Главмосстроя. Технологическая карта предназначена для составления проектов производства работ (ППР) и с целью ознакомления (обучения) рабочих и инженерно-технических работников с правилами производства работ. |
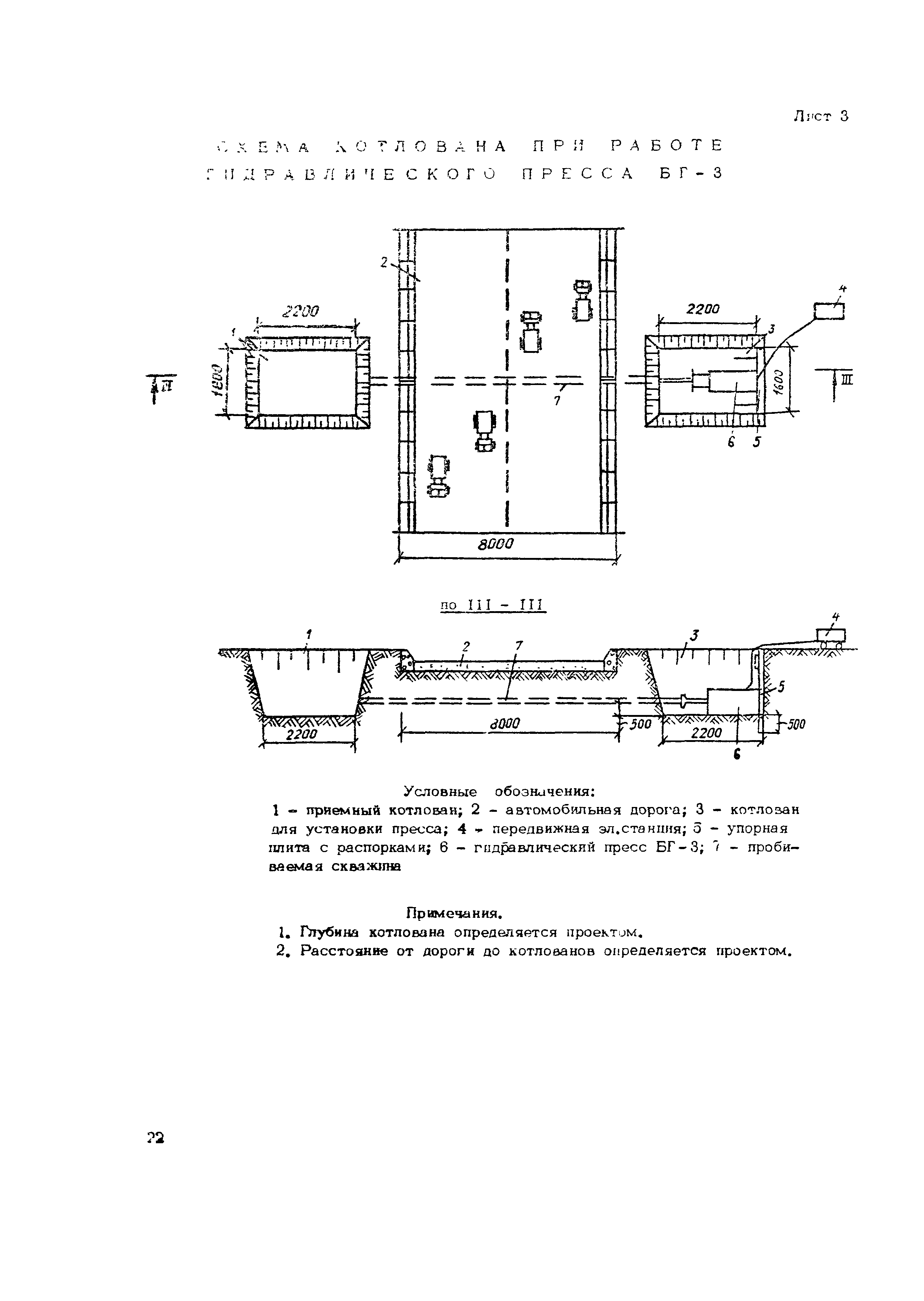
| Оглавление: | 1. Область применения 2. Технология строительного процесса 3. Технико-экономические показатели 4. Материально-технические ресурсы Приложение 1. Журнал работ по бестраншейной проходке Приложение 2. Технические характеристики стреловых поворотных кранов Приложение 3. Технические характеристики пневмопробойников гидравлического пресса и установки для прокола Приложение 4. Техническая характеристика установки Главмосстроя для прокладки труб O 900 мм способом продавливания Приложение 5. График производства работ Приложение 6. Калькуляция трудовых затрат Приложение 7. Схема операционного контроля Лист 1. Схемы котлованов для запуска пневмопробойников Лист 2. Схемы котлованов для запуска пневмопробойников Лист 3. Схема котлована при работе гидравлического пресса БГ-3 Лист 4. Схема котлована при проколе установкой Главмосстроя Лист 5. Схема котлована при проколе установкой Главмосстроя Лист 6. Схемы гидравлических установок для продавливания труб в грунте Лист 7. Схема организации производства работ при проколе (продавливании) грунта трубами Лист 8. Схема организации работ при прокладке труб в футляре, проложенном в грунте способом продавливания |
| Разработан: | Трест Мосоргстрой |
| Утверждён: | 01.01.1983 Трест Мосоргстрой Главмосстроя |
| Нормативные ссылки: |




























