Скачать Методические рекомендации Методические рекомендации по определению экономически рациональной области использования отходов ТЭС и ГРЭС в дорожном строительствеДата актуализации: 01.01.2021
|
| Обозначение: | Методические рекомендации |
| Обозначение англ: | Recommended Practice |
| Статус: | действует |
| Название рус.: | Методические рекомендации по определению экономически рациональной области использования отходов ТЭС и ГРЭС в дорожном строительстве |
| Дата добавления в базу: | 01.09.2013 |
| Дата актуализации: | 01.01.2021 |
| Дата введения: | 20.07.1987 |
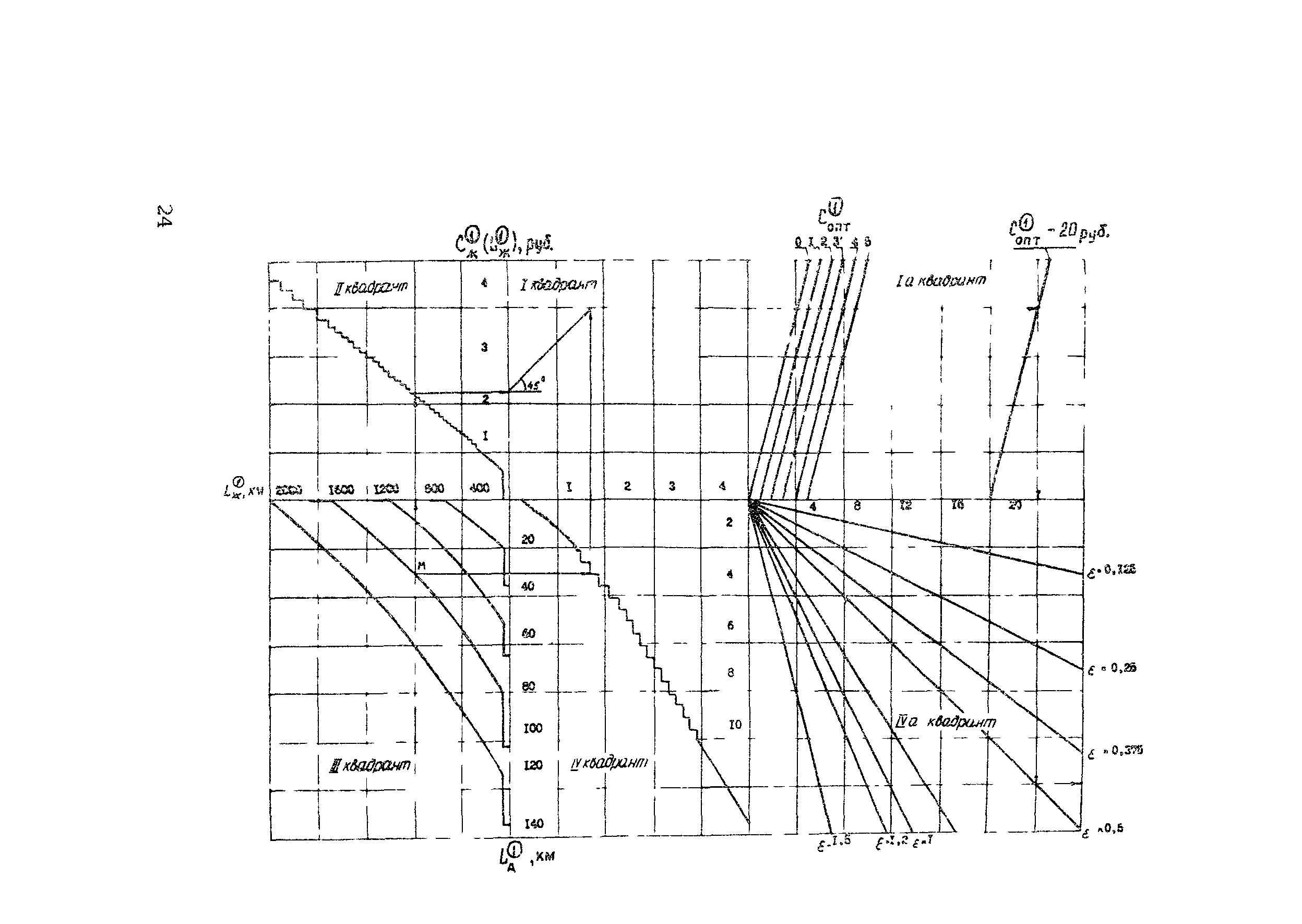
| Оглавление: | Предисловие 1 Общие положения 2 Определение экономически рациональной области использования отходов ТЭС и ГРЭС в дорожном строительстве 3 Определение экономически рациональных областей использования отходов ТЭС и ГРЭС в дорожном строительстве с помощью номограмм Приложение 1 Номограммы для определения предельно допустимого расстояния транспортирования отходов ТЭС и ГРЭС Приложение 2 Номограмма для определения рациональных областей использования отходов ТЭС И ГРЭС в дорожном строительстве Приложение 3 Определение экономически рациональных расстояний перевозки отходов ТЭС и ГРЭС при изменении состава используемых многокомпонентных дорожных смесей или при изменении конструкции дорожной одежды Приложение 4 Определение экономически целесообразного расстояния перевозки золошлаковой смеси при строительстве автомобильной дороги Приложение 5 Определение экономически целесообразного расстояния при строительстве автомобильной дороги 1 категории Приложение 6 Расчет экономической эффективности замены цемента сухой золой канско-ачинских углей |
| Разработан: | СоюздорНИИ |
| Утверждён: | 20.07.1987 Союздорнии (Soyuzdornii ) |
| Принят: | 30.09.1985 Главное техническое управление Минтрансстроя (377-10/11) |
| Издан: | Союздорнии (1987 г. ) |
| Нормативные ссылки: |
|















































