Скачать РД 45.005-99 Система показателей качества услуг местной телефонной сети. Сетевые стыки для контроля технических показателей качества услуг и качества работы местной телефонной сетиДата актуализации: 01.01.2021
|
| Обозначение: | РД 45.005-99 |
| Обозначение англ: | RD 45.005-99 |
| Статус: | введен впервые |
| Название рус.: | Система показателей качества услуг местной телефонной сети. Сетевые стыки для контроля технических показателей качества услуг и качества работы местной телефонной сети |
| Дата добавления в базу: | 01.09.2013 |
| Дата актуализации: | 01.01.2021 |
| Дата введения: | 01.09.2000 |
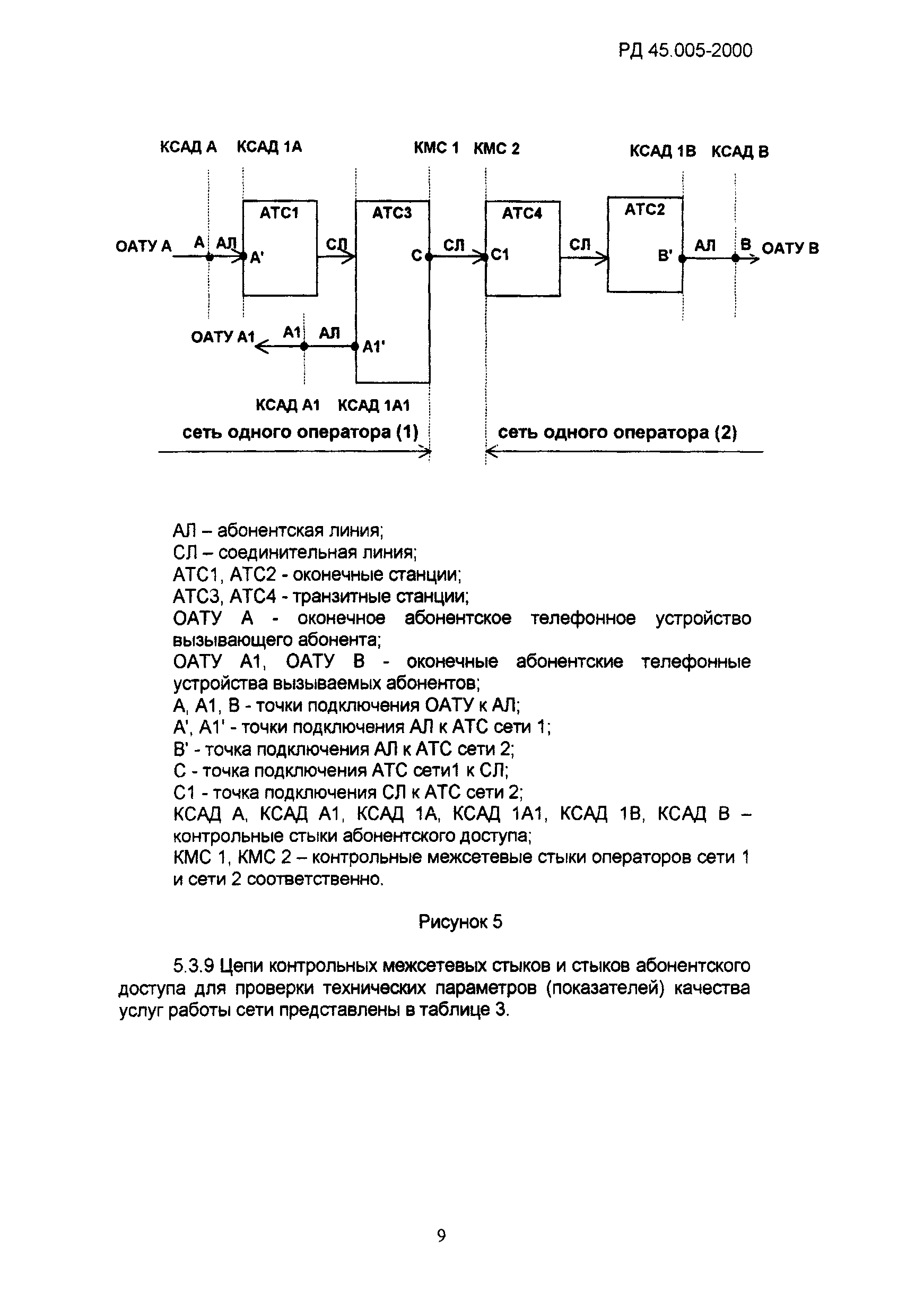
| Область применения: | Руководящий документ устанавливает сетевые стыки для контроля технических показателей (параметров) качества местной телефонной связи и оценки показателей качества работы местной телефонной сети и услуг связи. Предназначен для использования на местных телефонных сетях с коммутационным оборудованием аналогового, цифрового, аналого-цифрового типа. |
| Оглавление: | 1 Область применения 2 Нормативные ссылки 3 Определения, обозначения и сокращения 4 Общие положения 5 Контрольные сетевые стыки местной телефонной сети Приложение А Перечень нормативных документов, используемых при контроле качества работы сети Приложение Б Перечень контролируемых параметров и их коды Приложение В Библиография |
| Разработан: | Ленинградский отраслевой институт связи (ЛОНИИС) |
| Утверждён: | 12.07.2000 Минсвязи России (Russian Federation Minsvyazi 4221) |
| Издан: | ЦНТИ Информсвязь (2000 г. ) |
| Нормативные ссылки: |

























