Скачать ОСТ 1 10321-72 Угольники проходные. Конструкция и размерыДата актуализации: 01.01.2021 ОСТ 1 10321-72
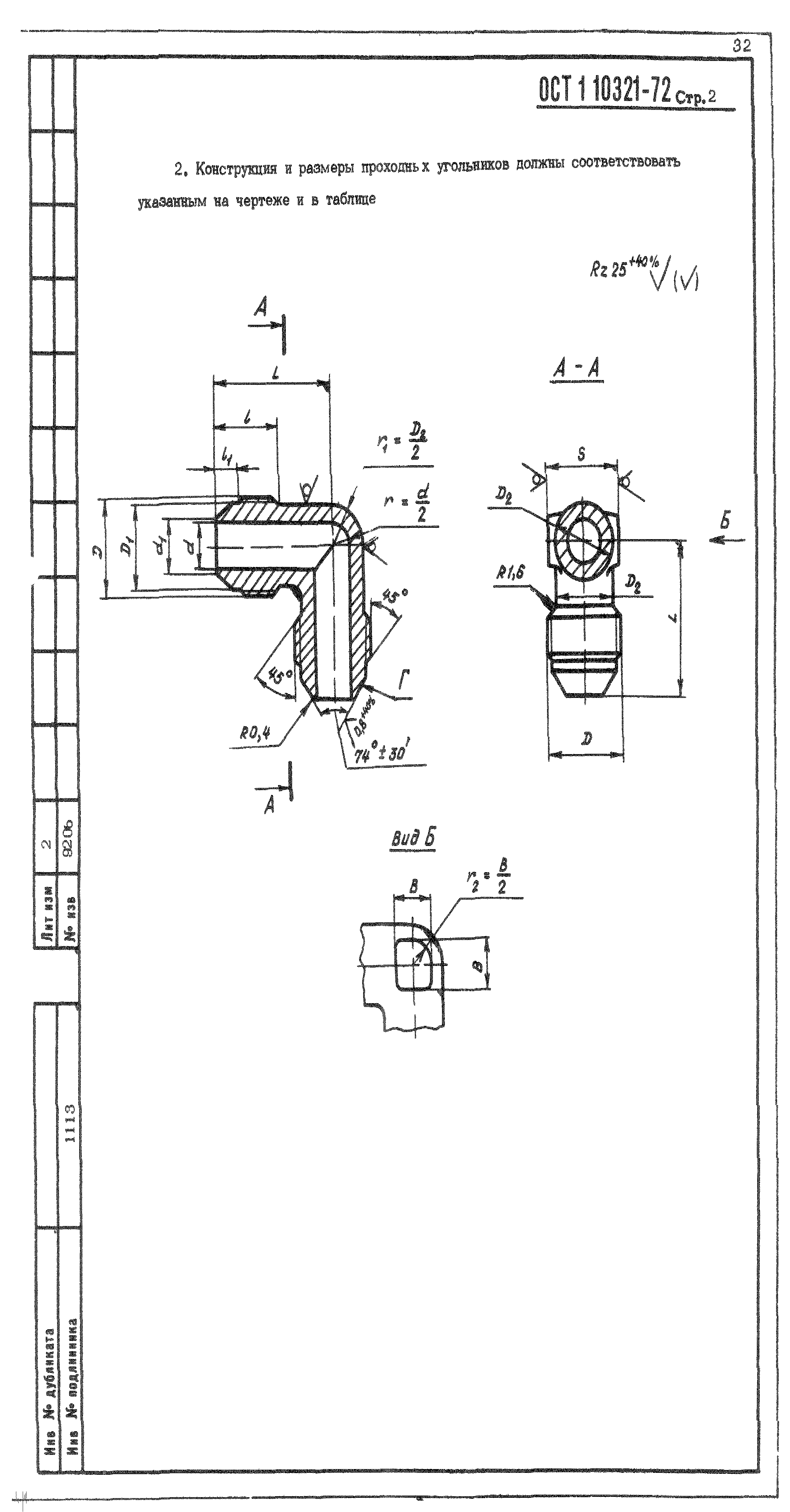
Угольники проходные. Конструкция и размеры| Обозначение: | ОСТ 1 10321-72 | | Обозначение англ: | 10321-72 | | Статус: | введен впервые | | Название рус.: | Угольники проходные. Конструкция и размеры | | Дата добавления в базу: | 01.09.2013 | | Дата актуализации: | 01.01.2021 | | Дата введения: | 01.01.1974 | | Область применения: | Настоящий стандарт распространяется на проходные угольники, предназначенные для соединений трубопроводов по наружному конусу | | Утверждён: | 22.12.1972 Министерство (Ministry 087-16)
|
   
|