Скачать ОСТ 34-10-574-93 Компенсатор угловой двухлинзовый на Ру <= 1,6 МПа (16 кгс/см2). Конструкция и размерыДата актуализации: 01.01.2021 ОСТ 34-10-574-93
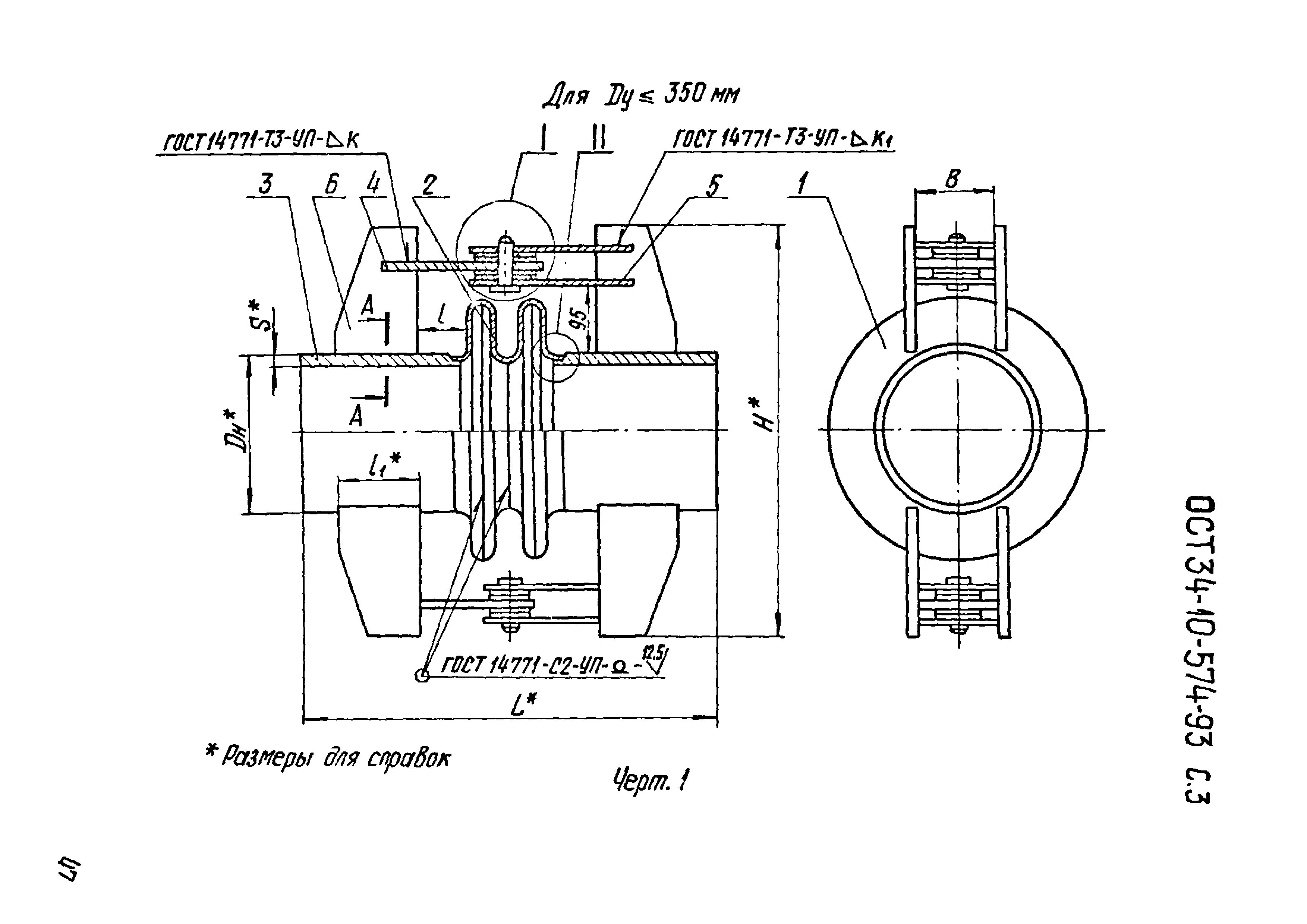
Компенсатор угловой двухлинзовый на Ру <= 1,6 МПа (16 кгс/см2). Конструкция и размеры| Обозначение: | ОСТ 34-10-574-93 | | Обозначение англ: | OST 34-10-574-93 | | Статус: | не определен законодательством | | Название рус.: | Компенсатор угловой двухлинзовый на Ру <= 1,6 МПа (16 кгс/см2). Конструкция и размеры | | Дата добавления в базу: | 01.09.2013 | | Дата актуализации: | 01.01.2021 | | Дата введения: | 01.01.1994 | | Дата окончания срока действия: | 30.06.2003 | | Область применения: | Стандарт распространяется на двухлинзовые угловые компенсаторы Dу от 100 до 2200 мм, предназначенные для компенсации температурных изменений длины трубопроводов в П-образной, Г-образной, Z-образной и других шарнирных схемах компенсации, работающих в условиях неагрессивных и малоагрессивных сред, с условным давлением Ру до 1,6 МПа (16 кгс/см2) и температурой до 300 градусов С и для Dу &amp;amp;lt;= 400 мм температурой до 425 градусов Цельсия. | | Оглавление: | 1. Конструкция и размеры угловых двухлинзовых компенсаторов | | Нормативные ссылки: | |
                          
|