Скачать ОСТ 34-10-569-93 Компенсатор осевой однолинзовый на Ру <= 1,6 МПа (16 кгс/см2). Конструкция и размеры

Дата актуализации: 01.01.2021

ОСТ 34-10-569-93

Компенсатор осевой однолинзовый на Ру <= 1,6 МПа (16 кгс/см2). Конструкция и размеры

Обозначение: ОСТ 34-10-569-93
Обозначение англ: OST 34-10-569-93
Статус:не определен законодательством
Название рус.:Компенсатор осевой однолинзовый на Ру <= 1,6 МПа (16 кгс/см2). Конструкция и размеры
Дата добавления в базу:01.09.2013
Дата актуализации:01.01.2021
Дата введения:01.01.1994
Дата окончания срока действия:30.06.2003
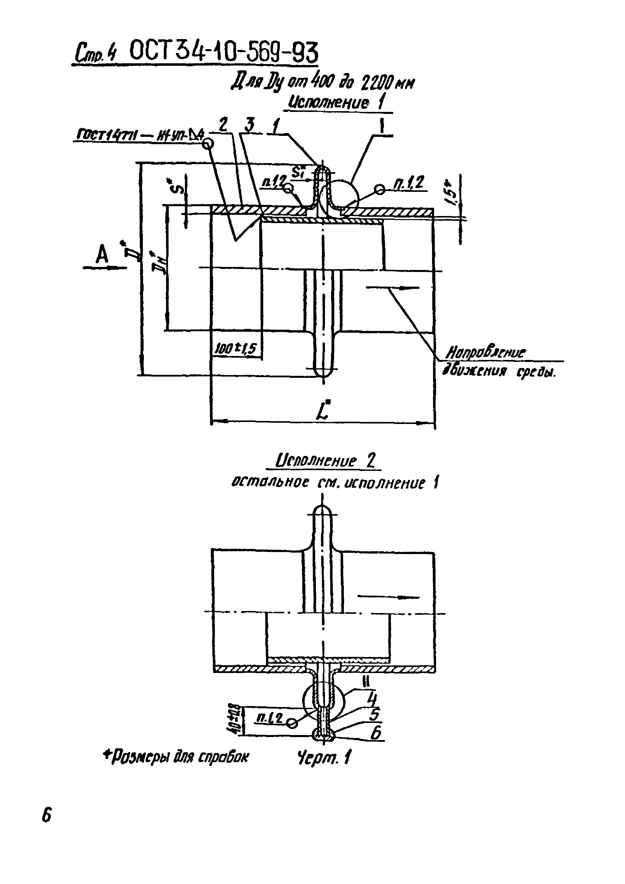
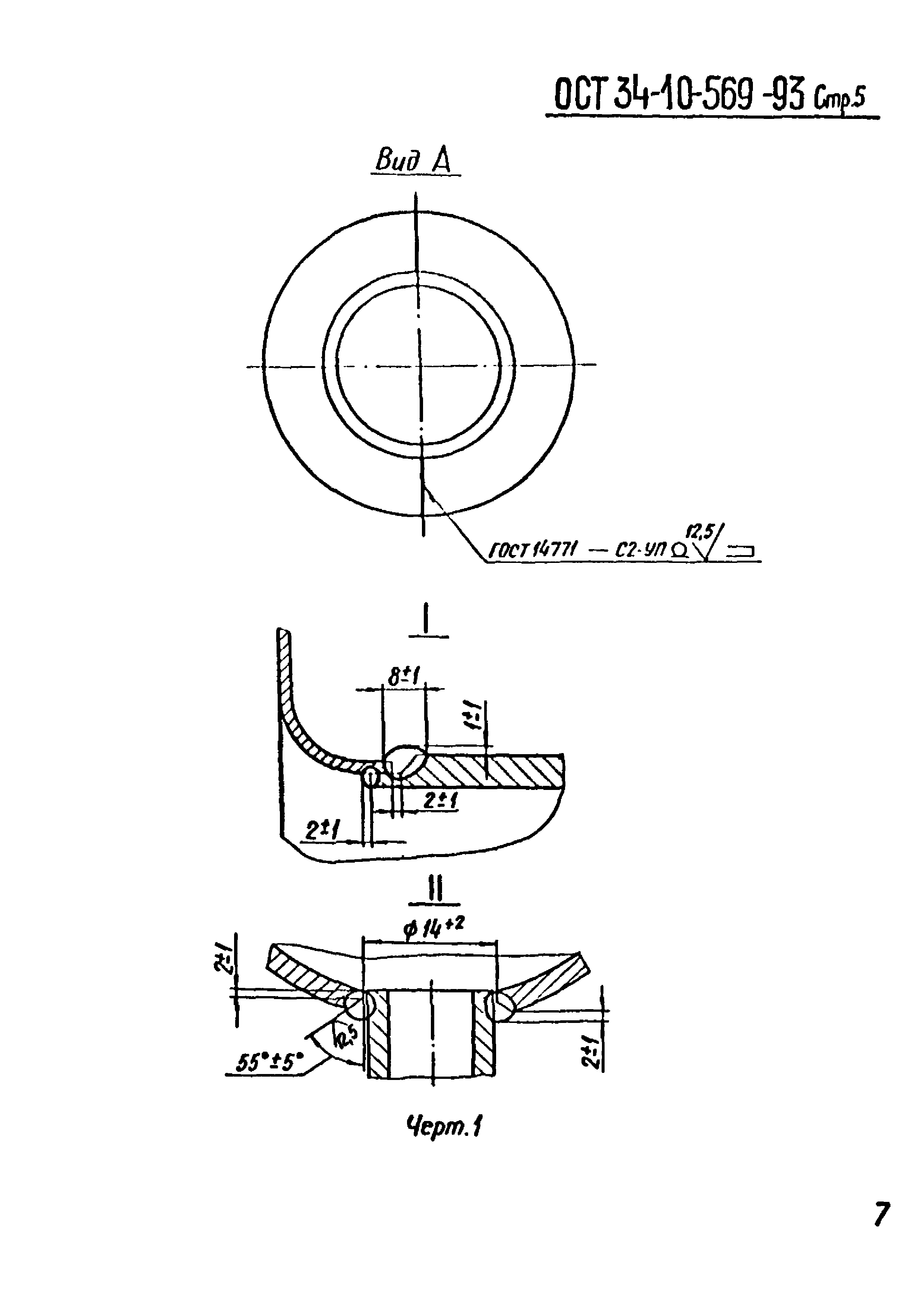
Область применения:Стандарт распространяется на однолинзовые осевые компенсаторы Dу от 100 до 2200 мм, предназначенные для компенсации температурных изменений длины трубопроводов только в осевом направлении, работающих в условиях неагрессивных и малоагрессивных сред, с условным давлением Ру до 1,6 МПа (16 кгс/см2) и температурой до 300 градусов С и для Dу &amp;lt;= 400 мм температурой до 425 градусов Цельсия.
Оглавление:1. Конструкция и размеры однолинзовых осевых компенсаторов
2. Конструкция и размеры полулинз
3. Конструкция и размеры патрубков
4. Конструкция и размеры стаканов
5. Конструкция и размеры дренажной трубки
6. Конструкция и размеры колпачковой гайки
Нормативные ссылки:
ОСТ 34-10-569-93ОСТ 34-10-569-93ОСТ 34-10-569-93ОСТ 34-10-569-93ОСТ 34-10-569-93ОСТ 34-10-569-93ОСТ 34-10-569-93ОСТ 34-10-569-93ОСТ 34-10-569-93ОСТ 34-10-569-93ОСТ 34-10-569-93ОСТ 34-10-569-93ОСТ 34-10-569-93ОСТ 34-10-569-93ОСТ 34-10-569-93ОСТ 34-10-569-93ОСТ 34-10-569-93ОСТ 34-10-569-93ОСТ 34-10-569-93ОСТ 34-10-569-93ОСТ 34-10-569-93ОСТ 34-10-569-93ОСТ 34-10-569-93ОСТ 34-10-569-93ОСТ 34-10-569-93ОСТ 34-10-569-93ОСТ 34-10-569-93ОСТ 34-10-569-93ОСТ 34-10-569-93ОСТ 34-10-569-93ОСТ 34-10-569-93ОСТ 34-10-569-93ОСТ 34-10-569-93ОСТ 34-10-569-93