Скачать Р 50-54-43-88 Расчеты и испытания на прочность. Метод интегральных уравнений и программы расчета на ЭВМ плоских и пространственных элементов конструкцийДата актуализации: 01.01.2021
|
| Обозначение: | Р 50-54-43-88 |
| Обозначение англ: | R 50-54-43-88 |
| Статус: | действует |
| Название рус.: | Расчеты и испытания на прочность. Метод интегральных уравнений и программы расчета на ЭВМ плоских и пространственных элементов конструкций |
| Дата добавления в базу: | 01.09.2013 |
| Дата актуализации: | 01.01.2021 |
| Дата введения: | 03.09.1987 |
| Область применения: | Рекомендации распространяются на расчет трехмерных и плоских составных объектов, подверженных статическим нагрузкам при смешенных граничных условиях и различных вариантах сопряжения однородных элементов. |
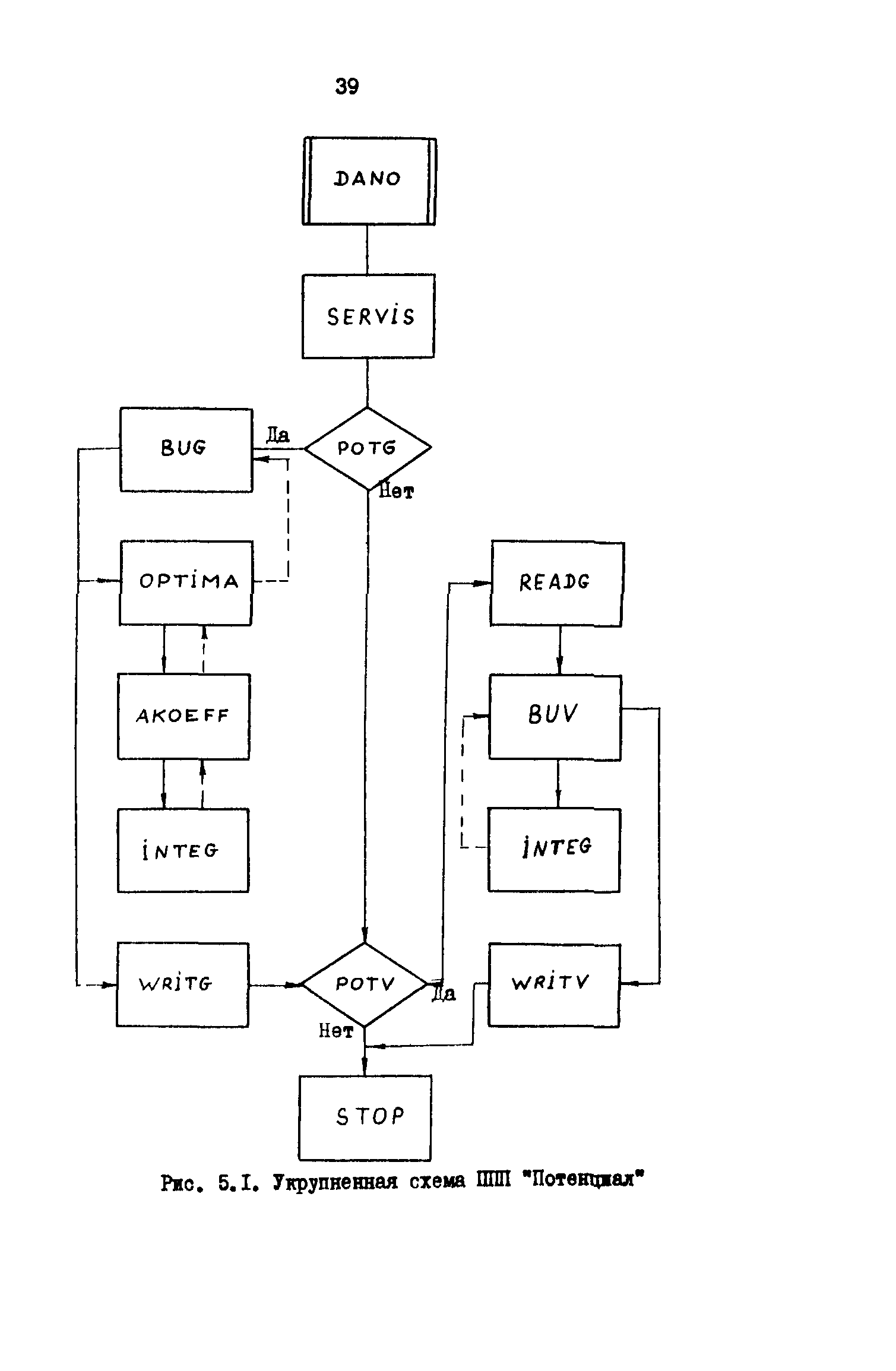
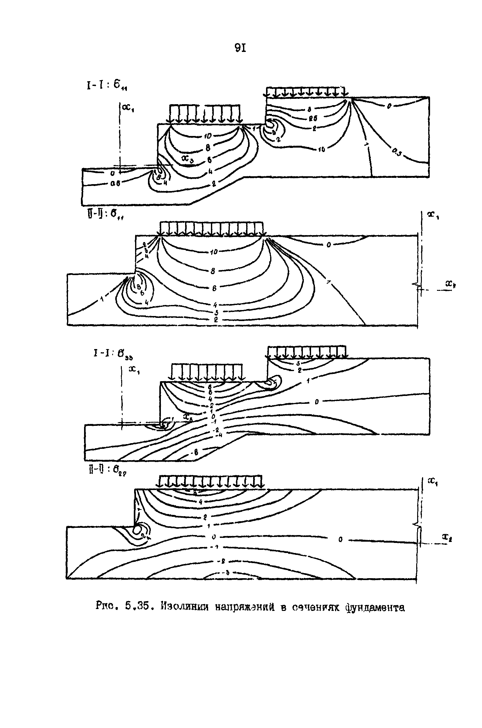
| Оглавление: | 1. Принятые обозначения и сокращения 2. Постановка задачи 2.1. Пространственные задачи теории упругости 2.2. Плоские задачи теории упругости 3. Метод решения задачи 3.1. Теорема о взаимности работ. Интегральные представления Сомилиана 3.2. Универсальные вспомогательные состояния 3.3. Дискретизация интегральных представлений 3.4. Аналитическое определение усилий и перемещений вспомогательного состояния на неискривленных базисных фрагментах поверхности 4. Алгоритмы решения, перечень исходных данных и получаемых результатов 4.1. Решение граничной задачи 4.2. Определение напряженно-деформированного состояния во внутренних точках области 4.3. Исходные данные и вывод получаемых результатов 5. Пакеты прикладных программ "Потенциал" и их использование 5.1. Пояснительная записка 5.2. Программная документация и контрольные примеры 5.3. Примеры расчета 6. Приложение 6.1. Аналитическое определение компонентов интегральных представлений трехмерных задач 6.2. Аналитическое определение компонентов интегральных представлений двумерных задач Литература |
| Разработан: | ВНИИНМАШ Киевский ордена Трудового Красного Знамени инженерно-строительный институт |
| Утверждён: | 03.09.1987 ВНИИНМАШ (VNIINMASH 274) |









































































































